К выполнению курсового проекта
по дисциплине «Реакторы и парогенераторы АЭС», «Котельные установки и парогенераторы»
Волгодонск 2007 г.
Учебное пособие предназначено для студентов Дневного и вечернего обучения специальности 14050265 «Котло - и реакторостроение», может быть использовано студентами специальности «Тепловые и электрические станции». В предлагаемом пособии освещены задачи курсового проектирования, принципы создания новых конструкций, наиболее типичные конструкции отечественных и зарубежных парогенераторов эксплуатируемых и проектируемых АЭС. В учебном пособии приведены материалы, которые необходимы для выполнения теплового, конструкторского, гидродинамического расчетов и расчета водного режима парогенераторов АЭС.
Беседин А.М.
Учебное пособие к курсовому проекту
по курсу «Реакторы и парогенераторы», «Котельные установки и парогенераторы»
(Кафедра Теплоэнергетических технологий и оборудования Волгодонского института (филиала) Южно - Российского Государственного Технического Университета (Новочеркасского Политехнического института))
|
|
|
ЗАДАНИЕ
на курсовой проект (работу) по дисциплинам «Реакторы и парогенераторы», «Котельные установки и парогенераторы»
Тема: ВАРИАНТНЫЙ КОНСТРУКТОСКИЙ И ТЕПЛОГИДРАВЛИЧЕСКИЙ РАСЧЕТ ПАРОГЕНЕРАТОРА
| № вар | Тип парогенератора | Конструкция форма трубного пучка | Температура питательной воды | Параметры пара | Теплоноситель (ТН) | Параметры ТН | Тип реактора | Электр. мощность реактора, МВт | ||
| Корпусной горизонтальный насыщенного пара | U-обр. трубки | 6,4 | Вода | 320/290 | ВВЭР | η=30% | ||||
| Корпусной горизонтальный насыщенного пара | U-обр. трубки | 6,4 | Вода | 320/290 | ВВЭР | η=30% | ||||
| Корпусной горизонтальный насыщенного пара | U-обр. трубки | 6,4 | Вода | 320/290 | ВВЭР | η=31,5% | ||||
| Корпусной вертикальный с естеств. многокр. циркуляцией, с подводом питательной воды сверху перегретого пара | Спир.-витые змеевики | 6,4 | Вода | 320/290 | ВВЭР | η=32% | ||||
| Корпусной вертикальный с естеств. многокр. циркуляцией, с подводом питательной воды сверху насыщенного пара | Спир.-витые змеевики | 8,0 | Вода | 320/290 | ВВЭР | η=32% | ||||
| Корпусной вертикальный с естеств. многокр. циркуляцией, с подводом питательной воды снизу насыщенного пара | Спир.-витые змеевики | 7,4 | Вода | 320/290 | ВВЭР | η=31,5% | ||||
| Корпусной вертикальный с естеств. многокр. циркуляцией, с подводом питательной воды снизу перегретого пара | Спир.-витые змеевики | 6,4 | Вода | 320/290 | ВВЭР | η=30% | ||||
| Корпусной вертикальный с естеств. многокр. циркуляцией, с подводом питательной воды сверху насыщенного пара | Эвольв. ширмы L-обр. | 8,0 | Вода | 320/290 | ВВЭР | η=32,3% | ||||
| Корпусной вертикальный с естеств. многокр. циркуляцией, с подводом питательной воды сверху перегретого пара | Эвольв. ширмы L-обр. | 7,4 | Вода | 320/290 | ВВЭР | η=33% | ||||
| Корпусной вертикальный с естеств. многокр. циркуляцией, с подводом питательной воды снизу насыщенного пара | Эвольв. ширмы L-обр. | 8,0 | Вода | 320/290 | ВВЭР | η=32% | ||||
| Корпусной вертикальный с естеств. многокр. циркуляцией, с подводом питательной воды снизу перегретого пара | Эвольв. ширмы L-обр. | 6,4 | Вода | 320/290 | ВВЭР | η=32% | ||||
| Корпусной прямоточный без ЖМУ перегретого пара | Прямые трубки | 7,4 | Вода | 325/290 | ВВЭР | η=33% | ||||
| Корпусной прямоточный без ЖМУ перегретого пара | Прямые трубки | 8,0 | Вода | 325/290 | ВВЭР | η=33,5% | ||||
| Секционно-модульный перегретого пара с промперегревом | Прямые трубки | 14,2 | Натрий | 0,9 | 520/320 | БН | η=41% | |||
| Секционно-модульный перегретого пара с промперегревом | Прямые трубки | 14,0 | Натрий | 0,8 | 505/310 | БН | η=38% | |||
| Корпусной перегретого пара с промперегревом | Спир.-витые змеевики | 17,7 | Натрий | 1,2 | 524/345 | БН Суперфеникс | η=41,3% | |||
| Секционно-модульный перегретого пара с промперегревом | Прямые трубки | 14,0 | Свинец | 1,5 | 520/320 | БРС | η=41% | |||
| Корпусной перегретого пара с промперегревом | Спир.-витые змеевики | 15,0 | Свинец | 1,5 | 525/320 | БРС | η=41,3% | |||
| Корпусной насыщенного пара, с естественной многократной циркуляцией, с горизонтальной трубной решеткой (доской) | U-обр. трубки | 7,4 | Вода | 330/290 | ВВЭР | η=31,5% | ||||
| Корпусной насыщенного пара, с естественной многократной циркуляцией, с горизонтальной трубной решеткой (доской) | U-обр. трубки | 6,4 | Вода | 330/290 | ВВЭР | η=32% | ||||
| Секционно-модульный перегретого пара с промперегревом, с циркуляцией натрия во внутриутробном пространстве | Прямые трубки | Натрий | 1,5 | 525/345 | БН | η=41,3% | ||||
| Секционный перегретого пара газообогреваемый | Спир.-витые змеевики | 8,5 | СО2 | 2,75 | 414/247 | Магноксовый | η=32% | |||
| Секционный перегретого пара газообогреваемый с промперегревом | Спир.-витые змеевики | СО2 | 3,36 | 670/300 | AGR | η=41,6% | ||||
| Корпусной перегретого пара газообогреваемый | Спир.-витые змеевики | 10,2 | Гелий | 3,2 | 720/350 | ВТГР | η=34,6% | |||
| Секционный перегретого пара газообогреваемый с промперегревом | Спир.-витые змеевики | 17,6 | Гелий | 4,8 | /so | ВТГР | η=39,2% | |||
| Секционный перегретого пара газообогреваемый с промперегревом | Спир.-витые змеевики | 24,5 | Гелий | 630/280 | БГР | η=43% | ||||
| Корпусной перегретого пара с обратными элементами | - | 16,9 | Натрий | 0,8 | 550/371 | БН | η=42% | |||
| Корпусной перегретого пара с обратными элементами | - | 14,0 | Натрий | 0,9 | 520/371 | БН | η=43% | |||
| Корпусной перегретого пара с обратными элементами | - | 17,5 | Натрий | 0,7 | 545/360 | БН | η=42% |
Содержание проекта (работы): Введение. 1. Тепловая схема ПГ. 2. t-Q диаграмма ПГ. 3. Предварительный конструкторский расчет и обоснование конструкционных материалов. 4.Тепловой расчет. 5.Конструкторский расчет. 6. Расчет на прочность. 7. Расчет металлоемкости. 8.Гидравлический расчет. 9.Гидродинамический расчет. 10.Расчет вибрации трубчатки. 11. Технико- экономическое обоснование (расчет приведенных затрат) оптимачной конструкции аппарата. Заключение. Литература. Графическая часть: один лист формата А1 (общий вид парогенератора), один лист формат А3 или А4 (деталировка). Пояснительная записка и чертежи выполняются в соответствии с требованиями ГОСТ ЕСКД и СТП ЮРГТУ.
|
|
|
ЗАДАЧИ КУРСОВОГО ПРОЕКТА
Курсовой проект по парогенераторам АЭС выполняется после изучения теоретического курса, имеет целью выполнение следующих основных задач: закрепление и углубление знаний, полученных студентами при изучении курса «Парогенераторы АЭС»;расширение круга знаний студентов, путем изучения специальной литературы: проектов промышленных парогенераторов; правил устройства и безопасной эксплуатации; ГОСТов, справочников; статей в отечественной и иностранной технической периодической литературе и др.; развитие творческой инициативы студентов при самостоятельном решении поставленных перед ними задач, поиске оригинальных конструкций; развитие у студентов навыков систематического, технически и литературно грамотного изложения в пояснительной записке, обоснования принятых решений, методов расчета и т. п.
|
|
|
Выполняя проект, студенты практически закрепляют методику теплового, конструкторского, гидродинамического и прочностного расчетов парогенератора, расчетов сепарации и водного режима. Важнейшей частью проектирования являются технико-экономические вариантные расчеты, определяющие выбор скорости теплоносителя, диаметра труб теплопередающей поверхности, компоновку всего парогенератора.
2. ОБЩИЕ СВЕДЕНИЯ О МЕТОДИКЕ ВЫПОЛНЕНИЯ КУРСОВОГО ПРОЕКТА
Различаются два типа расчета парогенератора: конструкторский и поверочный. Конструкторский расчет проводится при создании новой конструкции. При поверочном расчете производится расчет, позволяющий оценить возможности работы парогенератора какой-либо конкретной конструкции при иных условиях (например, при других параметрах, паро- производительности). Студенты специальности 0310 выполняют конструкторский расчет. Конструкторский расчет включает несколько взаимосвязанных видов расчета:
• тепловой (лежит в основе других видов расчета);
• конструкторский;
• гидродинамический;
• водного режима;
• на прочность;
вариантные технико-экономические расчеты по определению оптимальных значений скоростей теплоносителя (а в отдельных случаях диаметра труб и других параметров с целью обоснования выбора их для основного варианта проектируемого парогенератора).
При выполнении курсового проекта заданными являются:
|
|
|
• вид теплоносителя;
• параметры теплоносителя;
• паропроизводительность парогенератора:
• параметры рабочего тела.
Конечной целью конструкторского расчета является создание конструкции парогенератора, позволяющей вырабатывать необходимое количество пара, обеспечивающей заданные параметры и чистоту пара при любых режимах работы АЭС.
2.1. Требования, предъявляемые к конструкциям парогенераторов
Схема парогенератора и его конструкция должны удовлетворять следующим требованиям:
l. Все элементы парогенератора должны обладать безусловной надежностью и абсолютной безопасностью в эксплуатации, что в значительной степени определяет надежность работы АЭС. Для выполнения этого требования соединения элементов и деталей парогенератора должны обеспечить герметичность конструкции, исключить возможность проникновения теплоносителя в рабочее тело и наоборот. Возможный характер перетока определяется соотношением давлений теплоносителя и рабочего тела. Проникновение рабочего тела в теплоноситель может вызвать аварийную ситуацию в первом контуре (при жидкометаллическом теплоносителе). Протечка теплоносителя из первого контура во второй (теплоноситель— вода под давлением) может существенно повысить активность рабочего тела, перенос активности по всему второму контуру. Это неприемлемо потому, что биологическую защиту имеет только один элемент второго контура — парогенератор.
2. Выбор конструкционных материалов и водного режима должен обеспечивать пониженные коррозионные процессы.
3. Конструкция парогенератора должна быть проста, компактна, технологична, удобна для монтажа, эксплуатации, ремонта.
4. Парогенератор должен иметь приемлемые технико-экономические показатели.
5. Габариты парогенератора должны позволить провезти его элементы на монтажную площадку.
2.2. Принципы выбора конструктивной схемы
Началу расчета предшествует выбор конструктивной схемы парогенератора. Правильный технически обоснованный выбор конструктивной схемы парогенератора может быть сделан только при комплексном подходе к решению ряда вопросов.
При выборе конструктивной схемы требуется:
1.Установить, из каких элементов будет состоять проектируемый парогенератор.
2.Решить, какая среда будет протекать внутри труб, какая омывать поверхность со стороны межтрубного пространства.
3.Определить последовательность расположения элементов парогенератора по ходу теплоносителя и характер взаимного направления течения сред в каждом элементе.
4.Определить характер омывания испарительной поверхности нагрева рабочим телом.
5. Наметить конфигурацию поверхности нагрева, корпуса, характера раздачи среды по трубам.
При разработке конструктивной схемы в основе лежат соображения как общего характера (справедливые для всех типов парогенераторов), так и те, которые вызываются спецификой конкретного теплоносителя.
2.2.1. Выбор количества элементов
Вопрос о количестве элементов, входящих в парогенератор, частично зависит от заданных условий однозначно. Так, вопрос о необходимости пароперегревателя и промежуточного пароперегревателя полностью зависит от задания. Однако вопрос о том, размещается ли пароперегреватель (при его наличии) в одном с испарителем корпусе или выносится в отдельный, решается исполнителем. Если при выполнении курсового проекта в отношении пароперегревателя студенту требуется решить только вопрос о целесообразности размещения пароперегревателя в отдельном корпусе, то в отношении водяного экономайзера надо решить вопросы:
а)будет ли парогенератор иметь самостоятельную экономайзерную поверхность или она будет совмещаться с испарительной;
б) при наличии отдельной экономайзерной поверхности — будет ли она размещаться в одном корпусе с другими поверхностями или в отдельном, только для нес предназначенном.
Эти вопросы решаются совместно с вопросом о том, какая среда течет в межтрубном пространстве, а какая внутри труб. Совмещение экономайзерной и испарительной поверхностей нагрева используется главным образом в парогенераторах погружного типа. Теплоноситель в парогенераторах подобного типа течет по трубам, а рабочее тело омывает теплопередающую поверхность со стороны межтрубного пространства. Корпус, в котором размещается теплопередающая поверхность, используется также в качестве барабана-сепаратора, предназначенного для осушки пара. В барабане-сепараторе имеются водяной и паровой объемы, границей раздела служит зеркало испарения. Вся поверхность нагрева размещается ниже уровня воды в барабане. Теплоотдача от стенки к рабочему телу с достаточной степенью точности может рассматриваться, как при кипении в большом объеме. Типичным примером конструктивной схемы парогенераторов погружного типа с совмещенными экономайзерными и испарительными поверхностями нагрева могут служить парогенераторы Ново-Воронежской, АЭС горизонтального типа с U -образными змеевиками (теплоноситель — вода под давлением).
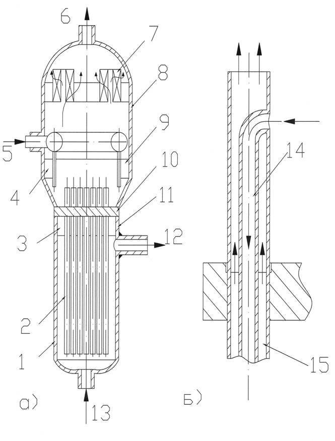
Однако необходимо отметить, что совмещение поверхностей может иметь место и в парогенераторах с жидкометаллическим теплоносителем, поверхность нагрева которых набрана из обратных элементов (трубок Фильда). К числу1 таких парогенераторов относится вертикальный парогенератор типа БН-350 (рисунок. 1). В парогенераторе подобного типа в межтрубном пространстве ниже трубной доски 10 протекает жидкий натрий, по трубам проходит рабочее тело (по внутренним трубкам 14 обратных элементов осуществляется опускное движение, по кольцевому зазору между внешней трубкой 15м внутренней трубкой 14-подъемное). Парс водяная смесь подается в водяное пространство 4, расположенное над трубной доской 10. Его работа в некотором отношении напоминает работу парогенератора с погружной поверхностью нагрева. Движение рабочего тела происходит за счет естественной циркуляции, обеспечиваемой разность масс столбов жидкости при разности плотностей р? (во внутренней трубке) и р” (в кольцевом канале). В качестве сепарационного объема используется часть корпуса, расположенная над трубной доской.

Рис.1 Испаритель парогенератора БН-350: а – общий вид; б – узел ввода парогенераторной воды и выхода пароводяной смеси; 1 – корпус испарителя; 2 – обратные элементы; 3 – газовая подушка; 4 – водяной объем сепаратора; 5 – подвод питательной воды; 6 – отвод пара; 7 – жалюзийный сепаратор; 8 – сепарационный барабан; 9 – уровень зеркала испарения; 10 – трубная доска; 11 – уровень натрия; 12 и 13 – отвод и подвод натрия; 14 – опускная трубка обратного элемента; 15 – собственно теплопередающая поверхность элемента (внешняя трубка)
Основной принципиальной особенностью парогенератора с совмещенными экономайзерной и испарительной поверхностями нагрева является принцип подогрева питательной воды. Подогрев питательной воды, поступающей в парогенератор из регенеративных подогревателей высокого давления ПВД, до температуры насыщения t, происходит за счет конденсации части пара, генерируемого в количестве Dr., превышающем паропроизводительность парогенератора Dhom.
Конденсируясь, пар в количестве DT—Dhom отдает тепло QЭК для подогрева воды от температуры питательной воды на выходе из системы регенеративного подогрева до температуры насыщения при давлении в барабане QЭК = (Dr - DHOM) х r МВт, где r — скрытая теплота парообразования. При этом температура воды практически во всем водяном пространстве равняется tg.
Совмещение экономайзерных и испарительных поверхностей нагрева имеет положительные и отрицательные стороны.
К положительным относится тот факт, что вся поверхность нагрева работает в качестве парогенерирующей. Теплоотвод от парогенерирующей поверхности происходит более интенсивно, чем отвод тепла за счет конвекции от поверхности к однофазной недогретой среде (как это имеет место в экономайзерных поверхностях). Говоря другими словами, при совмещении поверхностей среднее значение коэффициента теплоотдачи от поверхности к рабочему телу α2, а следовательно, и среднее значение коэффициента теплопередачи k имеет более высокое значение. Повышение значения k вызывает уменьшение необходимой поверхности, м2, теплообмена

где Q — количество передаваемого тепла, Вт; Δt —среднее значение температурного напора, °С: k — коэффициент теплопередачи, Вт/(м2-К). Кроме того, совмещение экономайзерной и испарительной поверхностей нагрева позволяет сократить расход металла на корпус. Однако надо иметь в виду, что сокращение расхода металла на корпус можно также быть достигнуто при размещении в одном корпусе экономайзерных и испарительных поверхностей без их совмещения по существу.
К отрицательным сторонам совмещенного варианта относится уменьшение среднего значения температурного напор при сохранении давления генерируемого пара. Поддержание того же значения температурного напора можно обеспечить за счет снижения давления рабочего пара. При понижении давления пара на входе в турбину снижается экономичность выработки электроэнергии. Величина температурного напора связана с размерами поверхности нагрева. Чем меньше температурный напор, тем большая поверхность необходима для передачи необходимого количества тепла.
Вопрос о целесообразности совмещения решается на основании технико-экономического расчета. При выполнении курсового проекта столь глубокая проработка от студентов не требуется, может быть выбран вариант на основании опыта эксплуатации парогенераторов подобного типа.
Однако следует помнить, что парогенераторы погружного типа — наиболее характерная конструкция совмещенного варианта — главным образом применяются для теплоносителя — вода под давлением. В таких парогенераторах поверхность нагрева выполняется из нержавеющей стали аустенитного класса (из-за необходимости чистоты воды первого контура). Технология изготовления труб из аустенитной нержавеющей стали в настоящее время не позволяет иметь длину труб без сварных соединений выше 12—14 м. При этом условии возможность увеличения паропроизводительности (величины поверхности нагрева) в значительной степени связана с необходимостью увеличения диаметра корпуса парогенератора. Диаметр корпуса нельзя увеличивать безгранично, предельным значением является диаметр 3,5—4,2 м.
2.2.2. Выбор среды, протекающей по трубам
В общем случае целесообразно по трубам направлять ту среду, которая имеет большее давление, а в межтрубное пространство — среду с меньшим давлением. Это соображение вызывается стремлением снизить расход металла. Толщина стенки - цилиндра (трубы или корпуса), мм, зависит от диаметра и давления.

где Р —расчетное давление, Н/м2;
— допускаемое механическое напряжение, Н/м2; d в — внутренний диаметр, мм;
— расчетный коэффициент прочности; С —прибавка к расчетной толщине, мм.
Однако в отдельных случаях имеют место отступления от этого общего правила. Например, в парогенераторах с жидкометаллическим теплоносителем иногда по соображениям надежности работы конструкции жидкий металл направляют по трубам. Но такое отклонение от общего правила допустимо только при средних давлениях рабочего тела и неприемлемо при высоких и сверхвысоких.
2.2.3. Определение последовательности расположения элементов парогенератора по ходу теплоносителя и характера взаимного направления течения сред в элементе
Предпочтительным является противоточный принцип включения элементов в схему (рис. 2). Это значит, что теплоноситель, имеющий на входе температуру t1’ вначале проходит через пароперегреватель (элемент, имеющий по рабочему телу наиболее высокую температуру), охлаждается в нем, направляется в испаритель (рабочее тело в нем имеет промежуточное значение) и после этого поступает в водяной экономайзер. В случае если имеются промежуточные пароперегреватели, их место устанавливается в зависимости от температур пара.
1 3

Рис.2 Принципиальная схема включения элементов парогенератора по принципу противотока по отношению к теплоносителю: 1 — экономайзер; 2 — испаритель; 3 — пароперегреватель
В отдельных случаях бывают определенные отклонения, но они не характерны. Например, в первые годы развития атомной энергетики в Англии достаточно широко велось строительство парогенераторов, вырабатывающих пар двух давлений (теплоноситель —углекислый газ низкого давления) (Рисунок. 3). Со стороны теплоносителя поверхности нагрева всех элементов всегда (за исключением того случая, когда теплоносителем является насыщенный пар) омываются однофазной средой.

Рис. 3 Вариант принципиальной схемы включения элементов в парогенераторе двух давлений (ступени нумеруются по ходу движения теплоносителя): 1— водяной экономайзер ступени низкого давления II ступени; 2 — первая секция водяного экономайзера высокого давления I ступени; 3 — испаритель II ступени; 4 — пароперегреватель II ступени; 5 —2-я секция водяного экономайзера I ступени; 6 — испаритель I ступени; 7 — пароперегреватель I ступени
Движение среды однократное, принудительное, происходит за счет работы циркуляционного насоса I контура (вода под давлением, жидкометаллический теплоноситель) или газодувки (газовый теплоноситель). Со стороны рабочего тела отдельно выделенные экономайзерные и пароперегревательные поверхности омываются также средой однофазной (соответственно водой под давлением и паром). Рабочее тело в этих элементах также имеет однократное принудительное движение. Испарительные поверхности нагрева работают при наличии двухфазного потока среды. В элементах, с обеих сторон омываемых однофазной средой предпочтительным является противоточное омывание средами поверхности нагрева. При противотоке среднелогарифмическая разность температур имеет наибольшее значение следовательно, требуются меньшие затраты металла для передачи заданного количества, тепла. Однако в пароперегревателях парогенераторов с высокотемпературным теплоносителем по соображениям надежности, безопасности и технико-экономических показателей работы включение сред, омывающих поверхность нагрева, может производиться либо по принципу смешанного тока, либо прямотока. В случае таких включений участки пароперегревательных труб, омываемые со стороны рабочего тела наиболее высокотемпературным паром, воспринимают тепло от теплоносителя, уже частично охладившегося, температура стенки металла при этом на выходных участках не столь высока, как при противотоке. Это позволяет использовать менее дорогостоящие материалы и повышать надежность работы парогенератора при их использовании. В испарительной поверхности нагрева, со стороны рабочего тела омываемой двухфазной средой (с температурой, равной температуре насыщения), направление взаимного течения сред не имеет принципиального значения; на величину температурного напора влияния не оказывает.
2.2.4. Выбор характера омывания испарительной поверхности нагрева рабочим телом.
Определение характера омывания поверхности нагрева рабочим телом производится только применительно к испарительным поверхностям нагрева. Как отмечалось выше, экономайзерные поверхности (если они выделены как самостоятельные) и пароперегревательные (всегда) имеют однократный принудительный характер омывания рабочим телом вне зависимости от того. Протекает ли рабочее тело по трубам или в межтрубном пространстве. Испарительные поверхности по характеру омывания рабочим телом разделяются на следующие:
1. Поверхности нагрева с естественной циркуляцией.
2. Поверхности с многократной принудительной циркуляцией.
3. Поверхности с безнапорным движением рабочего тела при кипении в большом объеме.
4. Прямоточные испарительные поверхности нагрева.
При выборе характера омывания рабочим телом поверхности нагрева в основе лежат следующие основные соображения. При многократном движении рабочей жидкости вдоль поверхности нагрева (как при естественной циркуляции, так при многократном принудительном движении и безнапорном движении пароводяной смеси в парогенераторах с поверхностью нагрева погружного типа) при нормально организованном режиме эксплуатации парогенератора (что определяется культурой эксплуатации) надежной конструкции величина массового расходного паросодержания не бывает, как правило, больше 20% (кратность циркуляции КЦ =
= 5 )
При таких паросодержаниях не наступает ухудшенный теплообмен, поверхность нагрева по всей длине испарительных труб работает с интенсивной теплоотдачей, характерной для случаев отдачи тепла от стенки к кипящей жидкости при наличии жидкой пленки у теплопередающей стенки. Такие режимы течения характерны для парогенераторов АЭС с многократной циркуляцией. При массовых расходных паросодержаниях порядка 20% и соблюдении нормируемого качества питательной и парогенераторной воды интенсивный характер отложений не имеет места, так как содержание примесей в парогенераторной воде может поддерживаться на заданном уровне ниже предела растворимости. Поддержание на заданном уровне примесей производится за счет организованного вывода части парогенераторной воды в виде непрерывной продувки с целью ее очистки на ионообменных фильтрах. В парогенераторах с многократной циркуляцией возможны коррекционные методы ведения водного режима, позволяющие поддерживать физико-химические характеристики воды, сводящие к минимуму процессы образования отложений и коррозии. Несмотря на то что содержание примесей, уносимых с паром, в парогенераторах подобного типа имеет два вида выноса примесей (в виде истинно растворенных в парорастворе веществ и за счет механического уноса), имеются действенные пути борьбы с загрязнениями пара (повышение качества парогенераторной воды за счет продувки, промывка пара). Отмеченные преимущества парогенераторов с многократной циркуляцией рабочего тела вдоль поверхности нагрева характерны как для парогенераторов с естественной циркуляцией, с многократной принудительной, так и для парогенераторов погружного типа.
Однако каждый из отмеченных видов организации движения рабочего тела в испарителе имеет свои специфические особенности, положительные и отрицательные. Парогенераторы этих видов в качестве обязательного элемента должны иметь разделительное сепарационное устройство, которым в подавляющем большинстве является отдельно вынесенный разделительный барабан-сепаратор. В парогенераторах погружного типа барабан-сепаратор совмещен с корпусом парогенератора, в котором размещены поверхности нагрева. В парогенераторах с естественной циркуляцией не требуется затрат электроэнергии для перекачивания рабочего тела вдоль испарительной поверхности. Эта, несомненно, положительная сторона организации движения рабочего тела в испарительной поверхности нагрева имеет место также в парогенераторах погружного типа.
К отрицательным сторонам парогенераторов с естественной циркуляцией относятся необходимость развития поверхности в высоту с целью увеличения движущего напора РДВ. и жесткие требования к снижению гидравлических сопротивлений при движении рабочей жидкости (в подъемных трубах) для увеличения полезного напора РПОД ( РПОД =РДВ. – ΔРПОД). Иными словами, к парогенераторам с естественной циркуляцией предъявляются жесткие требования с точки зрения компоновки поверхностей нагрева. Эти требования повышаются с ростом давления генерируемого одра, так как три этом плотности воды и пара, следовательно и пароводяной смеси, сближаются, что сказывается на величине движущего напора РДВ=hg(p'-p ом), где h — высота поверхности нагрева, м; g — ускорение силы тяжести, м/с2, р' — плотность воды на линии насыщения, кг/м3, ром — средняя для подъемной системы плотность пароводяной смеси, кг/м3.
При достижении определенных давлений даже при большом развитии поверхностей в высоту оказывается невозможным получить значения полезного напора, способного преодолеть сопротивление движению рабочего тела в опускных трубах. Применять естественную циркуляцию для движения рабочего тела в испарителе можно при давлениях не выше 13 МПа. К характерным особенностям парогенераторов с многократной принудительной циркуляцией следует отнести менее жесткие требования к компоновке испарительных поверхностей парогенераторов, так как движение рабочего тела происходит за счет работы насоса, которая связана с потреблением электрической энергии (последнее обстоятельство является отрицательной стороной). Однако определенные требования к компоновке поверхностей нагрева, развитию поверхностей нагрева в высоту и в этих парогенераторах имеют место. Они связаны с необходимостью обеспечить надежную работу насоса, которая обеспечивается наличием нивелирного подпора на всасе насоса и разностью плотностей воды и пара (что также вызывает ограничения по верхнему значению допустимого давления). Парогенераторы погружного типа ограничены по давлению по двум основным причинам: в парогенераторах горизонтального типа ввиду совмещения в одном корпусе испарительных поверхностей нагрева и сепарационных устройств получаются большие диаметры корпуса; при больших диаметрах в случае высоких давлений получаются большие толщины стенок.
В том случае, если испарительные поверхности нагрева выполняются прямоточными (одна- кратное принудительное движение приK ц= 1 ), движение пароводяной смеси происходит принудительно за счет работы насоса, связано с затратой электроэнергии на перекачку. Парогенераторы с испарителями прямоточного типа не имеют ограничений по давлению, они могут быть использованы при любых давлениях, в том числе и сверхкритических. Они имеют относительную свободу в отношении компоновки, однако эта свобода компоновки не безгранична. Одним из ее ограничений является необходимость обеспечить отсутствие межвитковой пульсации.
Несмотря на то, что в парогенераторах прямоточного типа загрязнение пара примесями происходит только за счет истинной растворимости веществ в паре (нет механического уноса при нормальном режиме работы), какие-либо пути борьбы за чистоту пара, кроме повышения качества питательной воды, отсутствуют. По мере движения рабочего тела вдоль испарительной поверхности нагрева в процессе генерации пара происходит непрерывное перераспределение примесей между водой и паром. Концентрация примесей воды в процессе упаривания непрерывно возрастает, однако растет и содержание примесей в паре, который постоянно контактирует с водой, содержащей большие количества примесей. При достижении определенных значений массовых расходных паросодержаний хI парогенераторная вода начинает становиться пересыщенной в различные периоды по отношению к одной, затем другой и, наконец, ко всем примесям. Все примеси из числа внесенных с питательной водой, которые не выносятся в виде истинно растворенных с паром, выпадают в отложения в зоне до упаривания. В этой зоне имеет место ухудшенный теплообмен стенки с рабочим телом из-за подсыхания пленки жидкости у стенки, вызывающий рост температуры стенки. Снижение интенсивности отдачи тепла происходит также из-за увеличенного термического сопротивления многослойной пленки в результате повышенного термического сопротивления отложений.
Прямоточные поверхности испарителя требуют повышенного внимания к выбору конструкционных материалов, с одной стороны, по той причине, что в области до упаривания при высокотемпературных теплоносителях могут быть достигнуты температуры стенкиt сп, превышающие допустимую температуру стенки для данного материала tдоп, с другой — по той причине, что в процессе до упаривания концентрации примесей достигают высоких значений. Особенно это опасно в случае применения нержавеющих сталей аустенитного класса, которые имеют особый вид коррозионного разрушения — коррозионное растрескивание элементов, работающих под напряжением при повышенном содержании хлор-иона, особенно в присутствии кислорода.






