До 1967 г. на АЭС с газовым теплоносителем устанавливались парогенераторы либо башенного типа (АЭС «Колдер-Холл» и другие в Англии), либо секционные АЭС с газовым теплоносителем (в ЧССР, Франции). Начиная с 1967 г. в Англии и других странах на АЭС с газовым теплоносителем применяется интегральная компоновка оборудования 1 контура в корпусе из предварительно напряженного железобетона. Секций парогенераторов располагаются либо в кольцевом пространстве между кожухом активной зоны реактора и железобетонным корпусом, либо в цилиндрических ячейках в стенке корпуса, либо под активной зоной реактора. Несколько секций, объединенных по питательной воде общим регулирующим органом, составляют один парогенератор. Так как в железобетонном корпусе трудно разместить сепарационные устройства, то парогенераторы выполняются прямоточными. Размеры секций рассчитываются на полный монтаж и испытание в заводских условиях.
3.2.1. Секционный парогенератор АЭС «А-1» (ЧССР)
Теплоноситель — углекислый газ. Парогенератор секционный, с многократной принудительной циркуляцией производит пар двух давлений.
|
|
|
Секция парогенератора выполнена подтипу «пучок труб в трубе». Вода движется внутри труб, газ — в межтрубном пространстве. Парогенератор состоит из трех частей. Каждая часть, содержащая две параллельно включенные ветви из тринадцати U-образных.секций, заключена в воздухонепроницаемый металлический кожух с тепловой изоляцией. Парогенератор имеет два сепарационных барабана для ступеней низкого и высокого давлений. Конструктивная схема парогенератора приведена в [1], характеристики парогенератора — в табл. 10.
Таблица 10
| Характеристики парогенератора | АЭС «А-1» |
| Тепловая мощность, МВт | 83,5 |
| Число парогенераторов на реактор | |
| Давление теплоносителя, МПа | 5,6 |
| Температура теплоносителя, °С: на входе на выходе | |
| Расход теплоносителя, кг/с | |
| Давление пара, МПа: ступени высокого давлений ступени низкого давления | 3,16 0,196 |
| Температура перегретого пара, °С ступени низкого давления ступени высокого давления | |
| Число секций | |
| Число труб в секции | |
| Диаметр и толщина стенки трубок, мм | 22x2,5 |
| Наружный диаметр трубы-оболочки секции, мм | |
| Скорость газа в секциях, м/с | 8,4 |
| Перепад давления по газу, МПа | 0,1 |
3.2.2. Парогенераторы АЭС с интегральной компоновкой оборудования I контура Парогенератор АЭС «Сен-Лоран» (Франция). Теплоноситель— углекислый газ. Парогенератор —прямоточный, состоит из 26 секций и 4 полусекций. В каждой секции имеются четыре независимых пакета змеевиков. Секции располагаются в цилиндрическом пространстве под реактором. Схема парогенератора имеется в[3]. Характеристики парогенератора представлены в табл. 11.
|
|
|
Таблица 11
| Характеристики парогенератора | АЭС «Сен-Лоран» |
| Тепловая мощность, МВт | |
| Давление теплоносителя, МПа | 2,45 |
| Температура теплоносителя, °С: на входе на выходе | |
| Расход теплоносителя, кг/с. | |
| Паропроизводительность* кг/с | |
| Температура перегретого пара °С | |
| Давление перегретого пара, МПа | 3,36 |
| Температура питательной воды, °С | |
| Теплопередающая поверхность, м2 | |
| Число трубок | |
| Полная длина трубок, м | 225x103 |
| Гидравлическое сопротивление по тракту теплоносителя, МПа | 0,037 |
| Гидравлическое сопротивление по тракту рабочего тела, МПа | 0,76 |
| Удельная объемная нагрузка теплопередающей поверхности МВт/м3 | 1,53 |
| Вес отдельной секции, т | |
| Размеры полости корпуса, где размещен парогенератор, м: внутренний диаметр высота | 15,5 |
Парогенераторы АЭС «Данджнесс В», «Хинкли Пойнт В», «Хартлпул» (Англия). Теплоноситель — углекислый газ. Парогенераторы (табл. 12) прямоточные, секционные. На первых двух станциях (действующих) секции парогенератора, составленные из плоских змеевиков, располагаются в кольцевой щели между кожухом реактора и железобетонным корпусом.
На АЭС «Хартлпул» парогенераторы располагаются в вертикальных цилиндрических шахтах в стенке корпуса. Теплопередающая поверхность в этом парогенераторе составлена из винтовых змеевиков.
По ходу газа части парогенератора располагаются в следующей последовательности: промежуточный пароперегреватель, основной пароперегреватель, испаритель, экономайзер. В испарительной части пар перегревается на несколько градусов.
Таблица 12
| Основные характеристики парогенераторов | АЭС | ||
| «Данджнесс В» | «Хинкли Пойнт В» | «Хартлпул» | |
| Тепловая мощность блока реактор— парогенераторы, МВт | |||
| Число парогенераторов на реактор | |||
| Число секций в Парогенераторе | |||
| Давление теплоносителя, МПа | 3,32 | 3,92 | 3,84 |
| Температура теплоносителя, °С: на входе. | |||
| на выходе | |||
| Расход теплоносителя на блок реактор— парогенераторы, кг/с | — | ||
| Паропроизводительность блока, кг/с | |||
| Давление перегретого пара, МПа | 17,2 | 16,7 | 17,2 |
| Температура перегретого пара. °С | |||
| Температура питательной воды, °С | — | ||
| Расход пара через промпароперегреватель. кг/с | |||
| Давление пара промперегрева. МПа | 3,83 | 4,07 | 4,07 |
| Температура промперегрева, °С: на входе на выходе | |||
| Теплопередающая поверхность парогенератора, м2 | — | ||
| Число труб теплопередающей поверхности парогенератора | — | ||
| Внутренний диаметр корпуса, м | 18,9 | 18,9 | 13,1 |
| Высота внутренней полости корпуса, м | 19,4 | 19,4 | 18.3 |
| Ширина кольцевой щели, в которой располагаются секции парогенераторов, м | 2,8 | 2,8 | |
| Толщина железобетонного корпуса блока, м | 6,4 | ||
| Диаметр шахты в корпусе для секции парогенератора, м | — | — | 2,74 |
| Толщина верхней крышки блока, м | 5,5 | 5,5 | 5,5 |
| Вес секции парогенератора, т | — | — | |
| Наружный диаметр труб теплопередающей поверхности парогенератора, мм | 30,5 | — | — |
| Высота цилиндрического ребра, мм | 3,8 | — | — |
| Число ребер на 1 м длины трубы | — | — | |
| Наружный диаметр труб промпароперегревателя. мм | — | — | |
| Высота ребер, мм | 2,54 | — | — |
| Число ребер на 1 м длины трубы промпароперегревателя | — | — | |
| Гидравлическое сопротивление по тракту теплоносителя, МПа | 0,031 | — | — |
| Гидравлическое сопротивление по тракту рабочего тела, МПа | 1,55 | — | — |
| Удельная объемная тепловая нагрузка тепло- передающей поверхности, МВт/м3 | 3,48 | — | - |
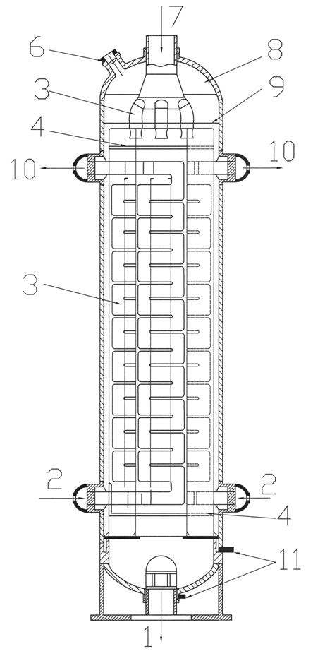
Змеевики экономайзерной части сделаны из углеродистой стали, испарительной — из стали с 9% хрома и 1% молибдена, пароперегревательной — из аустенитной нержавеющей стали. Для экономайзера и испарителя используются оребрённые трубы. Секции парогенератора целиком изготавливаются и испытываются на заводе. Схемы, показывающие расположение парогенераторов в корпусе, приводятся в [1,3]. Парогенератор АЭС «Форт С.-Врэйн» (США). Теплоноситель — гелий. Секции парогенератора образованы винтовыми змеевиками и располагаются по периферии нижней части внутренней цилиндрической полости под активной зоной реактора. По ходу газа части парогенератора располагаются в той же последовательности, что и в ранее рассмотренных парогенераторах. Так как температура теплоносителя в этом парогенераторе выше, чем в парогенераторах с углекислым газом, то для уменьшения температуры стенки труб в пароперегревателе теплоноситель и перегретый пар движутся прямотоком. В остальных частях парогенератора движение прямоточное.
|
|
|
В табл. 13 представлены основные характеристики парогенератора, а на рис. 10 — его конструкция.
Рис. 10 Парогенератор АЭС «Форт С.-Врэйн» (США) с гелиевым теплоносителем: 1 — вход теплоносителя; 2 — верхнее уплотнение; 3 — монтажное кольцо; 4 — лабиринтовое уплотнение; 5 — промпароперегреватель; 6 — кожух; 7 — пароперегреватель И; 8 — экономайзер, испаритель, пароперегреватель I; 9 — коллекторы питательной воды (18 шт.); 10 — коллекторы перегретого пара (18 шт.); 11 —нижнее уплотнение; 12— плита; 13 — выход гелия; 14 — первая крышка; 15 —оболочка; 16— вторая крышка; 17 — выход перегретого пара; 18 — коллектор питательной воды; 19 — ввод пара промперегрева; -20 — выход пара промперегрева
Таблица 13
| Основные характеристики парогенератора | АЭС «Ф. С— Врэйн» |
| Тепловая мощность блока реактор—парогенераторы, МВт Число парогенераторов на реактор | |
| Число парогенераторов на реактор | |
| Число секций в парогенераторе | |
| Давление теплоносителя, МПа | 4,75 |
| Температура теплоносителя, °С: на входе на выходе | |
| Расход теплоносителя через блок реактор—парогенераторы, кг/с | |
| Паропроизводительность блока, кг/с | |
| Давление перегретого пара, МПа | 17,3 |
| Температура перегретого пара. °С | |
| Температура питательной воды. °С | |
| Наружный диаметр труб экономайзера, испарителя, пароперегревателя мм | 25,4 |
| Число этих труб на секцию | |
| Расход пара через промпаронерегреватель, кг/с | |
| Давление пара промперегрева. МПа | 4,14 |
| Температура пара промперегрева. °С: на входе на выходе | |
| Наружный диаметр труб промпароперегревателя, мм | 28,6 |
| Число труб промпароперегревателя (на секцию) | |
| Теплопередающая поверхность парогенератора, м2 | |
| Полная длина труб парогенератора, м | 46,6x103 |
| Гидравлическое сопротивление парогенератора по тракту теплоносителя МПа | 0,024 |
| Гидравлическое сопротивление парогенератора по рабочему телу МПа | 1,61 |
| Удельная объемная нагрузка парогенератора, мВт/м2 | 9,45 |
| Диаметр секции парогенератора, м | 1,66 |
| Вес секции парогенератора, т | |
| Диаметр корпуса блока м наружный внутренний | 9,4 |
| Высота, м. наружный внутренний |
Натрий движется в межтрубном пространстве, рабочее тело (вода и пароводяная смесь в испарителе, пар в пароперегревателе и промпароперегревателе —внутри труб. Модули основного и промежуточного пароперегревателей соединены параллельно по теплоносителю. Из обоих модулей натрий выходит с одинаковой температурой и поступает в модуль испарителя. В последнем происходят напрев питательной воды до температуры кипения, испарение и небольшой (на 12—15°С) перегрев пара. Корпус, трубный пучок, трубные доски пароперегревателей изготовлены из стали XI8Н9, а испарителя — из стали 1Х2М.
|
|
|
Корпус модуля отделен от потока натрия, обечайкой, защищающей корпус от воздействия возможных колебаний температуры натрия. Для защиты трубных досок использованы плиты - вытеснители и изолирующие прокладки. Снизу и сверху к корпусу приварены камеры для входа и выхода теплоносителя. Натрий поступает в трубный пучок из входной камеры через отверстия в обечайке. Аналогичен и выход натрия из трубного пучка в выходную камеру. Камеры для входа и выхода рабочего тела образованы трубными досками и съемными крышками. Трубы в вальцованы в трубные доски, где располагаются по сторонам правильных шестиугольников. Дистанционирующие решетки пучка труб установлены вдоль пучка с шагом 1 м.
3.3.2. Парогенераторы действующих зарубежных АЭС _ с жидкометаллическим теплоносителем.
Парогенератор АЭС «Даунри» (Англия, 1972 г.). Станция является прототипом АЭС с электрической мощностью 1000 МВт. Схема парогенератора имеется в [3], основные конструктивные данные приведены в табл. 15.
Парогенератор состоит из трех вертикальных теплообменников с U-образными змеевиками: испарителя, пароперегревателя и промежуточного пароперегревателя. Во всех трех частях парогенератора теплоноситель движется в межтрубном пространстве.
Пароперегреватель и промпароперегреватель соединены по теплоносителю параллельно. Движение теплоносителя и рабочего тела в них противоточное.
Питательная вода подается в сепарационный барабан. Циркуляция рабочего тела в испарителе — многократная, принудительная.
Таблица 14
| Основные характеристики парогенератора | АЭС «Даунри» |
| Тепловая мощность, МВт | |
| Число парогенераторов на реактор | |
| Температура теплоносителя, °С: на входе в парогенератор на входе в испаритель на выходе из парогенератора | |
| Расход теплоносителя, кг/с | |
| Паропроизводительность, кг/с | |
| Давление перегретого пара, МПа | 16,6 |
| Температура перегретого пара, °C | |
| Давление в сепарационном барабане, МПа | 17,1 |
| Температура питательной воды, °С | |
| Кратность циркуляции в испарителе | |
| Расход пара через промпароперегреватель, кг/с | |
| Давление пара, МПа: на входе в промпароперегреватель на выходе из промпароперегревателя | 3,41 3,19 |
| Температура пара, °С: на входе в промпароперегреватель на выходе из промпароперегревателя | |
| Внутренний диаметр корпуса пароперегревателя, мм | |
| Диаметр трубной доски пароперегревателя, мм | |
| Внутренний диаметр корпуса испарителя, мм | |
| Диаметр трубной доски испарителя, мм | |
| Диаметр трубной доски прампароперегревателя, мм | |
| Теплопередающая поверхность пароперегревателя, м2 | |
| Число труб в пароперегревателе | |
| Диаметр и толщина стенки трубки пароперегревателя, мм | 14,3x2,24 |
| Число рядов труб по окружности | |
| Число U -образных змеевиков по радиусу | |
| Средняя длина трубы, м | 10,8 |
| Высота пароперегревателя, м | 6,6 |

Рис. 12 Секционный парогенератор АЭС «Феникс» с жидкометаллическим теплоносителем (Франция): А — промперегреватель; Б— пароперегреватель; В—испаритель; Г — поперечное сечение через секции; 1 — выход натрия; 2 — растопочный сепаратор; 3— вход натрия в испаритель; 4 — вход натрия в пароперегрёва-5 — выход натрия из промпароперегревателя; 6 — выход пара в промперегреватель; 7—вход пара на промперегрев; 8 — выход перегретого пара: 9 — выход натрия из пароперегревателя; 10— вход натрия в испаритель; 11— вход питательной воды; 12 — разрывная ша; 13 — коллектор для отвода продуктов взаимодействия натрия с водой.
Таблица 15
| Основные характеристики парогенератора | АЭС «Феникс» |
| Тепловая мощность, МВт | |
| Температура теплоносителя, °С: на входе на выходе | |
| Расход теплоносителя, кг/с | |
| Паропроизводительность, кг/с | |
| Давление перегретого пара. МПа | 16,8 |
| Температура перегретого пара. °С | |
| Температура питательной воды, °С | |
| Расход пара промперегрева. кг/с | |
| Давление пара промперегрева, МПа | 3,49 |
| Температура пара промперегрева, °С: на выходе на входе | |
| Потеря напора по тракту рабочего тела, МПа экономайзер -испаритель пароперегреватель промпароперегреватель | 1,81 0,47 0,13 |
| Теплопередающая поверхность, м2: всего парогенератора экономайзера-испарителя пароперегревателя промпароперегревателя | |
| Число секций в парогенераторе | |
| Число труб в секции | |
| Диаметр и толщина стенки наружной трубы секции, мм: испарителя-экономайзера пароперегревателя и промпароперегревателя | 193,7x6,3 193,7x5,4 |
| Диаметр и толщина стенки труб теплопередающей поверхности, мм: испарителя-экономайзера пароперегревателя промпароперегревателя | 28x4 31,8x3,6 42,4x2 |
| Габариты парогенератора, м: длина высота | 16,9 18,6 |
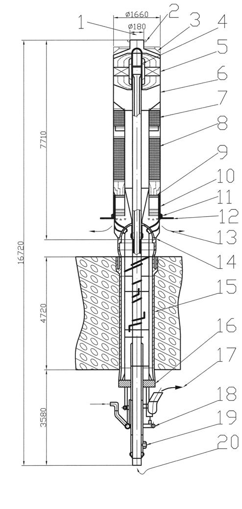
Схема движения рабочего тела и теплоносителя — прямоток. Трубы испарителя изготовлены из стали с содержанием 2,25% хрома и 1% молибдена. В пароперегревателе и пром- пароперегревателе применена нержавеющая аустенитная сталь. Парогенератор АЭС «Феникс» (Франция). На рис. 12 показана конструктивная схема парогенератора АЭС «Феникс». Основные характеристики парогенератора даны в табл. 16. Парогенератор прямоточный, с промежуточным перегревом пара. Секции выполнены по типу «пучок труб в трубе» и имеют вид s- образных змеевиков. Во всех частях парогенератора натрий движется в межтрубном пространстве, рабочее тело — внутри труб.
Первым по ходу теплоносителя расположен промпароперегреватель, затем основной пароперегреватель, за которым следуют секции испарителя-экономайзера. Материал труб теплопередающей поверхности: пароперегревателей — аустенитная нержавеющая сталь, (испарителя-экономайзера — ферритная сталь с содержанием 2,25% хрома и 1% молибдена.
3.3.3. Проекты парогенераторов для зарубежных АЭС с натриевым теплоносителем
Парогенератор для. АЭС с электрической мощностью 1320 МВт (проект, Англия). Парогенератор (схема на рис. 13) предназначается для станции с двумя стандартными турбинами. Разработаны проекты на до критические параметры пара (с многократной принудительной циркуляцией (МПЦ) и прямоточный), а также на за критические параметры пара. В табл. 17 приведены основные характеристики парогенераторов для АЭС с Nэ=1320 МВт. Парогенератор с МПЦ состоит из отдельных корпусов испарителя, пароперегревателя и промпароперегревателя. Прямоточные парогенераторы на до критические и за критические параметры также проектируются трехкорпусными из-за нежелательности сварки труб из статей разных составов. Пароперегреватель и промпароперегреватель соединены по теплоносителю параллельно. Наружный диаметр корпуса теплообменников ограничивался величиной 2,75—3.1 м, считающейся оптимальной с точки зрения изготовления и транспортировки. Конструкция испарителя и пароперегревателей основного и промежуточного одинакова: вертикальные теплообменники.

Рис. 13 Парогенератор для АЭС с жидкометаллическим теплоносителем N3=1320 МВт (проект. Англия): 1 — вход натрия; 2 — выход продуктов взаимодействия натрия с водой; 3 — трубный пучок; 4 — тепловой экран; 5 — направляющие трубки; 6 — выход натрия; 7 — измеритель уровня со стороны выхода натрия; 8 — вход рабочего тела; 9 — измеритель уровня со стороны входа натрия; 10— выход рабочего тела; 11 — детектор водорода; 12— выход натрия; 13 — опора; 14 — разделительная обечайка: 15 — дренаж.
Таблица 17
| Основные характеристики | Парогенераторы | ||
| прямоточные | |||
| с МПЦ | До критический | За критический | |
| Электрическая мощность АЭС, МВт | |||
| Тепловая мощность АЭС, МВт | |||
| Количество на АЭС: | |||
| испарителей | |||
| пароперегревателей | |||
| промпароперегревателеи | |||
| Температура теплоносителя, °С: | |||
| на входе в парогенератор | |||
| на выходе из парогенератора на входе в испаритель | |||
| Расход теплоносителя, кг/с: | |||
| общий | 13 200 | 12 800 | |
| через пароперегреватель через промпароперегреватель | |||
| Общая паропроизводительность, кг/с | |||
| Давление перегретого пара. МПа | 16,6 | 16,6 | 25,2 |
| Температура перегретого пара, °С | |||
| Температура питательной воды. °С | |||
| Температура пара на выходе из испарителя, °С | |||
| Расход пара через промпароперегреватели, кг/с | |||
| Давление пара, МПа: | |||
| на выходе из промпароперегревателя | 3,41 | 3,41 | 4,62 |
| на входе в промпароперегреватель | 3,55 | 8,55 | 4,80 |
| Температура пара промперегрева, °С: на выходе | |||
| на входе | |||
| Кратность циркуляции | |||
| Наружный диаметр груб, мм: | |||
| в испарителе | 15,9 | ||
| в пароперегревателе | 12,7 | ||
| в промпароперегревателе | 25,4 | ||
| Число труб | |||
| в испарителях в пароперегревателях в промпароперегревателях | |||
| Эффективная длина трубы, м: | |||
| испарителя | 17,1 | 25,1 | 27,7 |
| пароперегревателя | 14,5 | 13,8 | 18,6 |
| промпароперегревателя | 13,8 | 15,0 | 18,1 |
| Внутренний диаметр корпуса, м: испарителя пароперегревателя | 2,96 2,79 | 2,9 2,98 | 2,8 2,79 |
| промпароперегревателя | 2,32 | 2,32 | 2,28 |
| Высота корпуса, м: испарителя пароперегревателя промпароперегревателя | 8,05 6,5 6,09 | 15,02 6,22 6,98 | 13,4 8.78 8,63 |
с U-образными змеевиками. 1еплоноситель движется в межтрубном пространстве, продольно омывая трубки.
Ряды U-образных змеевиков занимают периферийную часть теплообменника. К плоской трубной доске теплообменников привариваются два тороидальных коллектора ввода и вывода рабочего тела. Для труб теплопередающей Поверхности и корпуса испарителя предполагается использовать сталь с 2,25% хрома и 1% молибдена, стабилизированную ниобием и титаном. Трубы и корпус пароперегревателей будут изготовляться из нержавеющей стали. Толщина стенки труб, определенная расчетом, будет увеличена на 0,075,и 0,15 мм соответственно в испарителе и пароперегревателях на коррозию со стороны натрия и на 0,13 мм — на коррозию со стороны воды и пара. Добавка на утонение стенки трубы при выполнении гибов не делается. Расчетное давление для корпусов принимается равным 3,4 МПа, а для плоских трубных досок—1 МПа. Давление выбирается с учетом возможного воздействия ударной волны, возникающей при реакции натрия с водой. Из табл. 17 видно, что в прямоточном парогенераторе пар поступает в пароперегреватель уже перегретым относительно температуры насыщения на 28°С. Сделано это для того, чтобы избежать образования отложений на поверхности труб пароперегревателя из аустенитной нержавеющей стали.
Парогенератор для АЭС с реактором электрической мощностью 1000 МВт (проект, США). Фирма «Вестингауз» разработала проект парогенератора, схема которого представлена на рис. 14, а основные характеристики — в табл. 18.

Рис. 14 Прямоточный, парогенератор с натриевым теплоносителем (проект; США): 1 — выход натрия; 2 — вход питательной воды; 3 — трубный пучок; 4 — дырчатый лист:.5 — раздающие трубы; 6 — разрывная мембрана: 7 — выход натрия; 8 — газовая полость; 9 — уровень натрия; 10 — выход перегретого пара; 11 — дренаж.

Таблица 18
| Основные характеристики парогенератора | Значение |
| Тепловая мощность, МВт | |
| Температура теплоносителя, °С: | |
| на входе | |
| на выходе | |
| Давление теплоносителя, МПа | 0,48 |
| Расход теплоносителя, кг/с | |
| Паропроизводительность, кг/с | |
| Давление перегретого пара, МПа | 16,9 |
| Температура перегретого пара, °С | |
| Температура питательной воды. °С | |
| Перепад давления по теплоносителю, МПа | 0,103 |
| Перепад давления по рабочему телу, МПа | 1,55 |
| Наружный диаметр и толщина стенки труб, мм | 12,7x1,65 |
| Число труб в парогенераторе | |
| Число рядов труб в секции | |
| Число змеевиков в ряду | |
| Шаг между трубами по квадрату, мм | 25,4 |
| Эффективная длина трубы, м | 37,8 |
| Диаметр патрубков, мм: | |
| питательной воды | |
| перегретого пара | |
| входа теплоносителя | |
| выхода теплоносителя | |
| Диаметр взрывного клапана, мм | |
| Расстояние между входными и выходными патрубками рабочего тела м | 11,2 |
| Внутренний диаметр корпуса, м | 4,6 |
| Высота корпуса, м | 19,8 |
Предполагается, что с реактором электрической мощностью 1000 МВт будут работать два парогенератора. Парогенератор прямоточный состоит из одного вертикального цилиндрического корпуса, в котором расположены шесть секций плоских змеевиков, заключенных в прямоугольные обечайки. Каждая секция имеет трубные доски, вваренные в корпус в нижней и верхней его части. Трубы к трубным доскам привариваются со стороны, обращенной к натрию, чтобы избежать образования щелей между трубками и трубной доской со стороны натрия. К трубным доскам привариваются полусферические днища с патрубками для входа питательной воды и выхода перегретого пара. Натрий поступает в парогенератор через входной патрубок в верхнем эллиптическом днище и раздается шестью трубами по секциям.
Трубы теплопередающей поверхности изготовляются из сплава инколой-800. Трубные доски плакируются сплавом инконель-600 со стороны воды и натрия. В табл. 19 даны значения допускаемых напряжений (по американским нормам) для труб из сплавов инколой, инконель и стали с содержанием 2,25% хромай 1 % молибдена.
Таблица 19
| Материал | Допускаемое напряжение, кгс/мм | |||
| 480°С | 510°С | 540°С | 570°С | |
| Инколой-800 Инконель-600 Сталь: 2,25% Сг, 1% Мо | 10,0 11,2 9,8 | 9,85 7,4 7,75 | 9,7 4,93 5,48 | 9,55 3,50 4,08 |
Парогенератор с обратными элементами (проект, США). Фирма «Комбашн» разработала проект парогенератора (рис. 15), теплопередающая поверхность которого выполнена из обратных элементов (трубок Фильда). Три парогенератора будут устанавливаться с реактором электрической мощностью 1000 МВт. При номинальной нагрузке парогенератор будет работать как прямоточный, при нагрузках, меньших номинальной,— по схеме с рециркуляцией. Основные характеристики парогенератора даны в табл. 20.
Испаритель и пароперегреватель располагаются в одном корпусе: пароперегреватель занимает центральную часть, испаритель — периферийную. Питательная вода поступает в то- роидальный коллектор прямоугольного сечения, расположенный в корпусе парогенератора, и из него раздается по внутренним трубкам обратных элементов испарителя. В кольцевых каналах обратных элементов вода нагревается до кипения и испаряется. Насыщенный пар направляется в сепаратор, расположенный вне корпуса парогенератора, откуда поступает в кольцевые каналы обратных элементов пароперегревателя. Перегретый пар из центральных трубок обратных элементов пароперегревателя выходит в сборный коллектор и через патрубок покидает парогенератор.

Рис. 16 Прямоточный парогенератор с обратными элементами для АЭС с жидкометаллическим теплоносителем (проект, США): 1 — выход натрия; 2—обратные элементы пароперегревателя; 3— тепловой экран; 4 — отвод продуктов взаимодействия натрия с водой; 5—вход питательной воды; 6 — окна для входа насыщенного пара; 7 — лаз; 8— выход перегретого пара; 9 — вход насыщенного пара; 10— камера перегретого пара; 11—коллектор питательной воды; 12— выход насыщенного пара; 13 — разовая полость; 14 — уровень натрия; 15 — разделительная обечайка; 16 — дистанционирующая решетка; 17—обратные элементы испарителя; 18 — вход натрия.
Таблица 20
| Общая характеристика парогенератора | Значение |
| Тепловая мощность, МВт | |
| Температура теплоносители, °С: на входе на выходе | |
| Расход теплоносителя, кг/с | |
| Потеря напора по тракту теплоносителя, МПа | 0,08 |
| Паропроизводительность, кг/с | |
| Давление перегретого пара, МПа | 16,9 |
| Температура перегретого пара, °С | |
| Температура питательной воды, °С | |
| Давление питательной воды, МПа | 18,2 |
| Характеристики пароперегревателя: | |
| тепловая мощность, МВт | |
| коэффициент теплопередачи, кВт/(м2-К) | 2,93 |
| температурный напор, °С | |
| теплопередающая поверхность, м2 | |
| диаметр и толщина стенки наружной трубки обратного элемента, мм | 28,6х3,7 |
| длина теплопередающей части трубки, м | 9,15 |
| диаметр разделительного кожуха секции пароперегревателя, м | 1,7 |
| диаметр и толщина стенки наружной трубки обратного элемента испарителя, мм | 28,6x2,4 |
| Характеристики участка испарителя с, ухудшенной теплоотдачей: | |
| тепловая мощность, МВт | |
| коэффициент теплопередачи. кВт/(м2-К) | 4,75 |
| температурный напор, °С | |
| теплопередающая поверхность, м2 | |
| длина трубы участка, м | 2,29 |
| Характеристики участка испарителя с развитым пузырьковым кипением: | |
| тепловая мощность, МВт | |
| коэффициент теплопередачи. кВт/(м2-К) | 4,98 |
| температурный напор, °С | |
| теплопередающая поверхность, м2 | |
| длина трубы участка, м | 3,5 |
| Характеристика экономайзерного участка испарителя: | |
| тепловая мощность, МВт | |
| коэффициент теплопередачи, кВт/(м2-К) | 4,12 |
| температурный напор, °С | |
| теплопередающая поверхность, м2 | |
| длина трубы участка, м | 4,88 |
| наружный диаметр испарительной секции, м | 2,7 |
| внутренний диаметр испарительной секции, м | 1,98 |
| Наружный диаметр корпуса парогенератора, м | 3,03 |
| Высота парогенератора, м | 17,26 |
| Вес парогенератора, т |
Для уменьшения теплопередачи через внутренние трубки обратных элементов последние имеют двойные стенки с зазором, заполненные газом.
Теплоноситель входит в парогенератор через патрубки в нижнем днище, продольно обтекая трубный пучок пароперегревателя. В верхней части поток делает поворот на 180°, движется вдоль труб испарителя и через патрубки в нижней части корпуса выходит из парогенератора. В верхней части корпуса имеются газовое пространство, заполненное аргоном, и патрубок для взрывного клапана.
В качестве конструкционных материалов предполагается использовать:
а) для корпуса — ферритную сталь (2,25% хрома, 1% молибдена), плакированную ферритным сплавом для предотвращения обезуглероживания;
б) для трубных досок, труб и коллекторов — ферритную сталь с содержанием 9—12% хрома, имеющую более высокие прочностные характеристики, чем сталь с 2,25% хрома.

Парогенератор АЭС «Суперфеникс»
1 — ремонтный люк; 2 — вход натрия; 3 — выход пара; 4 — трубы поверхности нагрева; 5 — вход питательной вод; 6 — выход натрия; 7 — уровень натрия; 8 — газовая полость.
![]() |
КОНСТРУКЦИИ ВЕРТИКАЛЬНЫХ ПАРОГЕНЕРАТОРОВ КОНСТРУКЦИИ ЗАРУБЕЖНЫХ ВЕРТИКАЛЬНЫХ ПАРОГЕНЕРАТОРОВ БОЛЬШОЙ МОЩНОСТИ
1.1. В практике зарубежного парогенераторостроения для АЭС с реакторами, охлаждаемыми водой под давлением (PWR), наиболее широко используются два основных типа парогенераторов: с естественной и с принудительной циркуляцией (прямоточные).
При разработке новых конструкций наблюдается тенденция к уменьшению числа петель циркуляции и увеличению единичной мощности парогенераторов, поскольку при этом уменьшается относительная стоимость тепломеханического оборудования, сокращается протяженность коммуникаций, количество арматуры и насосов. Уменьшение числа петель связано с предъявлением повышенных требований к надежности работы тепломеханического оборудования.
1.2. Вертикальные однокорпусные парогенераторы насыщенного пара с естественной циркуляцией теплоносителя во II контуре разработаны в США фирмой «Вестингауз электрик» для АЭС с реакторами PWR в трех- и четырехпетлевом исполнении электрической мощностью 300 МВт (модель Д) и 350 МВт (модель Е). Парогенератор фирмы «Вестингауз электрик» (модель Е) показан на черт. 1 и состоит из пучка испарителя и двухступенчатого сепаратора. Пучок испарителя набирается из U-образных труб, концы которых закреплены в плоской горизонтальной трубной доске. Трубная доска расположена в нижней части корпуса и образует верхнюю крышку подводящей и отводящей камер теплоносителя I контура.
1.3. Вертикальные однокорпусные парогенераторы большой мощности насыщенного пара с естественной циркуляцией теплоносителя во II контуре разработаны в США фирмой «Комбасчен инжиниринг» для АЭС с реакторами PWR «Система-80» в двухпетлевом исполнении электрической мощностью по 400 МВт. Парогенератор типа «Система-80» показан на черт. 2. Парогенератор оснащен встроенным экономайзерным участком, позволяющим осуществить распределение потока питательной воды в зависимости от тепловой нагрузки и улучшить характеристики парогенератора в зоне низких температур теплоносителя.
1.4. Вертикальные однокорпусные парогенераторы большой мощности насыщенного пара с естественной циркуляцией теплоносителя во II контуре разработаны в ФРГ фирмой «Дойче Бабкок и Вилькокс» для АЭС с реакторами PWR в двухпетлевом исполнении. Парогенератор АЭС Библис состоит из пучка испарителя, собранного из U-образных труб, и двухступенчатого сепаратора. Трубный пучок помещен в корпус в кольцевом кожухе, чем обеспечивается организация циркуляции. Отличительной особенностью этого парогенератора является внутрикорпусное кольцевое дроссельное устройство для регулирования кратности циркуляции.
1.5. Все элементы этих парогенераторов, работающие под давлением, изготовлены из углеродистых или низколегированных сталей. Трубная доска плакирована со стороны теплоносителя никелевым сплавом инконель-600. Трубы парогенераторов изготовлены из сплава инконель- 600. Для обеспечения высокой плотности заделки концы труб приварены к наплавке, для придания механической прочности и исключения источников щелевой коррозии трубы развальцовываются взрывом по всей толщине трубной доски. Заделка труб в трубные доски является жесткой.
1.6. Вертикальные однокорпусные прямоточные парогенераторы слабоперегретого пара со встроенным экономайзером разработаны в США фирмой «Бабкок и Вилькокс» для АЭС с реакторами PWR в двухпетлевом исполнении. Парогенератор фирмы «Бабкок и Вилькокс» для АЭС Окони показан на черт. 3 и представляет собой прямотрубный теплообменник, помещенный в прочный корпус. Трубы теплообменного пучка вварены в верхнюю и нижнюю трубные доски. Парогенератор той же фирмы для установки «Бабкок-241» показан на черт. 4 и представляет собой прямотрубный аппарат, выполненный по прямоточному циклу с экономайзерным участком без частичной рециркуляции для предварительного подогрева питательной воды.
1.7. Вертикальный однокорпусный прямоточный парогенератор разработан во Франции для установки Трепо. В этом парогенераторе с целью улучшения компенсации разности термических деформаций корпуса и трубного пучка применены трубы с волнистыми погибами.
1.8. Способы дистанционирования парогенерирующих труб, применяемые зарубежными фирмами, существенно различаются. Наиболее часто употребляемые виды дистанционирования представлены на черт. 5.
Парогенератор тина «Система-80» фирмы «Комбасчен инжиниринг»
Так, в частности, фирма «Вестиигауз» использовала штампованные пластины с овальными отверстиями, длинная ось которых В разных решетках ориентирована в различных направлениях. Фирма «Крафтверк унион» использовала решетки с ромбической ячейкой, собранные из плоских прорезных пластин. Фирма «Бабкок и Вилькокс» в парогенераторе Окони использовала плоские штампованные решетки с круглыми проходными окнами, снабженными тремя выступами, а в настоящее время применяет решетки сотового типа. Фирма «Дойче Бабкок и Вилькокс» устанавливает и шахматном порядке полукруглые решетки, создавая поперечный поток двухфазной смеси. В парогенераторе установки Трепо трубы устанавливают концентрическими слоями от центра к периферии, дистанционируя кольцевыми пластинами, к которым приваривают полые распорки. Полость в распорках служит для прохода теплоносителя. По вибромеханическим характеристикам все перечисленные виды дистанционирующих устройств близки к шарнирным заделкам.







