3.6.1. Условия равновесия произвольной пространственной системы сил
Векторная форма условия равновесия: для равновесия произвольной пространственной системы сил, приложенной к свободному абсолютно твердому телу, необходимо и достаточно, чтобы её главный вектор был равен нулю и главный момент системы сил относительно произвольной точки был равен нулю: 
Аналитическая форма условия равновесия:
- для равновесия произвольной пространственной системы сил, приложенной к свободному абсолютно твердому телу, необходимо и достаточно, чтобы суммы проекций всех сил на каждую из трёх координатных осей были равны нулю, и суммы моментов всех сил системы относительно каждой из этих осей были равны нулю:


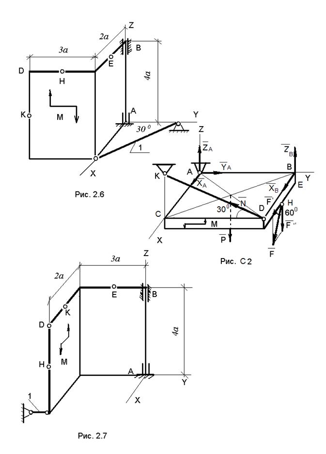
3.6.2. Дано: две однородные прямоугольные тонкие плиты жестко соединены (сварены) под прямым углом друг к другу и закреплены сферическим шарниром (или подпятником) в точке А, цилиндрическим шарниром (подшипником) в точке В и невесомым стержнем 1 (рис. С 2.0 – С 2.7) или же двумя подшипниками
в точках А и В и двумя невесомыми стержнями 1 и 2 (рис. С 2.8, С 2.9). Все стержни прикреплены к плитам и к неподвижным опорам шарнирами.
Размеры плит указаны на рисунках. Вес большей плиты Р1=5 кН, вес меньшей плиты Р1=3 кН. Каждая из плит расположена параллельно одной из плоскостей проекций (π1 - горизонтальной, π2 - фронтальной, π3 - профильной). При расчетах принять а=0,6 м.
На плиты действуют пара сил с моментом М=4 кНм, лежащая в плоскости одной из плит, и две силы. Значения сил, их направления и точки приложения указаны в таблице С-2. Силы F1 и F4 лежат в плоскостях, параллельных плоскости π1; сила F2 – в плоскости, параллельной плоскости π3; сила F3 – в плоскости параллельной плоскости π2. Точки приложения сил (D, E, H, K) находятся в углах или серединах сторон плит.
Определить: реакции связей в точках А, В и реакцию стержня (стержней).
Указания. При решении задачи необходимо учесть, что реакция сферического шарнира (подпятника) имеет три составляющие (по трем координатным осям), а реакция цилиндрического шарнира (подшипника) – две составляющие, лежащие в плоскости, перпендикулярной оси шарнира. При вычислении момента силы её следует разложить на составляющие, параллельные координатным осям.


3.6.2. Пример С-2
Горизонтальная прямоугольная плита весом Р (рис. С-2) закреплена сферическим шарниром в точке А, цилиндрическим шарниром в точке В и невесомым стержнем DK. На плиту в плоскости, параллельной плоскости π3, действует сила F, а в плоскости, параллельной π2, – пара сил с моментом М.
Дано: Р = 3 кН; F = 8 кН; М= 4 кНм; α=60°; АС=0,8 м; ВЕ=0,4 м;
АВ=1,2 м; ЕН=0,4 м.
Определить: реакции в шарнирах А, В и стержне DK.
Решение
1. Рассмотрим равновесие плиты. На плиту действуют заданные силы P, F и пара сил с моментом М, а также реакции связей.
2. Систему координат выбираем таким образом, чтобы её начало совпадало с точкой А, а оси OX, OY были направлены по рёбрам плиты АС и АВ.
3. Реакцию сферического шарнира разложим на три составляющие
, цилиндрического шарнира – на две составляющие
, принадлежащие плоскости, перпендикулярной оси подшипника. Реакцию N стержня направляем вдоль стержня от D к K, предполагая, что он растянут.
4. Для определения шести неизвестных реакций составляем шесть уравнений равновесия пространственной системы сил, действующей на плиту (1-6):

Для определения моментов силы
относительно координатных осей разлагаем её на две составляющие
,
, параллельные осям OX, OY
(
). Аналогично разложим по осям OY, OZ реакцию
в стержне DK. Вычисляя моменты сил относительно координатных осей, следует помнить: момент силы относительно оси равен нулю, если линия действия силы пересекает ось или ей параллельна.
Подставив в полученные уравнения численные значения всех заданных величин и решив совместно эти уравнения, находим искомые реакции.
Ответ: XA=3,46 кН; YA= 5,18 кН; ZA= 4,80 кН; XВ= -7,46 кН; ZВ= 2,15 кН; N=5,96 кН.
Знак «-» указывает, что истинное направление составляющей силы реакции в точке В противоположно первоначально выбранному (рис. С -2).
Модуль реакции в шарнире А равен:
, модуль реакции в шарнире В равен:
.
Проверка: для проверки правильности решения необходимо составить условие равновесия для данной системы сил в новой системе координат.
Глава 4. КИНЕМАТИКА
4.1. Кинематика точки. Способы задания движения точки
Задать движение точки – значит указать способ, с помощью которого можно определить положение точки, её скорость и ускорение в любой момент времени относительно выбранной системы отсчёта.
Существуют три способа задания движения точки: векторный, координатный и естественный.
Векторный способ задания движения точки: выбирается система отсчета и задается радиус-вектор движущейся точки М как функция времени.
Эта функция должна быть непрерывной и дважды дифференцируемой по времени
.
Траектория точки – это кривая линия, которую описывает точка (рис. 4. 1).
Скорость точки в данный момент времени равна пределу средней скорости при стремлении промежутка времени, в течение которого произошло перемещение, к нулю или первой производной радиуса-вектора точки по времени:
или 

Рис. 4.1
Скорость точки всегда направлена по касательной к траектории её движения.
Ускорение точки в данный момент времени равно пределу среднего ускорения при стремлении промежутка времени, в течение которого произошло приращение скорости, к нулю или первой производной от скорости по времени или второй производной от радиуса-вектора точки по времени:
или 
Координатный способ задания движения точки: выбирается система отсчёта (рис. 4.2), задаются конечные уравнения движения точки, выражающие зависимость координат от времени: x=x(t), y=y(t), z=z(t) –
конечные уравнения движения точки являются параметрическими уравнениями её траектории.
Чтобы найти уравнение траектории точки в координатной форме, необходимо:
1. Исключить параметр t (время) из уравнения движения.
2. Найти область изменения координат, то есть определить, какие ограничения накладывают уравнения движения на движение точки по траектории.

Рис. 4.2







