В зависимости от назначения и свойств различают выпрямительные диоды, стабилитроны, высокочастотные диоды, импульсные диоды, варикапы, диоды Шоттки, светодиоды, фотодиоды, диодные оптроны и т. п.
Выпрямительные диоды используют в схемах преобразования (выпрямления) переменного тока в постоянный ток. Как правило, это плоскостные диоды средней и большой мощности. В высокочастотных и импульсных маломощных цепях электронных устройств используют точечные диоды: кремниевые типа КД или 2Д и германиевые
типа ГД или 1Д, из арсенида галлия типа 3Д. Например, диоды ГД107А, КД203Д рассеивают мощность Р от 1 до 1,5 Вт, а диод КД512А — мощность P > 1,5 Вт.
К маломощным относят диоды с мощностью рассеивания до 0,3 Вт, к диодам средней мощности от 0,3 до 10 Вт, диоды большой мощности с мощностью рассеяния P>10 Вт.
Основные параметры выпрямительных диодов:
Iпр - прямой ток;
Uпр — прямое напряжение;
Iпрmax - максимальный допустимый прямой ток;
Uобр.mах — максимальное допустимое обратное напряжение;
Iобр - обратный ток, который нормируется при определенном обратном напряжении.
|
|
|
В настоящее время выпускаются так называемые диодные столбы, в которых для увеличения обратного напряжения последовательно соединены от 5 до 50 диодов с допустимым обратным напряжением от 2 до 40 кВ.
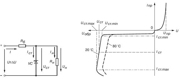
Стабилитроны или опорные кремниевые диоды предназначены для использования в параметрических стабилизаторах напряжения (рис. 13). Рабочим участком ВАХ стабилитрона является участок обратной её ветви, соответствующий области обратного электрического пробоя p-n- перехода (рис. 13) и ограниченный минимальным и максимальным значениями тока.

Рисунок 13 Схема включения стабилитрона и его ВАХ
При работе в этой области обратное напряжение на стабилитроне Uобр незначительно изменяется при относительно больших изменениях тока стабилитрона Iст. Поэтому при изменении входного напряжения изменяется в основном напряжение на балластном резисторе Rб, напряжение на нагрузке R почти не изменяется.
При прямом включении стабилитрон может рассматриваться как обычный диод, однако в связи с повышенной концентрацией примесей напряжение Uпр = 0,3…0,4 В мало изменяется при значительных изменениях прямого тока Iпр. Прибор, в котором используется прямая ветвь в схемах стабилиза-ции напряжения, называют стабистором.
Высокочастотные диоды — приборы универсального назначения (для выпрямления токов в широком диапазоне частот — до сотен мегагерц, генерации колебаний СВЧ_диапазона, модуляции сигналов, детектирования и других нелинейных преобразований).
Импульсные диоды используют в ключевых схемах при малых длительностях импульсов и переходных процессов (микросекунды и доли микросекунд). Важным моментом является инерционность включения и выключения диодов (малая длительность рекомбинации носителей заряда — восстановление обратного сопротивления за счет уменьшения так называемой барьерной ёмкости Сбар p-n -перехода).
|
|
|
Варикапы — это полупроводниковые диоды, предназначенные для использования их ёмкости, управляемой обратным напряжением Uобр (рис. 14).

Рисунок 14- ВАХ варикапа
В общем случае диод обладает барьерной и диффузионной ёмкостями. Барьерная ёмкость проявляется при приложении к p-n -переходу обратного изменяющегося во времени напряжения. При этом через p-n -переход протекает ток. Та доля тока (ток смещения), которая не связана с движением носителей заряда через p-n -переход, и определяет барьерную ёмкость
(появление тока смещения связано с изменением объёмного заряда). Объёмный заряд в p-n -переходе может быть положительным и отрицательным.
Диффузионную ёмкость обычно связывают с изменением заряда инжектированных неосновных носителей при изменении напряжения на диоде. В качестве варикапов используют диоды при обратном постоянном смещении, когда проявляется только барьерная ёмкость. Для различных варикапов ёмкость может быть от нескольких единиц до нескольких сотен пикофарад. Варикапы применяют в основном в устройствах высоких и сверхвысоких частот, например, для настройки колебательных контуров.
Диоды Шоттки — это полупроводниковые приборы, в которых используются свойства потенциального барьера (барьера Шоттки) на контакте металл — полупроводник.
В рассматриваемых диодах из-за разной высоты потенциальных барьеров для электронов и дырок нет инжекции неосновных носителей заряда, нет и таких медленных процессов, как накопление и рассасывание неосновных носителей в базе. В результате инерционность диодов с выпрямлением на контакте металл —полупроводник определяется величиной барьерной ёмкости выпрямляющего контакта (Cбар = 1 пФ). Кроме того, у этих диодов
незначительные активные потери (прямое напряжение Uпр = 0,4 В,
что на 0,2 В меньше, чем у обычных диодов). ВАХ диодов Шоттки — строгая экспонента (рис. 15).

Рисунок 15-ВАХ диода Шотки
В связи с тем, что барьерная ёмкость и последовательное активное сопротивление в таких диодах небольшие, соответственно мало
и время перезарядки ёмкости; это даёт возможность использовать
диоды Шоттки в качестве сверхскоростных импульсных диодов (f = 3-15 ГГц), например, в некоторых схемах в качестве быстродействующих логарифмических элементов и в мощных высокочастотных выпрямителях, в которых диоды способны работать на частотах до 1 МГц при Uобр = 50В и Iпр=10А.
Туннельные диоды — это полупроводниковые приборы (не имеющие p-n- перехода), использующие эффект Ганна — возникновение на ВАХ участка отрицательного дифференциального сопротивления (рис. 16).

Рисунок 16-ВАХ туннельного диода
Отношение токов Imax / Imin = 5...10. Это свойство диодов Ганна используют при разработке усилителей, генераторов синусоидальных и релаксационных колебаний, в переключающих устройствах с частотами от 100 МГц до 10 ГГц.
Светодиоды — это излучающие полупроводниковые приборы (индикаторы), предназначенные для непосредственного преобразования электрической энергии в энергию некогерентного светового излучения.
В основе принципа функционирования светодиодов лежит преобразование электрической энергии в электромагнитное излучение, спектр которого полностью или частично лежит в видимой области, диапазон длин волн которой составляет 0,45-0,68 мкм.
Светодиодная структура представляет собой р-п- переход, в котором при протекании прямого тока в несколько миллиампер в обеих областях перехода происходит рекомбинация инжектированных электронов и дырок, но наиболее эффективное преобразование инжектированных электронов в световую энергию протекает в базовой р -области.
|
|
|
Максимальное значение энергии, которое может выделиться при рекомбинации, равно ширине запрещённой зоны данного полупроводника. В полупроводниковых материалах с шириной запрещённой зоны менее 1,8 эВ может возбуждаться излучение с длиной волны более 0,7 мкм, которое лежит за пределами диапазона длин волн видимого света. Поэтому основными полупроводниковыми материалами, применяемыми для изготовления серийных светодиодов, являются фосфид галлия GaP), твёрдые растворы (GaAsP, GaAlP) и карбид кремния (SiC) с шириной запрещённой зоны более 2 эВ. Условное изображение и яркостная характеристика В (Iпр) све_
тодиода, где В — яркость света в канделах, приведены на рис. 17.

Рисунок 17-ВАХ светодиода
Фотодиод — это полупроводниковый прибор с p-n- переходом,
обратный ток которого зависит от освещенности Ф (рис. 18, а).

Рисунок 18-ВАХ фотодиода Рисунок 19-ВАХ диодного
оптрона
При поглощении квантов света в p-n- переходе или в прилегающих к нему областях кристалла полупроводника образуются новые носители заряда (пары электрон-дырка), поэтому обратный ток (фототок) через фотодиод при освещении возрастает.
С увеличением светового потока Ф сопротивление перехода уменьшается (рис. 18, б).
Приборы, предназначенные для использования этого явления, называют фоторезисторами, а транзисторы и тиристоры, реагирующие на эффект облучения световым потоком и способные одновременно усиливать фототок, называют соответственно фототранзисторами и фототиристорами.
Диодные оптроны — это приборы, состоящие из оптически связанных между собой элементов оптронной пары (управляемого светодиода и принимаю-щего излучение фотодиода) и предназначенные для выполнения функциональных электрических и оптических преобразований.
На рис. 19, а изображена схема диодного оптрона с внутренней прямой оптической связью. Изменение входного тока Iвх через светодиод сопровождается изменением яркости его свечения и изменением освещенности фотодиода, что приводит к уменьшению сопротивления фотодиода и соответственно к увеличению тока Iвых через выход оптрона (рис. 19, б).
|
|
|
Важным свойством такого оптрона является полная электрическая развязка входа и выхода прибора, что исключает обратную электрическую связь с его выхода на вход.






