Давление газа за регулятором устанавливают с помощью винта 4, воздействующего на дружину 5. Усилие пружины уравновешивается давлением газа на мембрану 3 в полости 2. При изменении давления газа в сети клапан 6, связанный с мембраной, перемещается, при этом изменяется проходное сечение отверстий 1 до наступления нового положения равновесия. Этот регулятор работает при давлении газа на входе 0,15—0,4 МПа и обеспечивает на выходе давление до 0,4 МПа с точностью 5 %. Корпус и детали регулятора выполнены из коррозионно-стойкой стали, а мембрана —из резины ИРП-1225.
Регуляторы расхода предназначены для поддержания постоянного во времени объемного или массового расхода газов. Необходимость стабилизации расходов связана с возможными изменениями гидравлических сопротивлений каналов газовой системы (перегибы трубопроводов, перекрытие запорных органов, неплотность в разъемах и др.).
При установившемся равномерном движении объемный расход газа Q, проходящего через сечение S (м2), определяют по формуле
|
|
|
Q=μSωср
где ωср— фактическая средняя скорость в этом сечении, м/с; μ — коэффициент расхода, отражающий неравномерность скорости по сечению потока.
При малых перепадах давления средняя скорость газа

где
— перепад давлений на исполнительном органе регулирующего устройства, МПа; р — плотность газа, кг/м3.
Непрерывное регулирование расхода газа обычно достигается (при прочих равных условиях) изменением проходного сечения исполнительного органа или перепада давления на нем. В системах регулирования и стабилизации расходов газов применяют тепловые расходомеры, принцип действия которых основан на измерении тепловой мощности, рассеиваемой нагретым телом и зависящей от скорости или массового расхода газа, в потоке которого находится это тело.
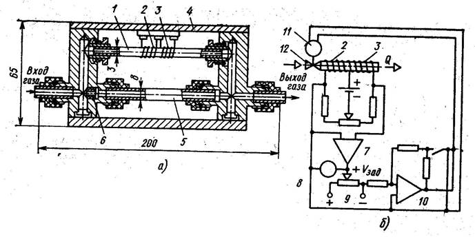
На рисунке ниже показана конструкция регулятора расхода газа и схема его включения.

Регулятор расхода газа: а — конструкция; б — схема включения
Основная часть расхода газа проходит через трубку 5, в которой установлена диафрагма 6 с калиброванным отверстием. Часть газа проходит через тонкостенную никелевую трубку 1, на которую намотаны обмотки 2 и 3 из медного провода, подключенные к источнику стабилизированного постоянного напряжения 24 В. Под действием потока газа обмотка 2 охлаждается, а температура обмотки 3 понижается в меньшей степени. Обмотки ведут себя как термосопротивления, что вызывает в измерительной диагонали моста сигнал разбаланса, величина которого пропорциональна расходу газа. Для снижения теплового воздействия среды корпус 4 выполнен из материала с высокой удельной теплоемкостью. Сигнал разбаланса усиливается (рисунок выше, б) и подается на стрелочный индикатор 8 расхода газа и на задатчик 9 величины расхода газа.
|
|
|
Разность между заданным (Vзад) и фактическим (V) значениями усиливается усилителями 7, 10 и подается на электродвигатель 11, который изменяет проходное сечение вентиля 12 таким образом, чтобы довести расход газа Q до заданного значения. Описанный преобразователь расхода обеспечивает при диаметре отверстия диафрагмы 1*10-3 м верхний предел измерений по водороду 3* 10-6 м3/с, а при диаметре отверстий 3* 10-3 и 6* 10-3 м — соответственно 1*10-6 и 25*10-6 M3/c.
ЭЛЕКТРИЧЕСКИЕ ВВОДЫ:
В зависимости от силы тока, частоты допустимой рабочей температуры давления в вакуумной камере различают следующие типы электрических вводов: низковольтные, слабо и сильно точные высоковольтные, низко и высокочастотные, ввод для термопара.
Для электрических вводов должно быть выполнено следующее требование к площади поперечного сечения проводника, чтобы плотность тока для меди не превышала (З...5)х10*6 А/м*2 для углеродной стали 7x10*5 А/м*2, для никеля 8х 10*5 А/м * 2, для молибдена 1,5*10 *6 А/м*2, для нержавеющей стали 12Х18Н10Тх1х10*5А/м * 2.
НАТЕКАТЕЛИ:
Для плавного регулирования давления рабочего газа применяют натекатели. Натекатели бывают с ручным и электромеханическим приводом типа НК2Р, НРП - 1,6 НЭТ - соответственно с электромагнитным приводом типа НМБ1, с комбинированным ручным и электрическим приводом НДЗ.
Пределы регулирования потока газа 1,ЗхЮ*8-6,65х10*-5(м*з*Па/с) а также диффузионные и термодиффузионные натекатели, принцип действия которых основан на избирательной диффузии газов через некоторые материалы, вибрационно-игольчатый натекатель.