
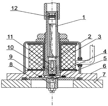
Корпус натекателя 6 герметично крепится к стенке 7 рабочей камеры или источника ионов. Основным элементом является клапан 11, выполненный из магнитного материала, игла 5, седло 8, уплотнительный элемент 4. Рабочий газ из трубопровода через фильтр 12 и шлицевой паз резьбового штуцера 1 попадает в плоскость 2, объём которой регулируется положением резьбового штуцера 1. С помощью электромагнитной катушки 3 клапан 11 может втягиваться в плоскость 2, открываядоступ рабочего газа к отверстию седла 8. Пружина 19 возвращает клапан в закрытое состояние. Через отверстие в седле 8 и в гайке 9 рабочий газ попадает в камеру установки. Величина потока газа устанавливается перемещением иглы 5 и штецера1, изменяющим соответственно площадь сечения проходного отверстия в седле 8 и соотношения времени открытого и закрытого положения клапана 11. Автоматическая регулировка величины потока рабочего газа для стабилизации тока разряда осуществляется срабатыванием электромагнита 3.






