
Квадрупольный масс-спектрометр способен анализировать состав газов от давления Ю-1 Па и ниже при высокой разрешающее способности.
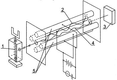
Источник ионов 1, где анализируется газ и выталкивается в виде ионного пучка через диафрагму в пространство анализатора. Отфильтрованные в анализаторе ионы определённой массы дают в цепи коллектора 3, ток пропорциональный давлению. В анализаторе прибора разделения ионов по массам происходит за счёт действия квадрупольного электрического поля, создаваемого четырьмя параллельными цилиндрическими стержнями 5, к которым приложены постоянное и переменное напряжение. При этом в области поперечного сечения, близкой к продольной оси прибора, создаётся гиперболическое электрическое поле. Заряженная частица 2, двигающаяся вдоль оси прибора, будет раскачиваться высокочастотным полем, причём амплитуда колебаний зависит как от массового числа частицы, тик и напряжения на стержнях. Ионы 4, амплитуда которых меньше расстояния от оси до стержня, беспрепятственно проходит через квадрупольное поле. Можно подобрать параметры поля так, что в зависимости от подаваемого напряжения через фильтр будут проходить ионы одной массы







