
Трение лишь между сегментом и гнездом в виде полусферы исключает смещение подложки при переключении воздуха и вакуума - разворот незначительный с тремя самоустанавливающимися фиксирующимися опорами
Конструкция сложна и долго внедряется но обеспечивает надёжную фиксацию.
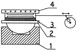
Для уменьшения износа фотошаблона выравнивание поверхности подложки ведут не по всей её поверхности, а лишь по периферийной части. Для этого между подложкой и фотошаблоном вводят калибратор.

После предварительной ориентации п/п перемещается с устройством ориентации до упора в калибратор. Поднятая полупроводниковая пластина удерживается на калибраторе вакуумом. Подвижная каретка позволяет калибратору перемещаться кривошипом и шатуном по направлению в зону совмещения. Положение каретки контролируется датчиком.






