Основные параметры установок проекционной ф/л - размер минимального элемента, рабочее поле
экспонирования, диаметр обрабатываемых подложек - непосредственно зависят от оптических
характеристик проекционной системы. Важнейшим элементом проекционной системы является объектив. Объектив должен иметь минимальную аберрацию, высокую разрешающую способность, большое рабочее поле, обеспечивать по всему полю постоянный масштаб увеличения и разрешения. В установках с масштабом проецирования 1:1 применяют высокоразрешающие объективы с небольшим рабочим полем. Экспонирование всей поверхности подложки в таких установках проводят методом мультиплицирования. В установках с переносом на подложку уменьшенного изображения топологии шаблона (М5:1; 10:1) применяется только метод шаговой мультипликации изображения. Автоматическая установка совмещения и мультипликации модели ЭМ-584 предназначен для проекционного помодульного переноса в масштабе 10:1 изображений промежуточных фотооригиналов (ПФО) на подложку. Подложка после предварительной ориентации по базовому срезу поступает на вакуумный подложкодержатель координатного стола.
|
|
|
Точная ориентация производится на координатном столе относительно измерительного шаблона.
Фотоэлектрический микроскоп фиксирует совмещение реперных знаков на подложке и проецируемых на неё через объектив знаков на измерительном шаблоне.
В момент совмещения знаков микроскоп даёт сигнал координатной измерительной системе для отсчёта и запоминания координат знаков.
После точной ориентации измеряются координаты всех пяти - девяти реперных знаков подложки. По результатам измерения мини ЭВМ рассчитывает и запоминает коэффициенты масштабных искажений в участках подложки. Коэффициенты неортогональности осей X и У, задаваемых знаками. Это позволяет учесть возможность деформации подложки.

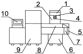
1 - блок освещения
2 - корпус
3 - блок совмещения
4 - окуляр
5 - плита
6 - тумба
7 - пульт управления
8 - блок автоматической загрузки
9 - стойка управления
10-дисплей
Блок освещения 1 установлен на корпусе 2, внутри которого размещены основные элементы оптической системы: датчик положения ПФО и измерительного шаблона, фотоэлектрический микроскоп, входящие в блок совмещения 3, а также датчик фокусировки. Окуляр 4 используется при контроле наличия реперных знаков в поле зрения микроскопа. Основанием установки является тумба 6, на которую через промежуточные виброопоры установлена плита 5. На плите закреплен привод механизма фокусировки, перемещений координатного стола с подложкой в вертикальном положении, и портал с держателем объектива - все эти механизмы закрыты кожухами. На переднем торце плиты 5 размещены: пульт управления 7 и блок автоматической загрузки подложки 8.






