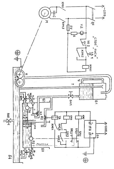
1. Ознакомьтесь с конструктивным исполнением установки (рисунок 10.2) автоматических систем статического и астатического регулирования и зарисуйте их принципиальную схему (рисунок 10.1).
2. Включите блок питания.
3. Откройте кран ВН1 (рисунок 10.2) и дождитесь установившегося уровня воды в баках Б2 и Б3 по линейкам с миллиметровыми делениями.
4. Снимите зависимости Н = ¦(t)/ Q = Qi и занесите в таблицу при открытом кране КР1 (КР2) на 25 % и одновременном начале фиксации времени, где t – время, мин; Н – уровень воды в баке, мм; Q – нагрузка объекта регулирования, (% открытия крана Qi – 25 %, 50 %, 75 %, 100 %).
Таблица 10.1.
| t, мин | ||||||||
| Н (мм) при Q = 25 % | ||||||||
| Н (мм) при Q = 50 % | ||||||||
| Н (мм) при Q = 75 % | ||||||||
| Н (мм) при Q = 100 % |
Примечание: Измерения производятся до стабилизации уровня воды в баке Н в течение 3-х минут

Закройте кран КР1 (КР2) и дождитесь установления первоначального значения уровня воды в баке. Затем откройте кран на 50 %, 75 %, 100 % и снимите показания.
|
|
|
5. Постройте по экспериментальным данным динамические характеристики Н = ¦(t) при Q Р = 25 %, 50 %, 75 %, 100 %, и статическую Н УСТ = ¦(Q 2). Определить по графику Н СТ = Н 0 – Нi, где i = 25 %, 50 %, 75 %, 100 %. Ориентировочный вид зависимостей приведен на рисунке 10.3.
6. Определите параметры характеристик по формулам 10.1–10.4. Опыт проведите со статической и астатической системами регулирования.
Примечание – Во время работы следите за уровнем воды в верхнем баке Б1 по мерной трубке. При снижении уровня до нижнего предела включите кнопкой «Пуск» насос для перекачки воды с бака Б4 в бак Б1.

Рисунок 10.3 – Характеристики САР
Контрольные вопросы
1. Дать определения статической и астатической систем регулирования.
2. Охарактеризовать основные свойства статической и астатической систем.
3. К какому типу динамического звена относится поплавковый датчик уровня?
4. Дать определение прямого и косвенного регулирования.






