Электрические коммутационные устройства обеспечивают коммутацию (включение, выключение) электрических цепей постоянного и переменного тока. К коммутационной аппаратуре относятся рубильники, переключатели, контакторы, магнитные пускатели, автоматические выключатели, реле, кнопки управления, конечные выключатели.
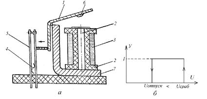
Кнопка управления содержит два неподвижных, изолированных друг от друга контакта 1, к которым подведена электрическая цепь 5–5, два подвижных контакта 2, соединенные электрически, пружину 3 и толкатель 4 (рисунок 11.l a).
При нажатии толкателя 4 подвижные контакты 2 прижимаются к неподвижным 1 и электрическая цепь 5–5замыкается. Если отпустить толкатель 4, то под действием пружины 3 контакты 1 и 2 разомкнутся и, следователь но, электрическая цепь 5–5 разомкнется.
Кнопка с такими контактами называется кнопкой с замыкающими контактами. Такая кнопка замыкает электрическую цепь при нажатии на ее толкатель.
Кнопки управления, смонтированные на общей панели и в общем кожухе образуют кнопочную станцию.
|
|
|
Для удобства и облегчения чтения принципиальных электрических схем все аппараты, участвующие в схеме, имеют условные обозначения. Условные обозначения кнопок приведены на рисунке 11.1.

Рисунок 11.1 – Кнопка управления:
а – общий вид; б – кнопка с замыкающим контактом;
в – кнопка с размыкающим контактом;
г – кнопка с замыкающим и размыкающим контактом
Переключатели (пакетные переключатели) – это разновидность рубильников. Переключатели имеют неподвижные и подвижные контакты, рукоятку управления. Подвижные и неподвижные контакты замыкаются в зависимости от угла поворота оси рукояткой управления. Переключатели бывают двух, трех и многопозиционные в зависимости от назначения. Условные обозначения переключателей на электрических схемах приведены на рисунке 11.2. Переключатель SA является трехпозиционным и имеет две секции, первая секция с контактами В–Г, а вторая с контактами Д–Е. Переключатель имеет три фиксированных положения 1, 0, 2, которые обозначены вертикальными штриховыми линиями. Замыкание подведенной к переключателю электрической цепи обозначается точкой напротив соответствующего положения рукоятки. Если рукоятка находится в положении 1, то будет замкнута цепь а–а, которая коммутируется первой секцией переключателя. Если рукоятку поставить в положение 2, то будет замкнута цепь б–б, которая коммутируется второй секцией. В положении 0 рукоятки обе цепи разомкнуты.

Рисунок 11.2 – Условное обозначение трехпозиционного переключателя
Автоматические выключатели, называемые просто автоматами, предназначены для нечастого включения и отключения электрических цепей при нормальном режиме вручную, и для автоматического отключения поврежденной части электрической цепи при возникновении аварийного режима.
|
|
|
В зависимости от числа коммутируемых электрических цепей различают одно-, двух- и трехполюсные автоматы.
Промышленность выпускает автоматы, реагирующие на токи короткого замыкания и на длительные недопустимые перегрузки. От тока короткого замыкания срабатывает электромагнитный расцепитель, принцип действия которого поясняется на рисунке 11.3 а.
При включенном автомате защищаемые цепи замкнуты контактами 2. Ток I проходит через обмотку катушки 7 и создают магнитный поток, действием которого сердечник 6, удерживаемый пружиной 8, стремится вытолкнуться из катушки. В нормальном режиме магнитный поток недостаточен для выталкивания сердечника. При коротком замыкании в электрической цепи магнитный поток резко возрастает. Сердечник 6 выталкивается из катушки и через рычаг 5 ударяет по защелке 4, освобождая рычаг 3. При этом под действием пружины 1 размыкаются контакты. Повторное включение автомата возможно только вручную.


Риcунок 11.3 – Устройство электромагнитного (а) и теплового (б) расцепителей
автоматического выключателя
Защита установок, подключенных к электрической сети, от длительных перегрузок осуществляется тепловыми расцепителями (рисунок 11.3 б).
Ток I с помощью нагревательного элемента 8 нагревает биметаллическую пластину 7. При возникновении токов перегрузки биметаллическая пластина деформируется, нажимает своим штифтом 6 на рычаг 5 и освобождает защелку 4, в результате чего освобождается рычаг 3 и размыкаются контакты 2 под действием пружины 1.
На рисунке 11.4 а показано условное обозначение однополюсного автомата, на рисунке11.4 б – трехполюсного.

Рисунок 11.4 – Условное обозначение автоматических выключателей на схемах
В схеме автоматизации технологических процессов сельскохозяйственного производства широко используются электромагнитные реле.
Реле – это электрический аппарат, в котором при плавном изменении входной величины и достижении ею определенного значения происходит скачкообразное изменение выходной величины.
Схема простейшего электромагнитного реле показана на рисунке 11.5 а.
Подвижный якорь 1 притягивается к неподвижному сердечнику 2 электромагнита, по обмотке 3 которого протекает ток. Перемещение якоря приводит к замыканию контактов 5. При отсутствии тока в обмотке 3 якорь 1 и контакты 5 возвращаются в исходное состояние усилием противодействующей пружины 4. Чтобы под влиянием остаточного магнитного потока якорь не оставался притянутым к сердечнику 2, на якоре закреплен из немагнитного материала штифт отлипания 6. Якорь, сердечник и ярмо 7 реле изготовлены из магнитомягкого материала. Статической характеристикой (рисунок 11.5 б) реле является зависимость (Y) состояния его контактов (замкнуты, разомкнуты) от величины напряжения (U) на его обмотке.

Рисунок 11.5 – Электромагнитное реле
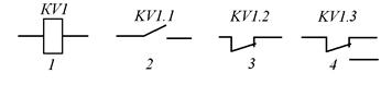
Параметрами реле являются значения напряжения (тока) срабатывания и отпускания. Вследствие явления магнитного гистерезиса значения напряжения отпускания (U отп) всегда меньше напряжения срабатывания (U cp). По роду тока в обмотке различают электромагнитные реле постоянного и переменного тока. Условное обозначение электромагнитных реле на принципиальных схемах показано на рисунке 11.6.

Рисунок 11.6 – Условное обозначение электромагнитного реле на схемах
На принципиальных схемах изображают катушку KV1 реле и его контакты: KV1.1 – замыкающий; KV1.2 – размыкающий; KV1.3 – переключающий, при этом все детали реле (катушки и контакты) обозначаются одинаковыми буквенно-цифровыми обозначениями.
Контакторы – это двухпозиционный коммутационный аппарат с самовозвратом, предназначенный для частых коммутаций токов, не превышающих токов перегрузки, и приводимый в действие приводом. Бывают контакторы постоянного и переменного тока. Коммутируемый ток до 1000 А при напряжение 660 В.
|
|
|
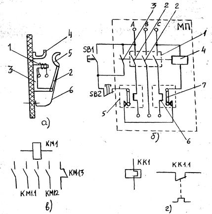
На рисунке 11.7 показана схема одного полюса контактора.

Рисунок 11.7 – Схема контактора (а), принципиальная схема подключения магнитного пускателя (б), условное обозначение контактора и магнитного пускателя (в), теплового реле (г)
При подаче тока в катушку 1 контактора якорь 2 притягивается к сердечнику 3 электромагнита и замыкает контакты 4 и 5. Ток коммутируемой цепи подводится к неподвижному контакту 4, а затем через контакт 5 и пружинящий токопровод 6 идет к потребителю. Если отключить катушку 1 от сети, то контактор разомкнет контакты 4 и 5 под действием пружины и всех подвижных частей. При размыкании контактов 4 и 5 возникает электрическая дуга, вызывающая разрушение контактов. Для быстрого погашения дуги контакты снабжаются дугогасительными устройствами.
Кроме главных контактов 4 и 5 контактор имеет блок-контакты, которые используются в цепях управления.
Условное обозначение трехполюсного контактора на принципиальных схемах показано на рисунке 11.7 в:
Ø КМ1 – катушка контактора;
Ø КМ1.1 – главные (силовые) контакты контакторов;
Ø КМ1.2, КМ1.3 – замыкающий и размыкающий блок-контакты контактора.
Магнитный пускатель используется для дистанционного автоматического включения и отключения электрических цепей мощностью до 75 кВт.
Он состоит из трехполюсной силовой группы контактов 2, вспомогательных контактов 3 и электромагнитной катушки с сердечником 4. Пускатели могут комплектоваться тепловыми реле 5 включающими в себя нагревательные элементы 6 и биметаллические пластины 7 (рисунок 11.7 б).
Для управления магнитный пускатель дополняют кнопочной станцией, состоящей из кнопки пуска SB1 и кнопки стопа SB2.
При нажатии кнопки SB1, на катушку 4 подается напряжение, образовавшееся магнитное поле притягивает и замыкает главные контакты 2 и блок контакт 3, шунтирующий пусковую кнопку.
|
|
|
Благодаря этому катушка 4 остается подключенной к напряжению сети при отпускании кнопки SB1. Дистанционное отключение магнитного пускателя выполняют кнопкой SB2, которая размыкает цепь катушки 4.
При токовых перегрузках биметаллические пластинки 7 нагреваются и изгибаясь своими контактами размыкают цепь питания катушки 4 и магнитный пускатель отключается.
На электрических принципиальных схемах контакторы и магнитные пускатели обозначаются одинаково. Катушка обозначается КМ1, главные контакты КМ1.1 и вспомогательные КМ1.2 и КМ1.3 (рисунок 11.7 в).
Условное обозначение теплового реле на принципиальной схеме приведено на рисунке 11.7 г, где КК1 – нагревательные элементы, КК1.1 – контакт теплового реле, возвращаемый в исходное положение вручную.
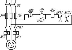
Принципиальной схемой называется схема, отображающая все элементы схемы управления, связи между элементами и дающая детальное представление о принципе работы системы управления.
На рисунке 11.8 приведена схема управления нереверсивным асинхронным электродвигателем. При нажатии кнопки SB1 замыкается цепь питания обмотки магнитного пускателя КМ1. При срабатывании пускателя замыкаются контакты КМ1.1 и КМ 1.2 и последний шунтирует кнопку SB1. Отключение двигателя производится нажатием кнопки SB2,разрывающей цепь питания обмотки пускателя.
Блок-контакт КМ1.2 обеспечивает защиту двигателя от повторного самозапуска при исчезновении и восстановлении напряжения сети.
Защита двигателя от перегрузок осуществляется тепловыми реле, нагревательные элементы КК1 и КК2 которых включены в две фазы статора двигателя, а контакты КК1.1 и КК2.1 в цепь питания обмотки пускателя.
Для запуска электродвигателя, отключенного с помощью теплового реле, необходимо вручную вернуть контакты реле в исходное положение, причем возврат контактов возможен только через промежуток времени, необходимый для остывания реле после отключения.
Защита электродвигателя и цепи управления от коротких замыканий осуществляется с помощью предохранителей.

Рисунок 11.8 – Схема управления нереверсивным асинхронным электродвигателем с короткозамкнутым ротором
Внедрение автоматизации технологических процессов неразрывно связано с созданием электрических схем управления агрегатами.
При разработке принципиальных схем систем управления необходимо руководствоваться следующими требованиями:
1) наряду с автоматическим управлением агрегатами обязательно наличие ручного управления ими;
2) выбор режима управления (ручной, автоматический) должен производиться специально предназначенным для этого переключателем;
3) схема системы управления должна обеспечивать сигнализацию о работе агрегатов и защиту агрегатов от анормальных режимов работы.