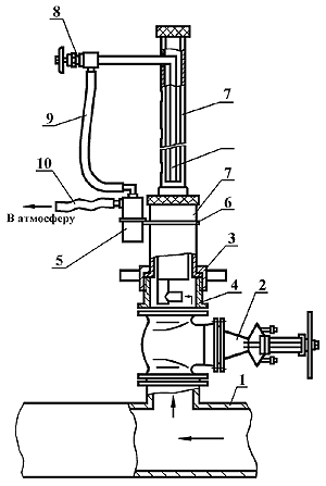
| Схема подключения к трубопроводу устройства ИКЖ-2 |
1 - трубопровод; 2 - задвижка Dy 50; 3 - гайка; 4 - фланцевый переходник; 5 - газовый счетчик; 6 - проушина; 7 - лубрикатор; 8 - регулятор расхода; 9, 10 - шланги. |
Идеальной сепарации не бывает. Поэтому выделяющийся в сепараторах газ всегда содержит какое-то количество капельной жидкости.
Наличие капельной жидкости влияет на работу компрессоров, установок осушки газа, расходомеров объемных и массовых, холодильных агрегатов, форсунок газовых факелов и печей.
Уносимая с газом капельная нефть включается в ее общие потери.
Измерения капельной жидкости производятся в соответствии с РД 39-0147103-352-89 "Методическое руководство по исследованию сепарационных установок" с применением пробозаборного устройства ИКЖ-2 и аналитических весов. Суть метода измерения сводится к определению веса фильтрующего элемента до и после пропускания через него определенного количества газа.
В настоящее время совместно с ОАО "Сургутнефтегаз" ведется разработка МВИ "Определение содержания
капельной жидкости в потоке газа".
1 - трубопровод; 2 - задвижка Dy 50; 3 - гайка; 4 - фланцевый переходник; 5 - газовый счетчик; 6 - проушина; 7 - лубрикатор; 8 - регулятор расхода; 9, 10 - шланги. 





