СХЕМЫ КРЕПЛЕНИЯ АВИАЦИОННЫХ ДВИГАТЕЛЕЙ К САМОЛЕТУ
|
I.. .4, 8...10 - основные стержни; 5...7 - вспомогательные стержни;
II, 12 - шпангоуты гондолы двигателя
Одновальный турбореактивный двигатель
|
1 - кронштейн для двух верхних подвесок; 2, 4 - кронштейны для подъема двигателя; 3 - кронштейны для боковых подвесок; 5 - кронштейн для двойной подвески
Двухконтурный турбореактивный двигатель
|
|
1 - двигатель; 2, 3, 8 - боковые верхние и нижние подкосы; 4 - подкос-демпфер; 5 - лонжерон центроплана крыла; 6 - силовая ферма; 7 - противопожарная перегородка
Турбовинтовой двигатель
1 - двигатели; 2 - редуктор; 3 - стойки крепления двигателя в передней его части; 4 - приспособление для удержания двигателя при снятии редуктора с вертолета; 5 - сферическая опора редуктора для крепления двигателя в передней его части; 6 - подкосы рамы крепления редуктора
Турбовальный двигатель
|
1, 6, 8 - болты; 2 - передние боковые кронштейны; 3 - верхний узел крепления; 4 - задние боковые кронштейны; 5 - опоры форсажной камеры; 7 - кронштейны
|
|
|
Двухзальный турбореактивный двигатель с форсажной камерой
приложение
КОНСТРУКТИВНЫЕ СХЕМЫ НАЗЕМНЫХ ГАЗОТУРБИННЫХ УСТАНОВОК
ТО 11 12 13 Ш 15 16 17 18 19 20 21
36 35 ЗЬ 33 32 31 30 29 28 27
|
1 - главный масляный насос; 2 - валоповоротное устройство; 3 - опорно-упорный вкладыш; 4 - хвостовик вала; 5 - входной патрубок; 6
- направляющий лопаточный аппарат; 7 - рабочие лопатки; 8 - корпус (средняя часть); 9 - ротор турбокомпрессора; 10 - трубопровод охлаждения; 11 - корпус турбины; 12 - опорный вкладыш; 13 - диафрагма с уплотнением; 14 - диск и рабочи лопатки компрессорной турбины; 15 - обойма с направляющими лопатками; 16 - диск и рабочие лопатки силовой турбины; 17 - выходной диффузор; 18 - опорный вкладыш; 19 - вал ротора силовой турбины; 20 - выхлопной патрубок; 21 - декоративная обшивка; 22 - импеллер; 23 - корпус подшипников; 24 - зубчатая муфта; 25 - опорно-упорный вкладыш; 26 - рама; 27 - воздушный трубопровод; 28 - стяжка; 29 - шпонка; 30
- внутренний корпус; 31 - корпус опорного подшипника; 32 - изоляция; 33 - корпус (напорный патрубок); 34 - камера сброса воздуха; 35
- смазочное масло; 36 - штифт (палец); 37 - ребро; 38 - корпус опорно-упорного подшипника
Турбоблок ГТК-10
|
1 - полумуфта; 2 - рабочее колесо; 3 - лопаточный диффузор; 4 - корпус; 5 - сборная камера; 6 - крышка; 7 - думмис; 8 - пакет ротора; 9 - гребень упорного подшипника
Центробежный нагнетатель типа 650-21
приложение
1 - аккумулятор масла; 2 - диффузор; 3 - уплотнение крышки колеса; 4 - корпус; 5 - улитка; 6 - крышка корпуса нагнетателя
|
Центробежный нагнетатель 520-11-1 Камера сгорания установки ГТ-6-750
|
|
|
|
1 - воздухоподводящая камера; 2, 6 - каналы для подвода охлаждающего воздуха; 3 - внутренний корпус; 4 - внешний корпус; 5 - изоляция; 7 - центробежное колесо; 8 - направляющие лопатки; 9 - рабочие лопатки
Турбины высокого и низкого давления установки ГТ-700-5
Имение
| ID |
СХЕМЫ РАКЕТНЫХ ДВИГАТЕЛЬНЫХ УСТАНОВОК
|
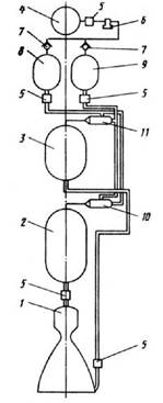
1 - камера; 2 - бак окислителя; 3 - бак горючего; 4 - баллон с газом; 5 - пускоотсечной клапан; 6 - газовый редуктор давления; 7 - обратный клапан; 8 - бак окислителя ЖГГ; 9 - бак горючего ЖГГ; 10 - ЖГГ наддува бака окислителя; 11 - ЖГГ наддува бака горючего
|
ЖРД: газобаллонная система подачи редукторного типа (слева) и вытеснительная подача топлива на двухкомпонентных ЖГГ (справа)
|
1 - камера; 2 - бак окислите- 1 - камера; 2 - бак окислителя; 3 - бак горючего; 4 - баллон ля; 3 - бак горючего; 4 - баллон с газом; 5 - пускоотсечной кла- с газом; 5 - пускоотсечной клапан; 6 - газовый редуктор дав- пан; 6 - газовый редуктор давления; 7 - обратный клапан; 8 ления; 7 - обратный клапан; 8 - бак компонента газогенера- - ЖГГ; 9 - ТНА ции; 9 - ЖГГ; 10 - ТНА
|
ЖРД: насосная система подачи топлива без дожигания генераторного газа: с однокомпонентным ЖГГ (слева) и с двухкомпонентным ЖГГ (справа)
|
1 - бронирующие покрытия; 2 - корпус; 3 - ТЗП; 4 - сопло; 5 - сопловой вкладыш; 6 - топливо; 7 - воспламенитель
|
Ракетный двигатель на твердом топливе
|
1 - камера; 2 - бак окислителя; 3 - бак горючего; 4 - пиростартер; 5 - пускоотсечной клапан; 6 - газовый редуктор давления; 7 - ЖГГ наддува бака горючего; 8 - ЖГГ; 9 - ТНА; 10 - смеситель
ЖРД: насосная система подачи топлива с дожиганием генераторного газа
1 - воспламенитель; 2 - топливный заряд; 3 - корпус; 4 - ТЗП; 5 сопло; 6 - узел крепления двигателя
Типичный сферический ракетный двигатель на твердом топливе
36 35 ЗЬ 33 32 31 30 29 28 27
1 - аккумулятор масла; 2 - диффузор; 3 - уплотнение крышки колеса; 4 - корпус; 5 - улитка; 6 - крышка корпуса нагнетателя






