В электромеханической системе усилительно-преобразовательные устройства на основе тиристоров служат в качестве управляемых преобразователей-усилителей напряжения, а также мощности переменного и постоянного тока. Разница между управляемыми и неуправляемыми выпрямителями заключается в том, что в управляемых переключение фаз выпрямления осуществляется не в момент равенства фазных ЭДС, а несколько позже, с некоторым углом запаздывания или углом управления α, который можно изменять. Для регулирования среднего значения выходного напряжения используют однофазные и многофазные схемы.
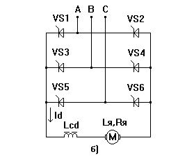
В промышленных сетях питание приводов осуществляется от трехфазной системы с частотой переменного тока 50 Гц. Для этого варианта подходит трехфазная мостовая схема для управления двигателем постоянного тока (рис. 3). Её и возьмем за основу, и для нее осуществляем расчеты.

Рисунок 3. Трехфазная мостовая схема включения тиристоров






