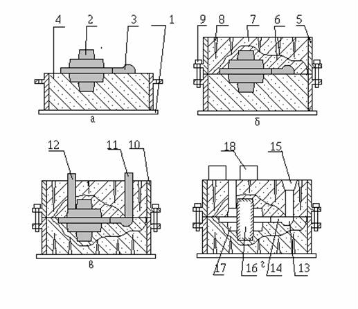
При малой серии изготовления отливок по неразъемным моделям со сложной поверхностью применяют формовку с фальшивой опокой. Фальшивую опоку изготавливают из обычной формовочной смеси и она используется только на стадии изготовления формы и не идет на сборку. Формовку ведут в следующей последовательности:
1) Установить опоку на модельную плиту линией разъема вверх.
2) Опоку заполнить наполнительной формовочной смесью и уплотнить.
3) В заформованной опоке сделать углубления под выступающие части модели (назначение фальшивой опоки состоит в том, чтобы образовать фасонную линию разъема).
4) Установить модель соответствующей поверхностью в фальшивую опоку (рис. 10.4, а).
5) На фальшивую опоку с моделью установить нижнюю опоку.
6) Изготовить нижнюю полуформу в соответствии с пп. 3…10 (подразд. 10.3.1) (рис. 10.4, б).
7) Заформованную полуформу вместе с плитой и фальшивой опокой перевернуть на 180°.
8) Снять и разрушить фальшивую опоку.
9) Технологический процесс изготовления литейной формы завершить согласно пп. 12…27 (подразд. 2.1) (рис. 10.4, в, г).

1 - модельная плита; 2 - модель отливки; 3 - модель питателя; 4 - фальшивая опока; 5 - нижняя опока; 6 - облицовочная формовочная смесь; 7 - наполнительная формовочная смесь; 8 -вентиляционные наколы; 9 - центрирующий штырь; 10 - верхняя опока; 11 - модель стояка; 12 - модель выпора; 13 - зумпф; 14 - питатель;
15 - литниковая воронка; 16 - стержень; 17 - полость литейной формы; 18 – груз.
Рисунок 10.4 - Схема формовки в опоках по неразъемной модели с
фальшивой опокой