При формовке в опоках по неразъемной модели, не имеющей плоскости, пригодной для укладки модели (относительно плоскости разъема опок), применяют формовку с подрезкой. Подрезку применяют только при ручной формовке, т.к. это длительная операция, требующая навыка. Подрезка может быть местной, т.е. в одном месте формы, или вокруг всей модели.
Изготовление форм этим методом производится в следующей последовательности:
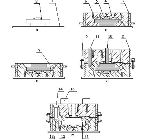
1) На модельную плиту установить модель наиболее развитой плоской поверхностью, обращенной к модельной плите (рис. 10.3, а).
2) Изготовить нижнюю полуформу в последовательности, предусмотренной пп. 2…11 (см. разд. 10.3.1 Формовка по неразъемной модели) (рис. 10.3, б).
3) Произвести подрезку, для чего удалить формовочную смесь из тех частей формы, которые мешают извлечению модели (рис. 10.3, в).
4) Поверхность разъема нижней полуформы, в том числе и поверхность подрезки, загладить, посыпать сухим разделительным песком или серебристым графитом.
5) Технологический процесс изготовления литейной формы завершить согласно пп. 12…27 (см. разд. 10.3.1 Формовка по неразъемной модели) (рис. 10.3, д).

1 - модельная плита; 2 - нижняя часть модели; 3 - нижняя опока; 4 - облицовочная формовочная смесь; 5 - наполнительная формовочная смесь; 6 - вентиляционные наколы; 7 - верхняя часть модели; 8 - верхняя опока; 9 - центрирующий штырь;
10 - модель выпора; 11 - модель стояка; 12 - питатель; 13 - зумпф; 14 – литниковая воронка; 15 - стержень, 16 - полость литейной формы; 17 - груз.
Рисунок 10.2 - Схема формовки в опоках по разъемной модели с плоской
поверхностью разъема

1 - модельная плита; 2 - модель; 3 - нижняя опока; 4 - облицовочная формовочная смесь; 5 - наполнительная формовочная смесь; 6 – вентиляционные наколы; 7 - поверхность разъема формы после подрезки; 8 - верхняя опока, 9 - центрирующий штырь; 10 - модель выпора; 11 - модель стояка; 12 - питатель; 13 - зумпф;
14 - литниковая воронка; 15 - полость литейной формы; 16 - груз
Рисунок 10.3 - Схема формовки в опоках по неразъемной модели с подрезкой






