Глава 12
Подшипники служат опорами для валов и вращающихся осей. Они воспринимают радиальные и осевые нагрузки, приложенные к валу, и сохраняют заданное положение оси вращения вала. Во избежание снижения к. п. д. механизма потери в подшипниках должны быть минимальными. От качества подшипников в значительной степени зависят работоспособность и долговечность машин.
Подшипники классифицируют по виду трения и воспринимаемой нагрузке. По виду трения различают: подшипники скольжения, у которых опорный участок вала скользит по поверхности подшипника; подшипники качения, у которых трение скольжения заменяют трением качения посредством установки шариков или роликов между опорными поверхностями подшипника и вала. По воспринимаемой нагрузке различают подшипники: радиальные — воспринимают радиальные нагрузки; упорные — воспринимают осевые нагрузки; радиально-упорные — воспринимают радиальные и осевые нагрузки.
Все типы подшипников широко распространены.
Общие сведения о подшипниках скольжения
|
|
|
• Опорный участок вала называют цапфой. Форма рабочей поверхности подшипника скольжения так же, как и форма цапфы вала, гложет быть цилиндрической (рис. 12.1, а), плоской (рис. 12.1, 6),
конической (рис. 12.1, в) или шаровой (рис. 12.1, г).
Рис. 12.1
Цапфу, передающую радиальную нагрузку, называют шипом, если она расположена на конце вала, и шейкой при расположении в середине вала. Цапфу, передающую осевую нагрузку, называют пятой, а опору (подшипник) — подпятником.
Подпятники работают обычно в паре с радиальными подшипниками (рис. 12.1, б). Большинство радиальных подшипников (рис. 12.1, а) может воспринимать также и небольшие осевые нагрузки (фиксируют вал в осевом направлении). Для этого вал изготовляют ступенчатым с галтелями, а кромки подшипника закругляют. Подшипники с конической поверхностью (рис. 12.1, в) применяют редко. Их используют при небольших нагрузках в тех случаях, когда необходимо систематически устранять зазор от износа подшипника с целью сохранения точности механизма. Для этого на валу устанавливают коническую втулку, положение которой регулируют гайками. Также редко применяют и шаровые подшипники. Эти подшипники допускают перекос оси вала, т. е. обладают свойством самоустановки. Их применяют преимущественно как шарниры в рычажных механизмах с периодическим поворотом в пределах ограниченных углов.
При правильной конструкции и смазке подшипники скольжения могут нести большие нагрузки при высокой частоте вращения. Они имеют малые радиальные размеры и массу; изготовление их не требует специального оборудования.
|
|
|
Подшипники скольжения легко могут быть выполнены разъемными, что облегчает монтаж и делает их почти единственно возможной формой опор для коренных и шатунных шеек многоколенных валов и в других случаях, когда применение неразъемных подшипников качения невозможно или затруднительно.
Большим преимуществом подшипников скольжения являются бесшумность и высокая демпфирующая способность при воздействии циклических и ударных нагрузок.
Долговечность подшипников скольжения не зависит от частоты вращения (в отличие от подшипников качения, долговечность которых снижается пропорционально повышению частоты вращения).
Коэффициент трения правильно рассчитанных и работающих в условиях жидкостной смазки подшипников скольжения равен 0,001—0,005. Однако, при неблагоприятных условиях (высокая вязкость масла, большие окружные скорости, малые зазоры) коэффициент трения возрастает до 0,01—0,03. У подшипников, работающих при полусухом трении, коэффициент f, достигает значений 0,1-0,2.
Вследствие загустевания масла при низких температурах пусковой момент у подшипников скольжения имеет повышенное значение. Недостаток этот особенно ощутим в машинах со скользящими главными oпopaми и работающих на открытом воздухе, которые приходится запускать при минусовых температурах.
Тяжелонагруженные и работающие при высокой частоте вращения подшипники нуждаются в непрерывном подводе масла под давлением для поддержания режима жидкостной смазки и отвода тепла, выделяющегося при трении.
Для подшипников малооборотных валов, работающих при небольших нагрузках, достаточна периодическая подача жидкой или консистентной смазки. В таких случаях нередко применяют самосмазывающиеся подшипники, которые могут работать продолжительное время без подвода смазки.
Вращению цапфы в подшипнике противодействует момент сил трения. Работа трения нагревает подшипник и цапфу. От поверхности трения теплота отводится через корпус подшипника и вал, а также уносится смазывающей жидкостью. Для любого установившегося режима работы подшипника существует тепловое равновесие: теплоотдача равна тепловыделению. При этом устанавливается определенная температура. Чем больше тепловыделение и хуже условия теплоотдачи, тем выше температура теплового равновесия. Эта температура не должна превышать некоторого предельного значения, допускаемого для данного материала подшипника и сорта смазки. С повышением температуры понижается вязкость масла и увеличивается вероятность заедания цапфы в подшипнике. В конечном результате заедание приводит к выплавлению вкладыша. Перегрев подшипника является основной причиной его разрушения.
Работа подшипника сопровождается износом вкладыша и цапфы, что нарушает правильную работу механизма и самого подшипника. Абразивный износ возникает вследствие попадания со смазкой абразивных частиц и неизбежного полусухого трения при пуске и останове.
В обычных конструкциях подшипников скольжения в результате износа вкладыш принимает овальную форму. Для устранения этого недостатка в отдельных случаях применяют обращенную подшипниковую пару, в которой цапфу выполняют из антифрикционного материала, а вкладыш — из малоуглеродистой стали с последующей цементацией и закалкой. В этом случае цапфа изнашивается равномерно, сохраняя длительное время цилиндрическую форму, а вкладыш — незначительно. В обращенных подшипниковых парах антифрикционный материал на цапфы наносят наплавкой, металлизацией, напрессовкой гильз и т. п.
Если износ превышает норму, то подшипник бракуют. Интенсивность износа, связанная также с работой трения, определяет долговечность подшипника.
При действии переменных нагрузок (например, в поршневых двигателях) поверхность вкладыша может выкрашиваться вследствие усталости. Усталостное выкрашивание свойственно подшипникам с малым износом и наблюдается сравнительно редко. В случае действия больших кратковременных перегрузок ударного характера вкладыши подшипников могут хрупко разрушаться. Хрупкому разрушению подвержены малопрочные антифрикционные материалы, такие, как баббиты и некоторые пластмассы.
|
|
|
Усталостное выкрашивание поверхности вкладышей происходит редко и встречается при пульсирующих нагрузках (в поршневых двигателях и т. п.).
Трение в подшипниках скольжения
В подшипниках скольжения может быть полусухое, полужидкостное и жидкостное трение, переходящее последовательно одно в другое по мере возрастания угловой скорости вала от нуля до определенной величины. Вращающийся вал увлекает смазку в клиновой зазор между цапфой и вкладышем и создает гидродинамическую подъемную силу, вследствие которой цапфа всплывает по мере увеличения скорости (рис. 12.4). В период пуска, когда скорость скольжения мала, большая часть поверхности трения не разделена смазкой и трение будет полусухое.
При увеличении скорости цапфа всплывает и толщина смазывающего слоя увеличивается, но отдельные выступы трущихся поверхностей остаются не разделенными смазкой. Трение в этом случае будет полужидкостное.
При дальнейшем возрастании угловой скорости и соблюдении определенных условий (см. ниже,) появляется сплошной устойчивый слой смазки, полностью разделяющий шероховатости поверхностей трения. Возникает жидкостное трение, при котором износ и заедание отсутствуют.
При жидкостном трении рабочие поверхности вала и вкладыша разделены слоем масла, толщина h которого больше суммы высот Rz шероховатостей поверхностей (на рис. 12.2 разделяющий слой масла изображен толстой линией):
h > Rz1 + Rz2. (12.1)
При этом условии масло воспринимает внешнюю нагрузку, предотвращая непосредственное соприкасание рабочих поверхностей,
т.е. их износ. Сопротивление движению в этом случае определяется только внутренним трением в смазочной жидкости. Значение коэффициента жидкостного трения находится в пределах 0,001...0,005 (что может быть меньше коэффициента трения качения).
|
|
|
Рис. 12.2
При полужидкостном трении условие (12.1) не соблюдается, в подшипнике будет смешанное трение — одновременно жидкостное и граничное. Граничным называют трение, при котором трущиеся поверхности покрыты тончайшей пленкой смазки, образовавшейся в результате действия молекулярных сил и химических реакций активных молекул смазки и материала вкладыша. Способность смазки к образованию граничных пленок (адсорбции) называют маслянистостью (липкостью, смачиваемостью). Граничные пленки устойчивы и выдерживают большие давления. Однако в местах сосредоточенного давления они разрушаются, происходит соприкасание чистых поверхностей металлов, их схватывание и отрыв частиц материала при относительном движении. Полужидкостнов трение сопровождается износом трущихся поверхностей даже без попадания внешних абразивных частиц. Значение коэффициента полужидкостного трения зависит не только от качества масла, но также и от материала трущихся поверхностей. Для распространенных антифрикционных материалов коэффициент полужидкостного трения равен 0,01...0,1.
Для работы подшипника самым благоприятным режимом является режим жидкостного трения. Образование режима жидкостного трения является основным критерием расчета большинства подшипников
скольжения. При этом одновременно обеспечивается работоспособность по критериям износа и заедания.
Рис. 12.3. Образование жидкостного трения.
Исследование режима жидкостного трения в подшипниках основано на гидродинамической теории смазки. Эта теория базируется на решениях дифференциальных уравнений гидродинамики вязкой жидкости, которые связывают давление, скорость и сопротивление вязкому сдвигу. Теоретические решения довольно сложны и излагаются в специальной литературе. В данном пособии даны принципиальные понятия о режиме жидкостного трения и методика практического расчета подшипников без вывода основных расчетных зависимостей.
На рис. 12.3 показаны две пластины А и Б, залитые маслом и нагруженные силой F. Пластина А движется относительно пластины Б со скоростью v. Если скорость v мала (рис. 12.2, а), то пластина А выжимает смазку с пластины Б. Поверхности пластин непосредственно соприкасаются. При этом образуется полужидкостное трение.
При достаточно большой скорости v (рис. 12.3, б) пластина А поднимается в масляном слое и принимает наклонное положение, подобно тому, как поднимается глиссер или водные лыжи, скользящие по воде.
Между пластинами образуется сужающийся зазор. Вязкое и липкое масло непрерывно нагнетается в этот зазор. Протекание масла через сужающийся зазор сопровождается образованием давления р (рис. 12.3, б), которое уравновешивает внешнюю нагрузку. В этом случае движение продолжается в условиях жидкостного трения. Переход к режиму жидкостного трения происходит при некоторой скорости, называемой критической vкр.
Гидродинамическая теория смазки доказывает, что гидродинамическое давление может развиваться только в сужающемся зазоре, - который принято называть клиновым. В нашем примере начальный клиновый зазор образуется с помощью скошенной кромки пластины А. Если конструкция подшипника не имеет клинового зазора, то в подшипнике не может образоваться жидкостное трение. Например, простой плоский подпятник (см. рис. 12.1, б) не имеет клинового зазора и не может работать при жидкостном трении. Для образования клинового зазора, а следовательно, и условий жидкостного трения опорной поверхности подпятника придают специальную форму (см. рис. 12.20).
В радиальных подшипниках клиновая форма зазора свойственна самой конструкции подшипника. Она образуется за счет смещения центров цапфы вала и вкладыша (рис. 12.4, а).
Рисунок 12.4. Положение вала в радиальном подшипнике
При угловой скорости ω > ωкр цапфа всплывает в масле и несколько смещается в сторону вращения по траектории, указанной на рис. 12.4, б. На рис. 12.4, а, б:
1 — клиновой зазор; 2 — путь центра цапфы при увеличении скорости вращения; 3 — эпюра давления в масленом слое; 4 — линия центров. С увеличением угловой скорости увеличивается толщина разделяющего масляного слоя hmin, а центр цапфы сближается с центром вкладыша. При ω
расстояние между центрами
. Полного совпадения центров быть не может, так как при этом нарушается клиновая форма зазора, как одно из условий режима жидкостного трения.
Исследования показывают, что для подшипников с определенными геометрическими параметрами толщина масляного слоя является некоторой функцией характеристики рабочего режима подшипника
, (12.2)
где
— характеристика рабочего режима подшипника;
—динамическая вязкость масла (характеризует сопротивление относительному сдвигу слоев масла);
— угловая скорость цапфы; p=Fr/(ld) — условное давление в подшипнике.
Характер функциональной зависимости (12.2) рассмотрен ниже. Здесь отметим только, что толщина масляного слоя возрастает с увеличением вязкости масла и угловой скорости цапфы. С увеличением нагрузки толщина масляного слоя уменьшается.
Таким образом, для образования режима жидкостного трения необходимо соблюдать следующие основные условия: 1) между скользящими поверхностями должен быть зазор клиновой формы; 2) масло соответствующей вязкости должно непрерывно заполнять зазор; 3) скорость относительного движения поверхностей должна быть достаточной для того, чтобы в масляном слое создалось давление, способное уравновесить внешнюю нагрузку.
Известно, что все жидкости и газы обладают вязкостью. Это значит, что при определенных условиях в качестве смазывающей жидкости можно применять воду и даже воздух, что и используют на практике.
Режим жидкостного трения нарушается, если значения
и р выходят за допускаемые пределы (например, в периоды пусков и остановов). При переменных режимах нагрузки меняется
, а следовательно, и положение оси вала. Это может служить причиной вибраций. Достоинства подшипников скольжения по сравнению с подшипниками качения снижаются при переменных режимах нагрузки, частых пусках и остановах.
Практический расчет подшипников скольжения
Расчет подшипников, работающих при полужидкостном трении.
К таким подшипникам относятся подшипники грубых тихоходных механизмов, машин с частыми пусками и остановками, неустановившимся режимом нагрузки, плохими условиями подвода смазки и т. п. Эти подшипники рассчитывают:
а) по условному давлению — подшипники тихоходные, работающие
кратковременно с перерывами:
p=Fr/(ld)
, (12.3)
б) по произведению давления на скорость — подшипники средней быстроходности:
, (12.4)
где Fr — радиальная нагрузка на подшипник; d — диаметр цапфы (вала); l — длина подшипника; v — окружная скорость цапфы.
Расчет по [pv ] в приближенной форме предупреждает интенсивный износ, перегрев и заедание. Допускаемые значения [р ] и [ pv ], определенные из опыта эксплуатации подобных конструкций, приведены в табл. 12.1.
Таблица 12.1
| Материал вкладыша | v м/с | [р], МПа | [рv], МПа м/с |
| Чугун серый СЧ-Зб | 0,5 | - | |
| 1,0 | — | ||
| Чугун антифрикционный: | |||
| АКЧ-1 | 0,5 | 2,5 | |
| АКЧ-2 | |||
| Бронза: | |||
| БрОФ10-1 | |||
| БрАЖ9-4 | |||
| Латунь ЛКС80-3-3 | |||
| Баббит: | |||
| Б16 | |||
| Б6 | |||
| Металлокерамика: | |||
| бронзографит | — | ||
| железографит | 5,5 | — | |
| Полиамидные пластмассы — капрон АК-7 | |||
| Пластифицированная древесина (смазка водой) | — | ||
| Резина (смазка водой) | 2...6 | — |
Расчет радиальных подшипников жидкостного трения. Решение уравнений гидродинамики в приложении к радиальным подшипникам позволило получить зависимость для нагрузки подшипника:
, (12.5)
где
— угловая скорость цапфы;
— относительный зазор в подшипнике (см. рис. 12.5); Фр — безразмерный коэффициент нагруженности подшипника.
Из формулы (12.5)
Фр =
=
. (12.6)
Значение Фр зависит от относительного эксцентриситета
(см. ниже) и относительной длину подшипника l/d. Функциональная зависимость представлена графиком — рис. 12.6.
Относительный эксцентриситет
= e/(0,5S) (см. рис. 12.5, б) определяет положение цапфы в подшипнике при режиме жидкостного трения. Нетрудно установить, что толщина масляного слоя связана с относительным эксцентриситетом следующей зависимостью:
= (0,55 - е) = 0,55 (1-
). (12.7)
При расчете подшипника обычно известны: диаметр цапфы d, нагрузка Fr и частота вращения п (или
). Определяют длину подшипника l, зазор S, сорт масла (
). Большинством из известных параметров задаются, основываясь на рекомендациях, выработанных практикой, и затем проверяют запас надежности подшипника по режиму жидкостного трения. В таком случае можно предложить следующий порядок расчета:
1. Задаются отношением l/d. Распространенные значения l/d = 0,5...1. Короткие подшипники (l /d<0,4) обладают малой грузоподъемностью (см. рис. 12.6). Длинные подшипники (l/d>1) требуют повышенной точности и жестких валов. В противном случае увеличение вредного влияния монтажных перекосов и деформаций не может компенсироваться уменьшением условного давления в подшипнике [p=Fr/(ld)]. При выборе l/d учитывают также и конструктивные особенности (габариты, массу и пр.). Выбранное значение l/d проверяют по допускаемым [ р ] и [pv] — формулы (12.3) и (12.4). Эта проверка предупреждает возможность заедания и повышенного износа в случаях кратковременных нарушений жидкостного трения (пуски, перебои в нагрузке, подаче смазки и т. п.).
2. Выбирают относительный зазор. При этом используют частные рекомендации для аналогичных конструкций или эмпирическую формулу, по которой среднее значение относительного зазора
, (12.8)
где v — окружная скорость цапфы.
Для валов сравнительно малых диаметров (до 250 мм) зазор желательно согласовать с одной из стандартных посадок (обычно Н7/f7, H9/e8, H7/e8, H9/d9). По формулам (12.5) и (12.6) можно судить, что значение относительного зазора
существенно влияет на нагрузочную работу подшипника.

Рис. 12.6
Рис. 12.5
3. Вязкость масел и области их применения установлены ГОСТом. При этом учитывают практику эксплуатации подобных машин. График зависимости вязкости масла от температуры для наиболее распространенных сортов масел, применяемых в подшипниках скольжения, изображен на рис. 12.6 (1, 2, 3 и 4 — индустриальные масла марок 45, 30, 20 и 12; 5 — турбинное масло марки 22).
Среднюю рабочую температуру масла обычно выбирают в пределах
=45...75°С. По tcp и графику рис. 12.6 определяют среднюю расчетную вязкость масла [
].
4. Подсчитывают коэффициент нагруженности подшипника по формуле (12.6) и по графику (см. рис. 12.2) определяют %. Затем по формуле (12.7) определяют hmin.
5. Определяют критическое значение толщины масляного слоя, при которой нарушается режим жидкостного трения, см. условие (12.1):
(12.9)
Шероховатости поверхностей Rz1 и Rz2 [см. рис. 12.2 и условие (12.1)] принимают по ГОСТ 2789—89 в пределах 6,3...0,2 мкм. Рекомендуют цапфу обрабатывать не ниже Rz = 1,6, а вкладыши не ниже Rz = 3,2 мкм.
6. Определяют коэффициент запаса надежности подшипника по толщине масляного слоя
(12.10)
Коэффициент запаса надежности учитывает возможные отклонения расчетных условий от эксплуатационных (по точности изготовления, нагрузке, температурному режиму и т. д.).
На этом заканчивается приближенный расчет подшипника. В этом расчете температура масла выбрана ориентировочно. Фактическая температура может быть другой, другой будет и вязкость масла, а следовательно, и грузоподъемность подшипника или толщина масляного слоя hmin, см. рис. 12.2 и формулу (12.6). Неточности приближенного расчета компенсируют повышенными значениями коэффициента запаса, принятого в формуле (12.10), и выбором способа смазки на основе следующих опытных рекомендаций:
при
достаточна кольцевая смазка без охлаждения подшипника; при
допустима кольцевая смазка, но при условии охлаждения корпуса или масла в корпусе; при
необходима циркуляционная смазка под давлением. В наиболее ответственных случаях расчет режимажидкостного трения дополняют тепловым расчетом режима смазки.
Пример расчета. Радиальный подшипник скольжения должен работать с жидкостным трением в период установившегося режима нагрузки. Дано-d=100мм, Fr=10 000H, n =1000 мин -1.
Решение. 1. По рекомендации к формуле (12.6) принимаем l/d = 0,8. Находим:
l = 80мм; v = 
p = Fr/(dl)= 10 000/(100*80) = 1,25МПа; pv = 1,25*5,24 = 6,5 МПа*м/с.
По табл. 12.1 назначаем материал вкладыша — сталь с заливкой баббитом Б16. При этом значения v, p и p*v лежат в допускаемых пределах, что позволяет работать без жидкостного трения в периоды пусков и кратковременных нарушений режима смазки.
2.По рекомендации (12.8) находим
При этом зазор S=
= 0.00128*100 = 0,128 мм.
Подбираем посадку, для которой S приближенно соответствует среднему значению зазора. Принимаем Н8/е8: вал d
, отверстие D
, зазоры Smin = 0.072мм, Smax = 0,180мм, средний Scp = 0,126мм.
3. Назначаем масло индустриальное 30 и среднюю температуру t = 60°С. По графику рис. 12.6 находим вязкость
.
4. Подсчитываем Фр =
,
где
.
По графику рис. 12.5 находим
. По формуле (12.7)
По формуле (12.9), принимая для вала
Rz1 = 0,003 мм и для вкладыша Rz2 = 0,003мм, находим 
По формуле (12.10)
. Аналогично выполняем расчёт при
и находим 
Жидкостное трение обеспечено во всем расчетном диапазоне зазоров.
5.Выбираем способ смазки и охлаждения — см. рекомендации к формуле (12.10);
— достаточна кольцевая смазка без охлаждения подшипника.
Конструкция и материалы подшипников скольжения
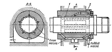
Конструкции подшипников скольжения весьма разнообразны. Во многом они зависят от конструкции машины, в которой устанавливайся подшипник. Рассмотрим принципиальные конструктивные различия подшипников скольжения. На рис.12.7 показан типовой разъёмный подшипник скольжения, размеры которого в зависимости от диаметра вала d, определены ГОСТом 11607 – 82. Вкладыш подшипника образуется двумя полувтулками, которые обрабатываются совместно.
Рис. 12.7
Иногда, с целью экономии дорогостоящих материалов, верхний и нижний вкладыш выполняют из различных антифрикционных материалов. Смазка в зону трения подводится через крышку корпуса, а также возможен подвод смазки через вращающийся вал. Подшипники воспринимают радиальную нагрузку и ограниченно (в зависимости от размера бурта вкладыша) 2х стороннюю осевую нагрузку. Плоскость разъёма желательно выполнять перпендикулярно плоскости приложения радиальной нагрузки и для выполнения этой задачи используют корпусы, у которых плоскость разъёма расположена под углом к опорной поверхности. При этом не нарушается непрерывность несущего масляного слоя. (рис.12.8).
Размеры неразъёмных подшипников аналогичной конструкции определены ГОСТом 11521-82.
Рис. 12.8
Неразъёмные подшипники воспринимают осевую нагрузку только одного направления (рис. 12.9. а).
|
Рис. 12.9. Различные корпусы неразъёмных подшипников
Если подшипник необходимо установить на плоскость перпендикулярную оси вала, то применяют корпусы, показанные на рис.12.9.
Очень часто подшипники не имеют специального корпуса. При этом вкладыши размещают непосредственно в станине или раме машины. Таково, например, большинство подшипников двигателей, турбин, станков, редукторов и т. д. Подшипники с отдельными корпусами устанавливают главным образом в таких устройствах, как конвейеры, грузоподъемные машины, трансмиссии и т. д. В этих случаях подшипники крепят на фермах, стенах, колоннах. Фиксирование вкладышей в корпусах выполняется самыми различными способами (табл. 12.2).
Таблица 12.2

В тех случаях, когда возможны большие деформации вала или монтаж выполняется неточно, рекомендуется выполнять самоустанавливающиеся подшипники. Сферическая поверхность этих подшипников позволяет им поворачиваться в направлении оси вала (рис.12.10).
Конструкции а со сферической опорой небольшой длины применяют при малых осевых нагрузках или при отсутствии их.
В конструкции б вся наружная поверхность подшипника выполнена по сфере; подшипник может нести наряду с радиальными довольно значительные осевые нагрузки в обоих направлениях.
При повышенных осевых нагрузках увеличивают диаметр сферы и длину подшипника, в результате чего опорные поверхности размещаются ближе к краям подшипника (вид в), средний угол их наклона к оси подшипника возрастает, а следовательно, увеличивается и способность нести осевые нагрузки.
Подшипники с полусферической опорной поверхностью (вид г), фиксируемые в гнезде корпуса пружинами, применяют при повышенной односторонней осевой нагрузке и незначительной радиальной.
Самоустанавливающиеся подшипники фиксируют от проворачивания стопорами, устанавливаемыми в корпусе (вид а) или в подшипнике (вид б). В стопорном устройстве должен быть предусмотрен зазор, допускающий самоустановку подшипника в необходимых пределах.
Опорные сферические поверхности подшипника и корпуса изготовляют из материалов, образующих антифрикционную пару. При установке в стальной корпус подшипник выполняют из бронзы или заливают его сферическую поверхность свинцовистой бронзой. При установке в чугунный корпус и корпус из легких сплавов подшипник делают стальным; твердость сферической поверхности должна быть >НRC 50.
Обязателен подвод смазки (желательно под давлением) к сферическим поверхностям. На поверхности сферы целесообразно проделывать частую сеть замкнутых масляных каналов, обеспечиваюших (при подаче масла под давлением) определенный гидростатический эффект, облегчающий самоустановку сферы.
Рис. 12.10. Самоустанавливающиеся подшипники
Монтаж сферических подшипников в корпусы с разъемом в меридианальной или экваториальной плоскостях не представляет затруднений. Установка в целые корпуса сложнее.
Короткие сферические подшипники устанавливают через проделанные в гнезде корпуса диаметрально противоположные пазы (рис. 12.11, а) длиной l несколько большей диаметра D сферы, и шириной b, несколько большей ширины подшипника. Подшипник вводят в пазы, повернув его на 90° по отношению к рабочему положению до упора в стенку сферического гнезда. После этого его поворачивают в рабочее положение, в результате чего он оказывается зафиксированным в осевом направлении стенками гнезда (вид б). От поворота подшипник фиксируют стопором. При большой длине подшипника сферические опорные поверхности выполняют в виде выступов, а в корпусе проделывают ответные пазы (вид в). Подшипник заводят в гнездо в рабочем положении (вид г), поворачивают в плоскости, перпендикулярной его оси, на угол, равный половине угла между выступами, и фиксируют в этом положении стопором (вид д).

Рис. 12.11. Установка сфер в целые корпуса.
Регулирование зазора или компенсация износа важны для подшипников точных машин, работающих в условиях переменного режима, для высокооборотных подшипников, а также для подшипников, работающих в условиях значительного износа. Регулирование разъемных подшипников достигают сближением между собой вкладышей (см. рис. 12.7) путем: а) уменьшения толщины прокладок между ними; б) снятия металла с поверхностей контакта крышки и корпуса.
В некоторых конструкциях, в которых нагрузка направлена только на неподвижный вкладыш, вкладыши могут не контактировать друг с другом по плоскости разъема. Тогда регулировку зазоров осуществляют винтами.
Регулирования неразъемных подшипников для валов с цилиндрическими цапфами достигают радиальным деформированием вкладышей (рис.12.12, а). Для этого вкладыши выполняют с конической наружной поверхностью и при помощи гайки перемещают в осевом направлении в коническом отверстии корпуса. Для облегчения деформирования вкладыш сжимается по трем образующим. Иногда он опирается по всей поверхности и снабжается прорезью.
Рис. 12.12. Регулирование зазора в подшипнике
Последняя допустима только для неответственных подшипников, так как приводит к искажению рабочей поверхности подшипника. Идея подшипника, изображенного на рис.12.12, а, заключается не только в тонком регулировании зазора, но и в создании тех местах по окружности суживающихся зазоров, а следовательно, трех масляных клиньев, которые обеспечивают хорошее центрирование вала и безвибрационную работу.
Для облегчения регулирования подшипников возможно выполнение цапф коническими. Регулирование таких подшипников осуществляют относительным осевым перемещением вкладыша и вала (рис. 12.12, б).
Применяют также автоматическое регулирование зазоров путем непрерывного гидравлического поджатия вкладыша поджатия с помощью пружины и т. д., например, в целях повышения виброустойчивости. Такое регулирование уместно только, если сила от вала направлена на неподвижный вкладыш.
Следует иметь в виду, что регулирование зазоров радиальным сближением вкладышей без дополнительной шабровки или расточки позволяет компенсировать износ только в направлении регулирования (перпендикулярном к плоскости разъема). Рабочая поверхность вкладыша сохраняет некруглую форму.
Регулирование неразъемных подшипников радиальным деформированием вкладыша и регулирование конических подшипников осевым перемещением вкладыша или вала приводит к равномерному уменьшению зазора, но форма изношенной поверхности в результате регулировки не выправляется. Поэтому при больших износах необходима дополнительная шабровка или расточка вкладышей.
Рис. 12.13. Подшипник с регулированием положения оси.
В некоторых тяжелых машинах подшипники должны позволять регулировку положения оси вала. В подшипнике паровой турбины (рис. 12.13) возможность регулировки достигается опорой вкладыша на специальные шпонки с регулируемыми подкладками.
Самовозбуждающиеся колебания валов в подшипниках возникают в быстроходных валах с малыми нагрузками на подшипники, т. е. в условиях работы при малых эксцентриситетах и малой жесткости масляного слоя. Первопричиной является то, что вал в подшипнике в связи с формой эпюры гидродинамического давления смещается под действием радиальной нагрузки не по направлению нагрузки, а под некоторым углом к пей. Между тем центробежная сила на вал направлена по смещению, поэтому она не может быть полностью уравновешена гидродинамическим давлением, и появляется неуравновешенная окружная составляющая. Когда встречаются неизбежные неровности на рабочих поверхностях цапфы вала и подшипника, вал выводится из равновесного положения, и под действием неуравновешенной составляющей центробежной силы возникает вихревое движение вала.
Этот вид колебаний, происходящих со скоростью, равной примерно половине скорости вращения, и возможных при любой скорости вращения вала, наблюдается у жестких уравновешенных роторов, в частности на аэродинамических подшипниках, и носит название полускоростного вихря.
Самовозбуждающиеся колебания весьма опасны в таких машинах, как паровые турбины, роторы которых вращаются с большими скоростями и имеют большие массы.
При работе с большими эксцентриситетами цапфы в подшипнике колебания не возникают.
Колебания в подшипниках предотвращают, обеспечивая работу подшипников с повышенными эксцентриситетами цапф.
Это достигается расточкой подшипников лимонной формы со смещением центров на величину, составляющую около 0,85 от величины зазора или применением многоклиновых подшипников, в частности с самоустанавливающимися подушками. В условиях значительной нагруженности более устойчивы двухклиновые (лимонные) подшипники, а при малой нагруженности — трехклиновые.
В обоих случаях возникает внутреннее нагружение подшипника вследствие образования дополнительных масляных клиньев.
При увеличении безразмерного коэффициента режима работы
Р
(т. е. с увеличением
и
или уменьшением р) шип в гладком цилиндрическом подшипнике всплывает все выше, относительный эксцентриситет
уменьшается, и при некотором его критическом значении порядка
возникают вибрации вала типа автоколебаний.
Для устранения их необходимо повысить демпфирующую способность смазочного слоя, что требует усложнения конструкции подшипника. Например, установка в подшипнике плавающей втулки (рис. 12.13)приводит к уменьшению угловой скорости шипа относительно втулки, причем сама втулка вращается относительно подшипника; благодаря этому относительный эксцентриситет шипа во втулке больше, чем в обычном подшипнике, и устойчивость вала может быть обеспечена даже при угловой скорости вала (абсолютной) порядка нескольких тысяч рад/сек.
Рис. 12.13. Подшипник с плавающей втулкой: а — схема; б — продольный разрез; 1 — плавающая втулка; 2 — шип; 3 — вкладыш
Другой способ повышения виброустойчивости, применяемый в подшипниках турбин с быстровращающимся валом, это получение эпюры гидродинамических давлений с двух сторон. Такая эпюра может быть получена в так называемых «лимонных» подшипниках (рис. 12.14): вкладыш, расточенный с установленной в плоскости разъема прокладкой, собирают уже без прокладки; при вращении шипа образуются два масляных клина (рис. 12.14, в) и соответствующие эпюры давлений в нижней и верхней зонах. При диаметре шипа от 60 до 400 мм толщина прокладки должна быть с = 0,3 - 1 мм.

Рис. 12.14. Схема «лимонного» подшипника:
а — вкладыш, расточенный с прокладкой с; б — вкладыш, собранный без прокладки; в — примерный вид эпюры давлений, область O1O2O3O4 — зона возможных положений центра шипа
Такой же эффект достигается расточкой поверхности вкладыша из двух центров или сборкой его со смещением верхней половины относительно нижней в сторону, противоположную вращению, но такие вкладыши непригодны для реверсируемых валов.
При расточке вкладыша из трех и более центров получаются эпюры давлений, распределенные по всей окружности; схемы таких мпогоклиновых подшипников даны на рис. 12.15; число клиньев 3—5, причем они могут выполняться и неодинаковой протяженности по дуге, например при постоянной нагрузке участок в нагруженной зоне делают с большим углом охвата.
Рис. 12.15. Схемы многоклиновых подшипников, а и б — для постоянного направления вращения; ваг — для реверсивного вращения; д — многоугольник сил трехклинового подшипника
Такие подшипники обладают высокой демпфирующей способностью и допускают угловые скорости валов порядка нескольких тысяч рад/сек, однако оптимальные условия работы в них выполняются лишь при каком-либо одном режиме работы. Этот недостаток устраняется применением самоустанавливающихся сегментов, автоматически принимающих в подшипнике положение, соответствующее оптимальным условиям работы. Некоторые конструкции подшипников с самоустанавливающимися сегментами схематически показаны на рис. 12.16.
Рис. 12.16. Подшипники с самоустанавливающимися сегментами: а — с упругим кольцом; 6 — с податливым трехклиновым вкладышем; в — с качающимися сегментами
В гидростатических подшипниках масляный слой между трущимися поверхностями создаётся за счёт подвода к ним масла под давлением.
В отличие от обычных подшипников коэффициент трения у данных подшипников при трогании с места близок к нулю, а при небольших скоростях скольжения остаётся сравнительно очень малым: в подшипниках испытательных машин коэффициент трения покоя был доведен до 10-6. Износ в таких подшипниках практически отсутствует.
В гидростатических подшипниках уменьшается влияние погрешности шеек валов и подшипников на точность вращения (до 5—10 раз). Основные области применения: опоры тяжелых тихоходных барабанов и валов (шаровых мельниц, вращающихся печей), опоры с минимальным трением испытательных машин и приборов, опоры для механизмов, требующих точных перемещений (поворотных устройств телескопов, делительных столов), опоры шпинделей и валов, требующих точного вращения.
Гидростатическую разгрузку при пуске широко применяют в быстроходных подшипниках тяжелых машин, в частности паровых турбин, а иногда гидрогенераторов, работающих в условиях частых пусков.
Работа простейших гидростатических подшипников сводится к тому, что подводимое под давлением масло воспринимает основную часть постоянной внешней нагрузки. Масло подводится в специальную полость, в середине нагруженной зоны.
Современные гидростатические подшипники обеспечивают необходимое центрирование вала и предотвращают опасность прижатия вала к вкладышу при любых изменениях нагрузки в заданных пределах. Во вкладыше (рис. 12.17) делают несколько равномерно расположенных по окружности продольных карманов 1. Карманы располагают не на всей длине вкладыша, и в каждый из карманов через дроссели или дозирующие отверстия 2 подводят масло. Между этими карманами параллельно им выполняют канавки для стока масла. Давление масла в карманах меньше, чем в сети; оно определяется соотношением гидравлических сопротивлений в отверстиях и в зазорах подшипника, Радиальное смещение цапфы в каком-нибудь направлении вызывает повышение гидравлического сопротивления в зазорах, а следовательно, и давления масла в карманах той зоны, куда направлено смещение. Наоборот, с противоположной стороны сопротивление вытеканию масла через зазоры и давление масла уменьшаются. Таким образом возникают силы, стремящиеся восстановить центральное положение вала.
Рис. 12.17. Гидростатический подшипник
В станкостроении для прецизионных подшипников рекомендуют: число карманов — 4; общую длину подшипника — (1 - 1,2) d, где
d — диаметр шейки; ширину окружных и осевых перемычек — 0.1d; диаметральный зазор при скоростях до 15 м/с, ψ= 0,0006; оптимальное масло — вазелиновое Т, а при высоких скоростях — велосит; отношения давлений масла в карманах и в сети — 0,5.
м/с