Исследование характеристик БП транзистора осуществляется с помощью характериоскопа, позволяющего получить на экране семейства ВАХ п/п транзисторов. В состав лабораторной установки входят также транзистор и разъем с тремя проводами. Транзистор припаян к плате с тремя выводами. К среднему выводу присоединена база транзистора. К выводу, окрашенному в красный цвет, присоединён коллектор. Плата с транзистором вставляется в разъём с тремя проводами. Рекомендуется вставлять плату таким образом, чтобы красный вывод коллектора соответствовал красному (розовому) проводу. Белый провод при этом будет соответствовать базе, а чёрный – эмиттеру транзистора.
Штекеры проводов подсоединяются к различным гнёздам характериоскопа, в зависимости от схемы включения и снимаемой характеристики.
Порядок выполнения работы
1. Снимите семейства входных и выходных ВАХ в схеме с общим эмиттером.
Для снятия семейства выходных ВАХ в схеме с общим эмиттером поставьте переключатель " OFF " в нейтральное положение (рисунок П1-2 приложения 1) и подключите транзистор в соответствии с рисунком 4.
|
|
|

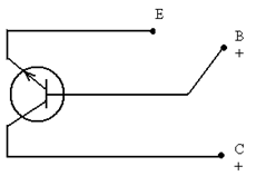
Рисунок 4. Схема подключения транзистора при снятии семейства
выходных ВАХ в схеме с общим эмиттером.
На приборе CHARACTERISCOPE установите ручки управления в следующие положения:
– переключатель "НОR.VOLTS" в положение (0,5 – 1,0) В/дел;
– переключатель "VERT. CURRENT " в положение – 1 мА/дел.;
– переключатель "BASE STEPS" в положение "6";
– тумблер "STEP POL" в положение ''+";
– кнопка "ONE CURVE" отжата;
– переключатель "STEP AMPLITUDE" в положение (50 –100) мкА;
– переключатель "COLLECTOR SUPPLY" в положение – "+ АС ".
Включите питание прибора ручкой "SCALE ILLUM" и установите удобный уровень освещенности шкалы. Время прогрева прибора не менее 5 минут.
После того, как будут выставлены необходимые чувствительности, полярности и количество шагов, можно включить изображение, переведя переключатель " OFF " в соответствующие положение ßилиà. В результате на экране должно появиться семейство ВАХ. Каждая кривая семейства соответствует постоянному значению входного тока на гнезде “ B ”.
После этого необходимо произвести балансировку. Балансировка осуществляется вращением ручки "OFFSET". При вращении ручки "OFFSET" семейство кривых синхронно перемещается по экрану. Для балансировки нужно добиться такого положения, когда нижняя кривая при движении семейства ВАХ сверху вниз остановится (при этом она будет соответствовать Iб =0); начало этой кривой (яркая точка) является началом координат при построении графика ВАХ. После балансировки откорректируйте чувствительность вертикального отклонения так, чтобы семейство ВАХ занимало как можно большую часть экрана характериоскопа, и перерисуйте семейство выходных ВАХ на миллиметровку в масштабе достаточно крупном для дальнейших вычислений (1 клетка на экране осциллографа ≤ 1см).
|
|
|
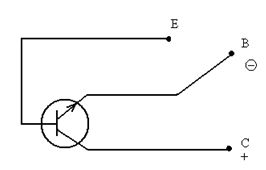
Для снятия семейства входных ВАХ в схеме с общим эмиттером поставьте переключатель " OFF " в нейтральное положение и подключите транзистор в соответствии с рисунком 5.

Рисунок 5. Схема подключения транзистора для получения семейства входных характеристик в схеме с общим эмиттером.
На приборе CHARACTERISCOPE установите ручки управления в следующие положения:
переключатель "НОR.VOLTS" в положение 0,1 В/дел;
– переключатель "VERT. CURRENT " в положение – (20 – 50) мкА/дел.;
– переключатель "BASE STEPS" в положение "6";
– тумблер "STEP POL" в положение ''+";
– кнопка "ONE CURVE" отжата;
– переключатель "STEP AMPLITUDE" в положение 1 В;
– переключатель "COLLECTOR SUPPLY" в положение – "+ АС ".
После того, как будут выставлены необходимые чувствительность, полярность и количество шагов, можно включить изображение, переведя переключатель " OFF " в соответствующие положение ß или à. В результате на экране должно появиться семейство ВАХ. Каждая кривая семейства соответствует постоянному значению выходного напряжения на гнезде “B”.
Перерисуйте семейство ВАХ на миллиметровку в масштабе достаточно крупном для дальнейших вычислений (1 клетка на экране осциллографа ≤ 1см).
2. Снимите семейства входных и выходных ВАХ в схеме с общей базой.
Для снятия семейства выходных ВАХ в схеме с общей базой поставьте переключатель " OFF " в нейтральное положение и подключите транзистор в соответствии с рисунком 6.

Рисунок 6. Схема подключения транзистора для получения семейства
выходных ВАХ в схеме с общей базой.
На приборе CHARACTERISCOPE установите ручки управления в следующие положения:
– переключатель "НОR.VOLTS" в положение (0,5 – 1,0) В/дел;
– переключатель "VERT. CURRENT " в положение – 1 мА/дел.;
– переключатель "BASE STEPS" в положение "6";
– тумблер "STEP POL" в положение ''-";
– кнопка "ONE CURVE" отжата;
– переключатель "STEP AMPLITUDE" в положение 1 мА;
– переключатель "COLLECTOR SUPPLY" в положение – "+ АС ".
Переведите переключатель " OFF " в соответствующее положение ß или à. В результате на экране должно появиться семейство ВАХ. Каждая кривая семейства соответствует постоянному значению входного тока на гнезде “B”.
Произведите балансировку. После балансировки откорректируйте чувствительность вертикального отклонения так, чтобы семейство ВАХ занимало как можно большую часть экрана характериоскопа, и перерисуйте семейство ВАХ на миллиметровку в масштабе достаточно крупном для дальнейших вычислений (1 клетка на экране осциллографа ≤ 1см).
Для снятия семейства входных ВАХ в схеме с общей базой поставьте переключатель " OFF " в нейтральное положение и подключите транзистор в соответствии с рисунком 7.

Рисунок 7. Схема подключения транзистора для получения семейства входныххарактеристик в схеме с общей базой.
На приборе CHARACTERISCOPE установите ручки управления в следующие положения:
– переключатель "НОR.VOLTS" в положение 0,1 В/дел;
– переключатель "VERT. CURRENT " в положение – 1 мА/дел.;
– переключатель "BASE STEPS" в положение "6";
– тумблер "STEP POL" в положение ''+";
– кнопка "ONE CURVE" отжата;
– переключатель "STEP AMPLITUDE" в положение 1 В;
– переключатель "COLLECTOR SUPPLY" в положение – "- АС ".
После того, как будут выставлены необходимые чувствительность, полярность и количество шагов, можно включить изображение, переведя переключатель " OFF " в соответствующие положение ß или à. В результате на экране должно появиться семейство ВАХ. Каждая кривая семейства соответствует постоянному значению выходного напряжения на гнезде “B”.
|
|
|
Перерисуйте семейство ВАХ на миллиметровку в масштабе достаточно крупном для дальнейших вычислений (1 клетка на экране осциллографа ≤ 1см).
3. Рассчитайте графически h -параметры по формулам:
h11=∆Uвх/∆Iвх при ∆Uвых =0.
h12=∆Uвх/∆Uвых при ΔIвх = 0.
h21=∆Iвых/∆Iвх при ∆Uвых =0.
h22==∆Iвых/∆Uвых при ΔIвх = 0.
4. Результаты расчетов занесите в таблицу:
h11 = rвх - дифференциальное входное сопротивление.
h12 = КОС - коэффициент обратной связи по напряжению.
h21 - коэффициент передачи по току (β - в схеме с общим эмиттером, α - в схеме с общей базой).
ri =1/ h22 - дифференциальное внутреннее сопротивление.
| Параметр | rвх, Ом | КОС | β (ОЭ) α (ОБ) | ri, кОм |
| ОЭ | ||||
| ОБ |
Приложение
Методика расчёта h - параметров транзистора по его статическим характеристикам.






