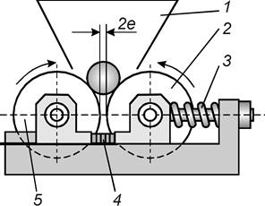
Валковые дробилки (рис. 53) применяют для мелкого и среднего дробления различных материалов: глины, отработанных смесей и др. Куски дробятся вращающимися валками. Помимо дробления материал отчасти истирается.
Рис. 53. Устройство валковой дробилки
|
Рис. 54. Схема работы валковой дробилки
|
По конструктивному исполнению различают валковые дробилки с жестко закрепленными подшипниками валков; с одним подвижным валком (наиболее распространенный вариант); с двумя подвижными валками. Благодаря подвижности валков, дробилка защищена от поломки при попадании между ними слишком жестких предметов. Валки бывают гладкими, рифлеными и зубчатыми. Степень измельчения регулируется изменением зазора 2 е между двумя валками с помощью сменных прокладок.
Рассмотрим, какова связь между диаметром валков и максимальным размером кусков дробимого материала.
Плоскости ОМ и ON (рис. 54), касательные к поверхностям гладких валков в точках соприкосновения с куском материала, образуют между собой угол b = 2a, где a – угол захвата. По аналогии со щековой дробилкой, где b < 2j, для захвата куска материала воображаемыми плоскостями ОМ и ОN валковой дробилки, получаем
|
|
|
| (108) |
где j = arctg f – угол трения кусков материала о валки;
f – коэффициент трения кусков материала о валки.
Для угля принимают f = 0,3, чему соответствует a < 16°42¢, для глины и известняка принимают f = 0,30¸0,35 и a»18°.
Для эффективной работы валковой дробилки при соблюдении условия a £ 2j и расстоянии 2 е между валками, необходимо, чтобы диаметр куска D к, поступающего в дробилку, удовлетворял следующему условию:
,
| (109) |
откуда
,
| (110) |
где D в – диаметр валков, м;
2 е – расстояние между валками, м.
Если принять для сухой глины угол захвата a = 18°, то формула (110) будет иметь вид
.
| (111) |
При сдвинутых валках (2 e = 0)
.
| (112) |
Для рифленых валков принимают
,
| (113) |
для зубчатых валков
.
| (114) |
Степень измельчения материала в дробилках с гладкими валками i = 3¸5, с рифлеными валками i = 7¸8.
Производительность валковой дробилки П (в т/ч) определяют по формуле
,
| (115) |
где y – коэффициент разрыхления продукта (для материала средней твердости y = 0,2¸0,3; для влажной глины y = 0,5¸0,6);
n – частота вращения, с–1;
L – длина валков, м;
R – радиус валков, м;
r – плотность материала, т/м3.
Предельная частота вращения (с–1) валка не должна превышать величины, определяемой формулой
,
| (116) |
где f – коэффициент трения дробимого материала по поверхности валков, (f = 0,3¸0,4);
r – радиус куска материала, м.
Мощность электродвигателя валковой дробилки с гладкими валками
,
| (117) |
где N 1 – мощность, затраченная на процесс дробления, кВт;
|
|
|
s – предел прочности материала, Па;
Е – модуль упругости материала, Па;
N 2 – мощность, затраченная на преодоление трения между материалом и валками, кВт;
N 3 – мощность, затраченная на трение в подшипниках, кВт.
.
| (118) |
Рис. 53. Устройство валковой дробилки
Рис. 54. Схема работы валковой дробилки
,
,
.
.
,
.
,
,
,
.






