Для очистки отливок, имеющих глубокие внутренние карманы и обширные полости, в которые трудно направить струю дроби из дробеметного аппарата, применяют дробеструйную очистку, хотя энергетические затраты при ней в несколько раз выше, а санитарно-гигиенические условия работы хуже.
Для придания скорости струе дроби используют всасывающие и нагнетательные дробеструйные аппараты.
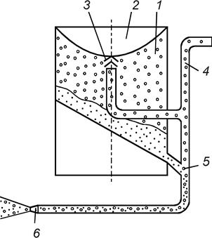
На рис. 115 показаны конструкция и принцип действия простого нагнетательного дробеструйного аппарата.
Аппарат имеет герметически закрываемый бак, в котором под давлением сжатого воздуха находится дробь. Под действием силы тяжести и давления сжатого воздуха, которое в баке 1 выше, чем в смесительной камере 5, дробь подается в смесительную камеру и увлекается оттуда через шланг к рабочему соплу 6.
Рис. 115. Схема устройства дробеструйного аппарата
|
Для пополнения камеры дробью прекращают поток сжатого воздуха в полость бака и соединяют се с атмосферой. При этом клапан 3 под воздействием веса дроби опускается, и дробь из загрузочной воронки 2 попадает в полость камеры 1.
|
|
|
Для обеспечения непрерывной работы дробеструйные аппараты выполняют двухкамерными. В таком аппарате дробь может загружаться в верхнюю камеру, из нее в среднюю камеру, а затем перегружаться в нижнюю камеру без остановки работы аппарата.
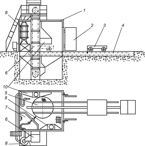
Дробеструйную очистку отливок производят в камерах по типу дробеметных (рис. 116). Такая камера представляет собой закрытую металлическую конструкцию 1, внутренняя обшивка которой выполнена из стального листа толщиной 3 мм и покрыта резиной толщиной 10 мм. В передней стенке камеры выполнен проем для ворот 2, которые открываются и закрываются автоматически или вручную. Отливки укладываются мостовым краном на тележку 3, приводимую в движение электрифицированной канатной откаткой 4. Кабина 7 камеры представляет собой изолированное рабочее помещение, на передней стене которого имеется съемное окно и сопловый механизм. Сопловый механизм смонтирован на сферическом шарнире и имеет угол поворота около 100°. Поворотный стол 5 в центре камеры предназначен для вращения тележки с отливкой при очистке. Привод поворотного стола – электромеханический. Нижняя часть камеры выполнена в виде воронки, в которой собирается дробь и продукты очистки. Шнековый питатель подает дробь и продукты очистки к элеватору 6 через вращающееся сито.
Элеватор подает материал в воздушный сепаратор. Очищенная дробь подается в дробеструйный аппарат 8, откуда по рукавам поступает к сопловым механизмам. Для удаления из камеры пыли устроена система пылеотсоса, включающая зонты 9 и 10.
|
|
|
По окончании очистки тележка выкатывается из камеры, отливка снимается, и на тележку устанавливают новую отливку. Камеры, в которых загрузка и разгрузка тележки осуществляется в одном месте, называют тупиковыми в отличие от проходных. В проходных камерах тележка для разгрузки выкатывается с другой стороны камеры, то есть за цикл очистки проходит ее насквозь.
Рис. 116. Камера дробеструйной очистки отливок
|
Рис. 115. Схема устройства дробеструйного аппарата
Рис. 116. Камера дробеструйной очистки отливок






