
Рис.3.6. Схема радиально-поршневого насоса однократного действия

Рис.3.7. Радиально-поршневой насос однократного действия типа НП

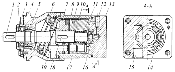
Рис.3.9. Аксиально-поршневой гидромотор типа Г15-2:
1 - вал; 2 - манжета; 3 - крышка; 4, 9 - корпус; 5, 16 - подшипник; 6 - радиально упорный подшипник; 7 - барабан; 8 - поводок; 10 - ротор; 11 - пружины; 12 - дренажное отверстие;
13 - распределительное устройство; 14 - полукольцевые пазы; 15 - отверстие напорное;
17 - поршни; 18 - шпонка; 19 - толкатель

Рис.3.9. Аксиально-поршневой гидромотор типа Г15-2:
1 - вал; 2 - манжета; 3 - крышка; 4, 9 - корпус; 5, 16 - подшипник; 6 - радиально упорный подшипник; 7 - барабан; 8 - поводок; 10 - ротор; 11 - пружины; 12 - дренажное отверстие;
13 - распределительное устройство; 14 - полукольцевые пазы; 15 - отверстие напорное;
17 - поршни; 18 - шпонка; 19 - толкатель
Рис.3.11. Структура условного обозначения аксиально-поршневых гидромашин серий 200 и 300






