Система допусков ОСТ
Система действовала до 1980 года. Основные определения и понятия почти полностью совпадают. Диапазоны разбиты на группы, формулы для расчета, единицы допуска не совпадают. В системе ОСТ ряды допусков называются классами точности, и располагаются в порядке убывания точности: 02, 03…09, 1, 2, 2а, 3, 3а,…, 10, 11.
Ни одна группа размеров не содержит все классы точности. В системе ОСТ также существует посадки системы отверстия (А) и системы вала (В). Всем посадкам присвоены названия, приблизительно отражающие характер соединения.
Посадки с натягом: третья прессовая Пр3, вторая прессовая Пр2, горячая Гр, прессовая Пр, легкопрессовая Пп. Переходные посадки: глухая Г, тугая Т, напряженная Н, плотная П. Посадки с зазором: скользящая С, посадки движения Д, ходовая Х, легкоходовая Л, широкоходовая Ш1, Ш2, Ш 3, теплоходовая Тх.
Существуют предпочтительные поля допусков. Условные обозначения аналогичны. Классы точности обозначаются цифровыми индексами, при условиях обозначающих полей допусков.
|
|
|
ЕСПД СЭВ. Необходимость замены может возникнуть при ремонте, при переработке технической документации, при проникновении новых иск – мов и назначение посадок по аналогии со старыми. Принято считать, что характер соединения сохраняется, если поля допусков из новой системы не выходит за границу заменённого поля допуска ОСТ, более чем на 10%. Заменимость посадок характеризуется относительной разностью допусков посадок j ТП% и отношением разности предельных зазоров (натягов) к допуску посадки ОСТ(j S(N)%)
j ТП=((ТПост – ТПпов)/ТПост)*100%; j S(N)=((S(N) – S(N)ост)/ТПост)*100%
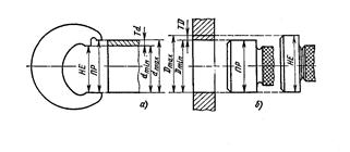
Калибрами – называют бенекальные инструменты, предназначенные для контроля размеров, формы и расположения поверхностей детали.
Калибры бывают: предельные и нормальные.
Предельные калибры позволяют определять, находится ли проверяемый размер в пределах допуска. При образовании таких посадок такой контроль гарантирует качественное соединение деталей.
Нормальным калибром называется точные шаблоны, которые служат контрольного сложения профилей, например эвольвентных.
О годности детали судят по равномерности зазора между проверяемым профилем и рабочим профилем нормального калибра. Наиболее часто предельный калибр применяют для контроля цилиндрических валов и отверстий.
Валы проверяют калибрами – скобами, отверстия – калибрами – пробками.

Таким образом при контроле валов годными окажутся валы, которые проходят в раствор губок ПР = dmax и не проходят НЕ = Dmax. В соответствии с этим калибры делятся на проходные ПР и непроходные НЕ. Детали, которые не проходят через проходные калибры, относятся к исправленному браку, а детали, которые проходят через непроходящее к неисправленному.
|
|
|
По назначению предельные калибры подразделяются на: рабочие, приемные, контрольные.
Рабочие калибры предназначены для контроля деталей в процессе их изготовление, или пользуются рабочие и контролёры ОТК завода изготовителя. В последнем случае часто применяют частично изношенные калибры ПР и новые НЕ.
Приёмные (П – проходной, Н – непроходной) применяют для приёмки деталей представителями заказчика. Как правило, ими служат изношенные проходные и новые непроходные калибры, чтобы не браковались детали, правильно изготовленные и принятые по рабочим калибрам.
Контрольные служат для контроля износа рабочих калибров.
Калибры изготавливают из инструментальных и углеродистых цементируемых сталей. Для повышения износостойкости применяют твёрдосплавные калибры.
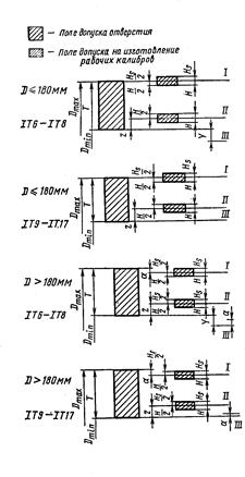
Допуски калибров
Поля допусков калибров располагается относительно их номинальных размеров следующим образом: непроходная сторона, проходная сторона, границы износа.
Для изготовления калибров предусмотрены следующие допуски: Н – на рабочие калибры – пробки; Hs – на те же калибры со сферическими измерительными поверхностями; Н1 – на калибры – скобы; Нр – на контрольные калибры (предназначенные для контроля скоб).
Поле допуска отверстийПоле допуска валов


Точность формы деталей. Шероховатость поверхностей
В процессе изготовления деталей возникает погрешность, не только размеров, но так же формы и расстояния номинальных поверхностей, кроме того, режущие элементы любого инструмента оставляют на обрабатываемых поверхностях следы в виде чередующихся выступов и впадин. Эти неровности создают шероховатость и волнистость поверхностей. Таким образом, на чертежах форму деталей задают идеально точными номинальными поверхностями, плоскостями, профилями. Изготовленные детали имеют реальные поверхности, которые отличаются от номинальных отклонений формой и расположением, а так же шероховатостью и волнистостью. Отклонение формы поверхности называется отклонения формы реальной поверхности от номинальной. В общем случае в отклонение формы входит волнистость и не входит шероховатость. Отклонение формы отсчитывается от точек реальной поверхностей до прилегающих поверхностей, прямой, профиля по формам к ним. Прилегающая поверхность – плоскость, соприкасающаяся с реальной поверхностью и расположенная так, чтобы отклонения от неё до наиболее удачных точек реальной поверхности в пределах нормируемого участка имела минимальное значение.
Прилегающая окружность-окружность минимального диаметра, описанная вокруг реального профиля наружной поверхности вращения, или максимального диаметра, вписанная в реальный профиль внутренней поверхности вращения.
Прилегающая плоскостьПрилегающая прямая


Прилегающий цилиндр
Отклонения формы, а часто и расположение оценивают наибольшим отклонением, при этом должно обеспечиваться, что d < Т, где Т – допуск формы или расположения.
Поле допуска формы представляет собой область в пространстве или на плоскости, внутри которой должны находиться все точки реальной поверхности или реального профиля. Отклонение от плоскости определяется по наибольшему наклонению d. В частном случае отклонения от плоскости является выпуклость и вогнутость. Отклонение от формы цилиндрической поверхности характеризуется нецилиндричностью.


Частным случаем отклонения цилиндричности является:
1) Конусность 2) Бочкообразность 3) Седловидность



Основные причины появления отклонений.
Формы цилиндрической поверхности
Ø Овальность – биение шпинделя станка
Ø Огранка – изменение линейных центров вращения детали
|
|
|
Ø Конусность – износ резца, неспособность штенделя и задней балки
Ø Бочкообразность - деформация длинных валов при обработке