Измерительные преобразователи неэлектрических величин
Гальваномагнитные преобразователи (ГМП) основаны на физических эффектах, возникающих в находящихся в магнитном поле твердых телах при движении в них заряженных частиц. В качестве измерительных преобразователей практическое применение получили главным образом полупроводниковые ГМП, основанные на использовании эффектов Холла и Гаусса. Эффект Холла заключается в возникновении поперечной разности потенциалов (ЭДС Холла) на боковых гранях пластины, а эффект Гаусса, или магниторезистивный эффект, проявляется в изменении электрического сопротивления пластины. Оба эффекта обусловлены изменением траектории движения заряженных частиц в магнитном поле, возникают одновременно и связаны между собой так,что каждый из них приводит к ослаблению другого. Выбирая определенным образом конструкцию и состав материала преобразователя, можно усилить один из эффектов и ослабить другой, создавая таким образом преобразователи Холла, или магниторезистивные преобразователи.
|
|
|
Преобразователь Холла представляет собой четырехполюсник, обычно выполняемый в виде тонкой пластинки или пленки из полупроводникового материала. Токовые электроды 1 и 2 (рис.9.1) выполняются по всей ширине поперечных граней, что обеспечивает равномерное распределение входного тока по сечению преобразователя. Потенциальные (Холловые) электроды 3 и 4 расположены в центральной части продольных граней.
В магнитном поле носители заряда под детвием сил Лоренца F = evB изменяют свою траекторию, вследствие чего на одной из боковых граней концентрация зарядов одного знака увеличивается, в то время как на противоположной грани – уменьшается. Возникающая при этом разность потенциалов (ЭДС Холла) определяется выражением
EХЛ= RХЛ φ(КГЕОМ,Ө)IB cosα/d, (9.1)
где RХЛ — постоянная Холла, зависящая от свойств материала преобразователя;
φ(КГЕОМ,Ө) - функция, зависящая от геометрии преобразователя и так называемого угла Холла Ө между векторами плотности тока и напряженности вызывающего его электрического поля, определяемого подвижностью носителей зарядов и значением магнитной индукции (при l/b = 2 и а/l ≤ 0,1, функция φ ≈1); α — угол между вектором магнитной индукции и магнитной осью преобразователя, совпадающей в первом приближении с нормалью к плоскости преобразователя.
Особенно сильно эффект Холла проявляется в германии (Ge), кремнии (Si) и в полупроводниках, состоящих из элементов III и V групп периодической системы. Постоянные Холла для полупроводниковых материалов имеют порядок 10-2 - 10-4 м3/(A·c), в то время как для чистых металлов, например для меди, RХЛ = 6·10-11 м3/(A·c).
|
|
|
Кристаллические преобразователи Холла выполняются в виде тонких пластинок (d= 0,01 ÷ 0,2 мм), которые вырезаются из монокристаллов и шлифовкой доводятся до необходимой толщины. Выводы укрепляются на боковых гранях путем пайки или сварки. Пластинки наклеиваются на подложки из радиотехнической слюды, ультрафарфора или ситалла.
Хорошими метрологическими характеристиками отличаются пленочные преобразователи Холла из тонких поликристаллических пленок InAs и InSb на стеклянных подложках и преобразователи на основе гетероэпитаксиальных структур InSb и GaAs на подложках из полуизолирующего арсенида галлия. Чувствительный элемент преобразователя выполняется в виде тонкой пленки (5—10 мкм) способом фотолитографии. Такие преобразователи можно выполнять сложной формы с малой площадью чувствительной зоны (0,2 × 0,05 мм и менее). На рис.9.2 показано устройство серийно выпускаемых преобразователей Холла типа ПХЭ, где 1 и 2 — токовые, а 3 и 4 — потенциальные выводы.
Выходная величина преобразователя Холла, как видно из выражения (9.1), пропорциональна произведению двух входных величин — тока и магнитной индукции. Таким образом, преобразователь Холла является множительным преобразователем. При постоянных во времени I и В ЭДС Холла является постоянной величиной. Если одна из входных величин (В или I) постоянная, а другая — переменная, то ЭДС Холла будет переменной величиной той же частоты, что и частота входной
величины. В случае если обе входные величины имеют одну и ту же частоту и сдвинуты по фазе на угол φ, ЭДС Холла будет состоять из постоянной и переменной двойной частоты составляющих:
Ехл =
Если ток изменяется с частотой ω1, а магнитная индукция — с частотой ω2, то ЭДС Холла содержит две составляющие, одна из которых имеет частоту ω1-ω2, а другая ω1+ ω2.
Входное сопротивление RBX преобразователя Холла определяется как сопротивление между токовыми электродами, а выходное сопротивление RBЫХ равно сопротивлению между Холловыми электродами. У серийно выпускаемых преобразователей Холла RВХ и RВЫХ близки по значению и лежат в пределах от 0,5 Ом до нескольких килоом. Вследствие магниторезистивного эффекта RВХ и RВЫХ увеличиваются с ростом магнитной индукции.
Гальваномагнитная чувствительность преобразователя Холла при а = 0 определяется выражением
SBI = 
и для различных типов преобразователей составляет 0,3 — 10 В/(А·Тл).
Чувствительность к магнитной индукции SBопределяется при номинальном значении входного тока I ном = const как SB = RХЛ Iном
/d и для серийно выпускаемых преобразователей составляет 0,03—1 В/Тл. Значение тока I ном ограничено допустимой температурой перегрева преобразователя. Для высокоомных преобразователей допустимые значения токов составляют 5—50 мА, для низкоомных 100— 200 мА. Гальваномагнитная чувствительность SBIи чувствительность к магнитной индукции SBзависят от магнитной индукции В, так как RХЛ = f1(В) и φ = f 2 (В). Эти зависимости главным образом определяют нелинейность характеристик преобразователей Холла в сильных полях.
Чувствительность к току SI определяется при постоянном значении магнитной индукции В= const как SI = RХЛB
/d. При индукции В = 1 Тл чувствительность к току для различных типов преобразователей составляет 0,3—50 В/А.
Характеристики серийно выпускаемых преобразователей Холла приведены в табл. 9.1 и 9.2. Лучшими метрологическими характеристиками обладают преобразователи Холла типа ПХЭ на основе гетероэпитаксиальных структур антимонида индия, которые в зависимости от метрологических характеристик разделяются на классы А, Б и В. Некоторые разновидности этих преобразователей характеризуются очень малым температурным коэффициентом чувствительности (5÷10)10-5 К-1, малым остаточным напряжением (10—70 мкВ), малой погрешностью линейности при магнитных индукциях до 15Тл и широким диапазоном рабочих температур (от -271,5 до +100 °С). Для. работы при повышенных температурах (до 127—327 °С) наиболее пригодны преобразователи Холла из арсенида галлия, которые имеют относительно малые температурные коэффициенты постоянной Холла и удельные сопротивления.
|
|
|
Остаточным напряжением преобразователя Холла называется напряжение, которое возникает между Холловыми электродами при прохождении через преобразователь тока в отсутствии магнитного поля. Причиной остаточного напряжения в первую очередь является расположение Холловых электродов в неэквипотенциальных точках пластины.
При наличии температурного градиента между Холловыми контактами, каждый из которых является соединением медного вывода с полупроводниковым материалом, в цепи возникает термо-ЭДС. При разности температур между контактами 0,1°С возникает термо-ЭДС еТ = 10 ÷ 100 мкВ. Для уменьшения градиента температур преобразователь следует укреплять на подложке из материала с хорошей теплопроводностью. Суммарное остаточное напряжение может составлять от единиц микровольт до десятков милливольт. У серийно выпускаемых преобразователей значения Uост/I лежат в пределах 10-6 - 0,4 Ом.
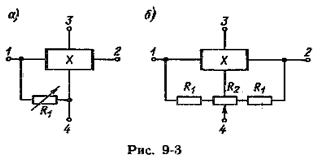
Схемы коррекции остаточного напряжения приведены на рис. 9-3,а, б. Сопротивления резисторов R1 и R2 должны быть на два порядка больше входного сопротивления преобразователя. Коррекцию остаточного напряжения также можно осуществить при совместном использовании преобразователя Холла и операционного усилителя с дифференциальным входом (рис. 9-4).
Особенно пригодны для этой цели операционные усилители типа К551УД1, которые имеют малый температурный дрейф (менее 1 мкВ/К) и независимую цепь коррекции выходного смещения, при помощи которой осуществляется компенсация остаточного напряжения.

Таблица 9.1
| Тип преобразователя | Номинальный ток, мА | Чувствительность при номинальном токе, В/Тл | Входное сопротивление, Ом | Диапозон рабочих температур, °С | Размеры преобразователя, мм | Материал |
| Х111 | 0,45-0,2 | 30-180 | -40...+80 | 1,5×0,8×0,2 | Германий | |
| Х210 | 0,06-0,12 | 0,5-5 | -60...+80 | 0,85×0,55×0,2 | ||
| Х211 | 0,06-0,15 | 0,5-5 | -60...+90 | 1,5×0,8×0,2 | Арсенид индия (InAs) | |
| Х213 | 0,09-0,32 | 0,5-5 | -60...+100 | 5×3×0,2 | ||
| Х221 | 0,07-0,18 | 0,5-5 | +40...+80 | 1,5×1×0,2 | ||
| Х222 | 0,1-0,32 | 0,5-5 | -60...+100 | 4×2×0,2 | ||
| Х244 | 0,12-0,48 | 0,5-9 | -60...+120 | 8×4×0,2 | ||
| Х510 | 0,036-0,2 | 1-6 | -100…+60 | 0,85×0,56×0,2 | Арсенидфосфид индия (InAsP) | |
| Х511 | 0,04-0,32 | -100…+80 | 1,5×1×0,15 | |||
| ДХГ-2 | 13-15 | 0,45 | 220-320 | -60…+70 | 6×3×0,15 | Германий |
| ДХГ-2С | 20-23 | 0,8 | 220-360 | -60…+70 | 12×6×0,16 | |
| ДХГ-2М | 6-8 | 0,2 | 200-350 | -60…+70 | 2,6×1,6×0,15 | |
| ДХГ-0,5 | 25-30 | 0,25 | 40-90 | -60…+90 | 1,8×0,6×0,16 | |
| ДХГ-0,5М | 10-12 | 0,12 | 40-120 | 0…-70 | 6×3×0,15 | |
| ДХК-7 | 13-15 | 0,5 | 500-1000 | -156…+200 | 6×3×0,15 | Кремний |
| ДХК-14 | 6-9 | 0,6 | 6×3×0,2 |
Погрешность нуля, обусловленная дрейфом остаточного напряжения, является одной из наиболее трудно устраняемых составляющих погрешности преобразователей Холла. Дрейф главным образом связан с колебаниями температуры преобразователя и наличием градиента температур между его электродами. Одной из причин возникновения градиента температур является эффект Пельтье, который имеет место при питании преобразователя постоянным током.
|
|
|
Погрешность нуля является основной характеристикой, определяющей применимость преобразователей Холла для измерения слабых магнитных полей.
Погрешность линейности у различных типов преобразователей при изменении магнитной индукции от 0 до 10 Тл составляет 1—10%. Хорошей линейностью характеристик отличаются преобразователи Холла из антимонида индия, у которых погрешность линейности составляет 0,1—1 % в диапазоне В = 0÷2 Тл и 1% при В = 0,1÷10 Тл. Малую погрешность линейности (0,2%) при магнитной индукции до 1 Тл имеют преобразователи из арсенида-фосфида индия (InAsP).
Погрешность от собственного магнитного поля преобразователя. При прохождении через преобразователь тока возникает магнитное поле. Если это поле асим
метрично, то интегральное по площади пластины значение индукции не будет равна нулю, а составит некоторую величину Вас. Асимметрия поля может иметь место, если обратный провод токового вывода расположен вблизи преобразователя и асимметрично по отношению к нему (рис. 9.29,а). Возникающая в результате взаимодействия индукции Вас и тока I дополнительная ЭДС Холла пропорциональна квадрату тока I. Правильное расположение выводов показано на рис. 9-5, б. Если преобразователь находится на значительном расстоянии от ферромагнитных деталей, то магнитная индукция собственного поля преобразователя обычно не превышает 10-6 - 10-4 Тл. При нахождении преобразователя вблизи полюсных наконечников индукция этого поля может достигать 5·10-4—10-3 Тл, что приводит к существенной погрешности. Основной путь уменьшения влияния собственного магнитного поля — правильный монтаж преобразователя.
Погрешность направленности обусловлена зависимостью выходного сигнала преобразователя Холла от его пространственного расположения по отношению к вектору магнитной индукции. Напряжение Холла имеет максимальное значение, когда вектор магнитной индукции направлен параллельно магнитной оси преобразователи, указывающей направление наибольшей чувствительности. В идеальном случае магнитная ось совпадает с нормалью к плоскости преобразователя [9].
Вопросы стабильности преобразователей Холла еще недостаточно изучены. По имеющимся данным, нестабильность чувствительности у некоторых типов преобразователей составляет 0,1—1% в год. Существенное влияние на стабильность могут оказать механические напряжения, возникающие в процессе изготовления преобразователя и при его монтаже в датчике, а также температурные деформации. Преобразователи без подложки более стабильны, чем наклеенные на подложку.
Температурная погрешность преобразователей Холла обусловлена зависимостью от температуры постоянной Холла, сопротивления преобразователя и остаточного напряжения. Температурный коэффициент чувствительности у лучших типов преобразователей составляет (5÷10) 10-5 К-1. Малые значения температурной погрешности характерны для преобразователей на основе гетероэпитаксильных структур InSb тройного соединения InAs0,8P0,2 (γӨ ≤ 0,0003 К-1), из арсенида галлия (γӨ ≤ 0,0006 К-1 в диапазонах температур 20—300 °С), а также для некоторых типов преобразователей из германия (γӨ ≤ 0,0003 К-1), предназначенных для работы в относительно узком диапазоне температур.
Если температурные коэффициенты постоянной Холла и сопротивления имеют одинаковые знаки и близки по значению, коррекцию температурной погрешности можно осуществить при питании преобразователя от источника стабильного напряжения. Такой режим питания целесообразно применять для преобразователей Холла из антимонида индия. Уменьшение температурной погрешности достигается также при применении схем коррекции с использованием терморезисторов. Однако, поскольку напряжение Холла сложным образом зависит от ряда температурно-зависимых параметров, осуществить точную коррекцию температурной погрешности практически невозможно, особенно для широкого диапазона рабочих температур.
Таблица 9.2
| Тип преобразователя | Чувствительность при токе 100 мА, В/Тл | Размеры преобразователя, мм | Входное и выходное сопротивление, Ом | ||
| Класс преобразователя | |||||
| А | Б | В | |||
| ПХЭ 602 117 | 0,5 | 0,3 | 0,2 | 5×3×0,8 | |
| ПХЭ 602 817 | 0,1 | 0,08 | 0,06 | 5×3×0,8 | |
| ПХЭ 605 817 | 3×2×0,8 | ||||
| ПХЭ 606 817 | 2×1,5×0,8 | ||||
| ПХЭ 602 118 | 0,075 | 0,05 | 0,03 | 5×3×0,8 | |
| ПХЭ 605 118 | 3×2×0,8 | ||||
| ПХЭ 603 118 | 2×3×0,8 | ||||
| ПХЭ 606 118 | 2×1,5×0,8 |
Динамические характеристики преобразователей Холла. Время установления ЭДС Холла характеризуется временем релаксации τ = ε/γ, где ε — диэлектрическая проницаемость, a γ — удельная проводимость материала преобразователя. Для обычно используемых материалов τ = 10-11 ÷ 10-13 с, поэтому постоянная Холла частотно-независима при частотах до 1011 Гц. Межэлектродные емкости у преобразователей Холла составляют единицы пикофарадов, поэтому их влияние сказывается при частотах порядка десятков и сотен мегагерц.
Динамические свойства непосредственно преобразователя Холла, казалось бы, позволяют использовать его при измерениях индукции в переменных магнитных полях очень высокой частоты. Однако при работе в переменных магнитных полях возникают ограничения несколько иного рода. В переменном магнитном поле в выходной цепи преобразователя появляется дополнительная ЭДС, индуктируемая переменным магнитным полем, еинд = ωBmS cos ωt, где ω — частота; Вт — амплитуда индукции и S — площадь контура, пронизываемого магнитным потоком. Индуктируемая ЭДС сдвинута по отношению к ЭДС Холла на 90°. Уменьшение индуктируемых ЭДС осуществляется рациональным расположением выводов преобразователя и включением дополнительных компенсационных обмоток. Возможно также питание преобразователя переменным током, частота которого значительно больше частоты переменного магнитного поля, и использование узкополосных усилителей для усиления выходного напряжения. Кроме того, в переменном магнитном поле в пластине преобразователя возникают вихревые токи, магнитное поле которых изменяет основное поле и тем самым ЭДС Холла. Вектор наведенной магнитной индукции сдвинут относительно вектора индукции внешнего поля примерно на 90°, и поэтому изменение ЭДС Холла происходит не только по значению, но и по фазе. Вихревые токи приводят также к дополнительному разогреву преобразователя. При питании преобразователя Холла постоянным током и нахождении его в переменном магнитном поле с частотой до 1,5 МГц и индукцией до 0,5 Тл зависимость ЭДС Холла Eхл от частоты имеет вид
Eхл = 
где γ — электрическая проводимость материала преобразователя;
— магнитная проницаемость среды, окружающей преобразователь; φ = arctg ω
γ b2/8 — фазовый сдвиг.
Как видно, характеристика ЭДС Холла сильно зависит от ширины преобразователя b. Так, например, при расположении преобразователя Холла толщиной 100 мкм и шириной 6 мм между двумя ферритовыми наконечниками (
≈ 2000
0) ЭДС Холла увеличивается в 1,5 раза при изменении частоты магнитного поля от О до 1,5 МГц, а сдвиг фазы между ЭДС Холла и магнитной индукцией достигает 57°. При уменьшении ширины преобразователя в два раза (Ь = 3 мм) и неизменных прочих условиях увеличение ЭДС Холла составляет всего 3%.
При питании преобразователей током высокой частоты имеет место поверхностный эффект, который приводит к уменьшению эффективной толщины преобразователя и к увеличению его чувствительности. Для серийно выпускаемых преобразователей поверхностный эффект мало сказывается при частотах до 107 Гц. Для работы при более высоких частотах питающего тока необходимо использовать пленочные преобразователи толщиной 5—10 мкм.
Анализ основных метрологических характеристик преобразователей Холла показывает, что основная погрешность большинства приборов, в которых используются преобразователи Холла, составляет 0,5—1,0 % и более. Только при применении сложных методов коррекции можно снизить погрешность измерения до 0,1-0,2 % при работе в узком диапазоне температур.
Наиболее широкое применение преобразователи Холла получили для измерений параметров постоянных, переменных и импульсных магнитных полей и для определения характеристик ферромагнитных материалов. Кроме этого, они используются для измерений ряда других физических величин, которые легко преобразуются в изменение магнитной индукции (электрические токи, угловые и линейные перемещения и др.).