Тепловыми называются преобразователи, принцип действия которых основан на использовании тепловых процессов (нагрева, охлаждения, теплообмена) и входной величиной которых является температура [22]. Тепловые преобразователи широко применяют как преобразователи не только температуры, но и таких величин, как тепловой поток, скорость потока газа или жидкости, расход, химический состав и давление газов, влажность, уровень жидкости и т. п. При построении тепловых преобразователей наиболее часто используют такие явления, как возникновение термо-ЭДС, зависимость сопротивления вещества от температуры.
Термоэлектрические преобразователи. Термоэлектрический преобразователь (термопара) представляет собой чувствительный элемент, состоящий из двух разных проводников или полупроводников, соединенных электрически, и преобразующий контролируемую температуру в ЭДС. Принцип действия термоэлек

Рис.9.27
трического преобразователя основан на использовании термоэлектродвижущей силы, возникающей в контуре из двух разнородных проводников, места соединения, (спаи) которых нагреты до различных температур (рис. 2.27 а). Знак и значение термо-ЭДС в цепи зависят от типа материала и разности температур в местах спаев. При небольшом перепаде температур между спаями термо-ЭДС можно считать пропорциональной разности температур:
|
|
|
EAB = КSABDq.
Если к термопаре подключить милливольтметр, то по значению термо-ЭДС можно определять температуру (рис.9.27,б) Чтобы получить достоверные результаты, необходимо один спай термопары, называемый рабочим, поместить в среду с температурой q1, подлежащей измерению, а температуру q0 других, нерабочих (холодных, свободных), спаев поддерживать постоянной. Уравнение преобразования имеет вид:
EAB(q0q1) = f(q1) – C = f1(q1),
где C = f(q0) - постоянная величина.
Обычно термо-ЭДС не рассчитывают аналитически, а определяют по градуировочным таблицам или графикам, получаемым экспериментально, для различных материалов при температуре холодных спаев q0 = 0.
При включении в цепь термопары измерительного прибора или другого преобразователя в местах подсоединения образуются другие спаи, и в общем случае такую цепь можно рассматривать как состоящую из трех проводников. Можно показать, что если точки подключения прибора имеют одинаковую температуру, то подключение прибора не влияет на термо-ЭДС измерительной термопары [22].
В качестве материалов для термопар используют различные драгоценные металлы (платину, золото, иридий, родий и их сплавы), а также неблагородные металлы (сталь, никель, хром, сплавы нихром, копель, аллюмель и др.). Сравнительно редко применяют термопары из полупроводниковых материалов: кремния, селена и др. Полупроводниковые термопары имеют малую механическую прочность, обладают большим внутренним сопротивлением, хотя и обеспечивают большую термо-ЭДС по сравнению с металлами.
|
|
|
Термо-ЭДС возникает только в спаях разнородных материалов. При сравнении различных материалов в качестве базовой применяют термо-ЭДС платины, по отношению к которой определяются термо-ЭДС других материалов. Хотя зависимость. E=f(q) при q0=0 является нелинейной, в первом приближении значение термо-ЭДС можно определить по выражению:
E = eZ(q1 - q0),
где еZ - суммарная термо-ЭДС материалов термопары.
Суммарную термо-ЭДС определяют по данным табл. 9.4, где приведены термо-ЭДС различных материалов по отношению к платине, как
еZ =е1 – е2,
где е1, е2 - термо-ЭДС используемых материалов.
Таблица 9.4.Значения термо-ЭДС некоторых металлов по отношению к платине
| Металл | Термо-ЭДС МкВ/°C | Металл | Термо-ЭДС МкВ/°C |
| Алюмель Вольфрам Золото Константан Копель Мангамин | -10,2 7,9 8,0 -35 -40 | Медь Молибден Платина Платиноиридий Платинородий Хромель | 7,6 1,3 0,00 6,46 31,3 |
Выбирая материал для термопары, стремятся использовать материалы, имеющие разный потенциал по отношению к платине. Так, если для термопары использовать хромель, у которого термо-ЭДС ex = + 31,3 мкВ/°С, и алюмель, у которого ea = -10,2 мкВ/°С, то термо-ЭДС термопары хромель-алюмель. составит (exa=ex-ea=31,3+10,2=+41,5 мкВ/°С.
При выборе материала термопары необходимо учитывать условия эксплуатации (влияние температуры, влажности, загрязненности и других факторов на материал электродов).
Чтобы повысить выходную ЭДС, используют последовательное включение термопар, образующее термобатарею (рис. 9.27 в). В этом случае необходимо, чтобы все свободные спаи находились при постоянной температуре, лучше всего при 0°С. Однако не всегда имеется возможность сделать термоэлектроды термопар достаточно длинными и гибкими. При использовании термопар из благородных материалов делать длинные электроды экономически невыгодно. Соединительные провода, идущие от зажимов в головке термопары до места нахождения нерабочих спаев, называются удлиняющими термоэлектродами. Для того чтобы уменьшить погрешности от включения удлинительных электродов, следует выполнить два условия: термо-ЭДС удлинительного электрода должна быть равна термо-ЭДС основного электрода в диапазоне температур места их соединения и, второе, места присоединения удлинительных термоэлектродов к основным термоэлектродам в головке термопары должны иметь одинаковую температуру.
Для промышленно выпускаемых термопар платинородий-платина применяют удлинительные электроды из меди и сплава ТП, для термопар хромель-алюмель - из меди и константана, для термопар хромель-копель удлинительными электродами служат основные термоэлектроды, выполненные в виде гибких проводов.
Важным фактором учета погрешностей при измерениях термопарами является введение поправок D на температуру свободных концов термопары. При проведении ответственных измерений возможно термостатирование свободных концов термопары при 0°С. Однако в промышленных условиях термостатирование применять технически сложно и экономически нецелесообразно. Значение поправки D связано с разностью температур свободных концов через коэффициент Kt. Из-за нелинейности зависимости E = f (q) значение Kt различно для каждого участка кривой, поэтому градуировочную кривую (статическую характеристику) разделяют на участки по 100°С и для каждого участка определяют Кt.
Существуют системы автоматического учета поправок на температуру нерабочих спаев термопары. В цепь измерения включают мост с термозависимым резистором в плече, располагаемым в месте нахождения свободных спаев и имеющим одинаковую с ними температуру. В исходном состоянии (при q0=0) мост находится в равновесии, и на выходной диагонали напряжения нет. При изменении температуры холодных спаев мост выходит из равновесия и возникающее напряжение на выходной диагонали моста корректирует изменение термо-ЭДС термопары. Полной компенсации при этом не происходит из-за нелинейности характеристик термопар. Кроме того, усложняется схема датчика и появляются дополнительные погрешности из-за нестабильности источника питания моста и погрешностей его элементов.
|
|
|
Еще одна причина возможного возникновения погрешности—сопротивление измерительной цепи, состоящей из непосредственно термопары и соединительных проводов. В отечественных термоэлектрических термометрах сопротивление этой цепи принимают равным 5 Ом и регулируют его при помощи добавочного сопротивления из манганина непосредственно при наладке прибора.
Для измерения температур в пределах -200... +2500°С выпускают в соответствии с ГОСТ 6616-74 стандартные термопреобразователи температуры (табл. 9.5).
В зависимости от назначения термопары делятся на погружённые, предназначенные для измерения температуры жидких и газообразных сред, и поверхностные, предназначенные для измерения температуры поверхности твердого тела. В зависимости от инерционности различают термопары малоинерционные, тепловая постоянная времени которых не превышает 5 с для погружаемых и 10 с для поверхностных; средней инерционности соответственно не более 60 и 120 с и большой инерционности, с тепловой постоянной до 180 и 300 с. Кроме стандартных преобразователей используют также и специальные, расширяющие пределы измерений или имеющие конструктивное специфическое решение.
Таблица 9.5. Основные характеристики промышленных термопар
| Условное Обозначение | Материал термоэлектродов | Предел преобразования,°С | Погрешность термо-ЭДС | ||
| От | До | До 300 С | Свыше 300°С | ||
| ПП | Платинородий (10% родия)— платина | (1600) | ±0,01 | ± [0,01+2,5´ ´10-5 (q - 300)] | |
| ПР-30/6 | Платинородий (30% родия)— платинородий (6 % родия) | (1800) | — | ± [0,01+3,3´ ´10-5 (q - 300)] | |
| Х | Хромель — алю- мель | —50 | (1300) | ±0,16 | ± [0,16+2,0´ ´10-4 (q - 300)] |
| XK | Хромель — ко- пель | —50 | (800) | ±0,2 | ± [0,2+6,0´ ´10-4 (q - 300)] |
| ВР-5/20 | Вольфрамрений (5 % рения)— Вольфрамрений (20 % рения) | (2500) | ±0,08 (до 1000 °С) | ± [0,08+4,0´ ´10-5 (q - 1000)] (от 1000 до 1800 °С) |
Термопары помещают в защитный чехол из металла или керамики (рис. 9.28) для изоляции используют стекло, асбест, фарфор, шамот. При низких температурах можно использовать шелковую и эмалевую изоляцию. Рабочий конец термопары расположен в закрытой части чехла. Свободные концы термоэлектродов соединены с зажимами, укрепленными в головке 2.
|
|
|

Рис.9.28
В динамическом отношении измерители температуры представляют собой инерционные звенья второго порядка, передаточная функция которых
W(p) = K/[T1T2p2 + (T1+T2+T3)p+1],
где T1—постоянная времени защитной оболочки, с; T2—постоянная времени термометрического тела, с; T3—постоянная времени теплообмена, с.
Иногда измерители температуры в динамическом отношении представляют в виде двух последовательно соединенных звеньев: апериодического и запаздывания. В этом случае передаточная функция
W(p) = Ke-pt /(Tp+1).
Поскольку постоянная времени защитной оболочки значительно меньше постоянной времени термометрического тела, то ею обычно пренебрегают. В этом случае передаточная функция измерителя температуры выражается уравнением апериодического звена с постоянной времени, равной сумме постоянных времени термометрического тела и теплообмена,
W(p) = K/(Tp+1).
К достоинствам термопар необходимо отнести возможность измерений в большом диапазоне температур, простоту устройства, надежность в эксплуатации. Благодаря этим достоинствам термопары применяют очень широко.
Недостатки невысокая чувствительность, большая инерционность, необходимость поддержания постоянной температуры свободных спаев.
Терморезистивные преобразователи. Принцип действия терморезистивных преобразователей основан на свойстве проводников и полупроводников изменять свое электрическое сопротивление при изменении температуры.
Для терморезистивных преобразователей используют материалы, обладающие высокой стабильностью ТКС, высокой воспроизводимостью электрического сопротивления при данной температуре, значительным удельным электрическим сопротивлением, высоким ТКС, стабильностью химических и физических свойств при нагревании, инертностью к воздействию исследуемой среды. К таким материалам в первую очередь относятся платина, медь, никель, вольфрам и др. Однако наиболее широко применяют платиновые и медные терморезисторы.
Сопротивление платиновых терморезисторов в диапазоне температур от 0 до 650°С описывается уравнением
Rq = R0 (1+Aq + Bq2),
где Rq, R0 — сопротивления преобразователя при рабочей и нулевой температуре; A и B — постоянные коэффициенты.
Для платиновой проволоки, применяемой в промышленных терморезисторах A =3,96847×10-3 К-1; В=-5,847×10-7 К-2. В интервале температур от 0 до —200°С зависимость сопротивления платины от температуры имеет вид
Rq = R0 [1+Aq + Bq2+C(q-100)3],
где С = -4,356×10 -12 К -3.
К недостаткам платиновых преобразователей температуры относится довольно высокая загрязняемость платины парами металлов (особенно железа) при высоких температурах, сравнительно невысокая химическая стойкость в восстановительной среде, вследствие чего материал становится хрупким, теряет стабильность характеристик.
Медные терморезистивные преобразователи широко используют в диапазоне температур от 50 до 180°С благодаря низкой стоимости, довольно высокой стойкости к коррозии. Зависимость сопротивления от температуры описывается линейным уравнением
Rq = R0 (1+aq),
где a = 4,26×10 -3 К -4.
К недостаткам медных преобразователей температуры относится высокая окисляемость меди при нагревании, вследствие чего их применяют в указанном сравнительно узком диапазоне температур в средах с низкой влажностью и при отсутствии агрессивных газов.
Никель, химически стойкий материал даже при высоких температурах, имеет сложную зависимость сопротивления от температуры и невысокую ее воспроизводимость. Тугоплавкие металлы вольфрам, молибден, тантал, ниобий применяют мало из-за влияния температуры на структуру металла, что делает его хрупким. Сплавы, обладающие более высоким удельным сопротивлением, чем чистые металлы, в качестве материалов для преобразователей не используют из-за сравнительно низкого ТКС, значение которого в значительной степени зависит от количественного и качественного состава примесей.
Полупроводниковые терморезисторы отличаются от металлических большими значениями ТКС, а следовательно, меньшими размерами и инерционностью. Температурная зависимость для них описывается выражением
Rq = AeB/q,
где А, В — постоянные коэффициенты.
Недостатками полупроводниковых терморезисторов, существенно снижающих их эксплуатационные качества, является нелинейность зависимости сопротивления от температуры, значительный разброс как номинальных значений сопротивлений различных образцов, так и их ТКС.
Терморезисторы обычно применяют для измерения температур. При этом нагрузочный ток, проходящий через преобразователь должен быть мал. Если через терморезистор пропускать большой фиксированный ток, то перегрев терморезистора по отношению к окружающей среде может стать значительным. Установившее значение перегрева и соответственно сопротивления при этом будет определяться условиями теплоотдачи поверхности терморезистора. Если нагретый терморезистор поместить в среду с переменными теплофизическими характеристиками, то появляется возможность измерения ряда физических величин, например, скорости потока жидкостей и газов, плотности газов и т. п.
Чувствительность проволочных медных терморезисторов
KSм = dRq /dq = aR0
платиновых—
KSп = R0(A+2Bq).
Чувствительность проволочных медных терморезисторов постоянна, а чувствительность платиновых изменяется с изменением температуры. При одинаковых значениях R0 чувствительность медных терморезисторов выше.
Основными источниками погрешностей терморезистивных преобразователей температуры являются неточность подгонки сопротивления R0 при температуре 0°С и отклонение отношения W100 сопротивления R100 при 100 °С к сопротивлению R0, нестабильность этих параметров во времени, дополнительный нагрев от прохождения рабочего тока, нестабильность сопротивления съемных проводов, подходящих от измерительной схемы к преобразователю и др. Относительные погрешности dПОДГ и dОТН (в процентах), обусловленные неточностью подгонки R0 и отклонением W100 от номинального значения, определяют по выражениям (для платиновых терморезисторов):
;

,
где dRo, - относительное отклонение R0 от номинального значения; DA — отклонение коэффициента А от номинального значения.
Нестабильность терморезистивных преобразователей объясняется изменением значений R0 и W100 вследствие загрязнения чувствительного элемента конструкционными материалами. Погрешности, возникающие за счет изменения R0 и W100, имеют разные знаки, поэтому частично компенсируются.
По динамическим свойствам терморезистивные преобразователи идентичны термоэлектрическим преобразователем (см. предыдущий параграф).
Промышленно выпускаемые термопреобразователи температуры с платиновыми (ТСП) и медными (ТСМ) чувствительными элементами предназначены для измерения температур в диапазоне от -200 до +1100°С (табл. 9.6).
Таблица 9.6. Основные характеристики терморезистивных платиновых и медных преобразователей
| Тип преобразователя | Номинальное сопротивление при 0 С, Ом | Условное обозначение | Диапазон рабочих температур, °С |
| ТСП | (46) | 1П 5П 10П (гр. 21) 50П 100П 500П | —50..+1100 —100...+1100 —200...+1000 —260..1000 —260...+1000 —260...+1000 —260...+300 |
| ТСМ | (53) | 10M 50М (гр. 23) 100М | —50. +200 —50..+200 —50...+180 —200...+200 |
Промышленные термопреобразователи выпускают в виде чувствительных элементов в защитных корпусах. Чувствительный элемент современного платинового терморезистора имеет вид спирали, помещенной в канавки двух- или четырехканального керамического каркаса и уплотненной порошкообразным оксидом алюминия. Оксид алюминия является хорошим электрическим изолятором, обладает большой теплостойкостью и хорошей теплопроводностью. Чувствительный элемент медных терморезистивных преобразователей сопротивления представляет собой бескаркасную обмотку из медной изолированной проволоки, покрытой фторопластовой пленкой и помещенной в металлический защитный чехол.
Пирометры. Рассмотренные ранее преобразователи для измерения температуры предусматривают непосредственный контакт между чувствительным элементом и измеряемым объектом или средой. Верхний предел применения таких методов ограничивается термической стойкостью применяемых чувствительных элементов и лежит в пределах до 2500°С. Однако иногда необходимо измерить более высокие температуры или недопустим непосредственный контакт датчика со средой. В этих случаях применяют бесконтактные средства измерения пирометры, которые измеряют температуру по тепловому излучению. Серийно выпускаемые пирометры обеспечивают измерение температур в диапазоне от 20 до 6000°С.
В основе бесконтактных методов измерения температур лежит температурная зависимость излучения абсолютно черного тела (АТЧ), т.е. тела, способного полностью поглощать падающее на него излучение любой длины волны. Однако реальные тела полностью не поглощают падающее излучение и характеризуются коэффициентом поглощения аl, определяющим способность поглощать излучение исследуемым телом по сравнению с АЧТ.
По формуле Планка светимость абсолютно черного тела R*l однозначно определяется его абсолютной температурой q
R*l=C1l-5(1/e C2(lq-1)),
где С1=2phс2; С2=hс/К; h—постоянная Планка; К—постоянная Больцмана; l - длина волны.
Светимость любого тела Rl, через светимость R*l абсолютно
черного тела, можно выразить в виде
Rl=al R*l,
где аl — коэффициент поглощения исследуемого тела.
На рис.9.29 приведены кривые спектральной светимости абсолютно черного тела. При данной температуре q максимальное значение спектральной светимости АЧТ составляет R*l max =1,301×10-5 q5 и приходится на длину волны lmax=2886/q мкм, а его интегральная светимость согласно закону Стефана-Больцмана R* = 5,67×10-8 q4. Эти фундаментальные законы позволяют использовать оптические бесконтактные методы для измерения температуры реальных тел.

Рис.9.29 Рис.9.30
Пирометры делятся на радиационные, яркостные и цветовые. Радиационные пирометры используют для измерения температур от 20 до 2500°С. Температура, измеренная радиационным пирометром qP, всегда меньше истинной температуры тела q. Зависимость между ними определяется выражением
, где e — коэффициент неполноты (черноты) излучения, имеющий различное значение для разных материалов. В связи с этим радиационные пирометры нуждаются в градуировке конкретно для тех тел, температуру которых они измеряют.
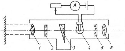
Схема радиационного пирометра представлена на рис.9.30. Он представляет собой телескоп, внутри которого расположены объектив, термобатарея из последовательно включенных термопар 2, светофильтр 3, окуляр 4. Рабочие концы термопар расположены на платиновом лепестке, покрытом платиновой чернью. При измерении телескоп наводится на объект 5, так, чтобы лепесток полностью перекрывался изображением объекта и вся энергия воспринималась термобатареей. Для защиты глаза при наводке телескопа используется светофильтр. Термо-ЭДС термобатареи является функцией мощности излучения и, следовательно, измерительный прибор можно отградуировать в градусах Цельсия.
Яркостные пирометры основаны на сравнении в узком участке спектра яркости исследуемого объекта с яркостью образцового излучателя. По спектральным плотностям излучений, можно определить интересующую нас температуру. Яркостные пирометры также обладают погрешностью от неполноты излучения измеряемая ими температура отличается от истинной. Однако эта погрешность остается примерно постоянной в широких пределах изменения коэффициента e и может быть учтена градуировкой прибора в рабочих условиях.

Рис 9.31
В яркостном пирометре (рис. 9.31) сравнивается яркость исследуемого тела и фотометрической лампы с плоской вольфрамовой нитью. Кроме фотометрической лампы 4 в телескопе расположены объектив 1, нейтральный светофильтр 2 для изменения вдвое пределов измерения, оптический клин 3 для получения линейной зависимости между углом поворота клина и яркостью (яркость нити пропорциональна пятой степени тока накала), окуляр 6 и светофильтр 5, обеспечивающий сравнение интенсивности излучения в узком диапазоне спектра. Яркости сравнивают, наблюдая нить образцового излучателя на фоне исследуемого тела. Если яркость тела больше яркости нити, то нить видна в виде черной линии на ярком фоне, в противном случае заметно свечение нити на более бледном фоне. При равенстве яркостей нить не видна, поэтому такие пирометры называют пирометрами с исчезающей нитью. Существенным достоинством яркостных пирометров является независимость их показаний от расстояния до излучающей поверхности и ее размеров.
Цветовые пирометры основаны на измерении отношения интенсивностей излучения на двух длинах волн, выбираемых обычно в красной и синей областях спектра. Если коэффициенты неполноты излучения для обеих выбранных длин волн совпадают, то температура, измеряемая цветовыми пирометрами, равна истинной температуре тела. Это одно из решающих преимуществ цветовых пирометров. Кроме того, показания цветовых пирометров принципиально не зависят от расстояния до объекта измерения и от поглощения радиации в среде, заполняющей это расстояние, если коэффициенты поглощения одинаковы для обеих длин волн.
При измерении на двух длинах волн l1 и l2 соответствующие им значения энергий определяются соотношениями
,
откуда искомое значение температуры можно найти из уравнения
.
Поэтому непременной составной частью любого цветового пирометра является вычислительное устройство, что можно считать их относительным недостатком. Кроме того, чтобы вычислить температуру, необходимо знать коэффициенты e1 и e2. В тех случаях, когда нет возможности предварительно их определить, можно провести измерение не на двух, а на четырех длинах волн. Располагая данными для составления четырех независимых уравнений можно с помощью вычислительного устройства решить их относительно неизвестных коэффициентов ei, а затем определить искомую температуру q.
Для того чтобы устранить погрешности, вызванные различием и нестабильностью характеристик приемников излучения и усилителей на каждой из длин волн, цветовые пирометры содержат один канал измерения интенсивности монохроматического излучения со сменными светофильтрами.
Для промышленных целей выпускают автоматические пирометры, у которых время установления показаний составляет около 1 с и погрешность измерений 1—1,5 %.