Представим, что некий груз поднят тросом из полимерного материала. Означает ли это, что груз может висеть в подвешенном состоянии к тросу сколь угодно долгое время? Нет, не означает. Хорошо известно, что нагруженный полимерный материал со временем может разрушиться. Время от начала нагружения полимера до его разрушения при σ = const называется долговечностью. В работах Журкова установлена связь между долговечностью полимера τ и величиной приложенного напряжения:
(38)
где а, А - постоянные, зависящие от природы материала и температуры. Температурная зависимость долговечности описывается уравнением:
(39)
или в логарифмической форме:
(40)
где τ0 - постоянная, близкая по значению к периоду тепловых колебаний атомов (τ = 10-12 – 10-13 с), U0 - энергия активации элементарного акта разрушения в отсутствие внешних напряжений, по величине близкая к энергии диссоциации химической связи, γ - «активационный объем», т. е. объем, где концентрируются напряжения, вызывающие разрыв одной или нескольких химических связей, k - постоянная Больцмана, Т - абсолютная температура.
|
|
|
Уравнение (40) было экспериментально подтверждено для целого ряда полимеров: полиэтилметакрилата, полистирола, полиамида-6, полиамида-6,6, ацетата целлюлозы, поливинилхлорида, полиэтилена, полипропилена и др. Соотношения (38), (39) получили объяснение, исходя из кинетической теории разрушения, разработанной Журковым в 50-х гг. XX в. Согласно этой теории, разрушение полимера связано с разрывом химических связей основной цепи. Это положение экспериментально доказано методом ЭПР, т.к. разрыв макромолекул приводит к образованию свободных радикалов. Механическое напряжение снижает энергию активации разрыва химических связей основной цепи U0 до величины U0 = γσ, что приводит к увеличению скорости роста трещин.
Длительное нагружение полимерного материала приводит не только к его разрушению, но и к постоянному изменению его размеров. Деформация во времени образца, находящегося под постоянной нагрузкой при σ < σт, называется ползучестью. Скачок деформации в начальный момент времени связан с распространением обратимой упругой деформации. Далее развивается необратимая деформация, скорость нарастания которой увеличивается со временем.
На практике количественно ползучесть характеризуют путем сравнения свойств полимеров, измеренных в начальный период нагружения полимера и по прошествии достаточно длительного времени. В настоящее время наибольшее распространение получил метод измерения модуля упругости через; 1 и 1000 часов после начала нагружения. Для многих полимеров отношение Е(1ч)/E(1000 ч) заключено в интервале 0,7 - 0,9.
|
|
|
Усталостная прочность. С точки зрения практического использования полимерных материалов очень важным является усталостное разрушение, т.е. разрушение, вызываемое изменяющимися во времени напряжением и деформацией. Усталостная прочность определяется многими факторами, в том числе и предысторией полимерного материала, однако, самым важным из этих факторов является амплитуда напряжения.
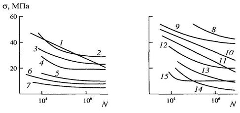
Зависимость между амплитудой напряжения σ и логарифмом числа циклов нагружения до разрушения полимерного материала называют кривой Вёлера. Такие кривые наиболее объективно характеризуют основные усталостные свойства материалов. На рис. 33 приведены кривые Вёлера для ряда полимеров, для некоторых из них число циклов нагружения слабо зависит от амплитуды напряжения. Для таких полимеров существует определенный предел амплитуды напряжения, ниже которого разрушения материала не наблюдается при увеличении числа циклов до бесконечности. Эта предельная амплитуда напряжения называется пределом выносливости. Именно эта величина должна использоваться в инженерных расчетах на усталостную прочность конструкции из полимерных материалов, подвергающихся длительным периодическим воздействиям. Наличие предела выносливости характерно не для всех полимеров. Аналогично для металлов, черные металлы имеют предел выносливости, цветные - не имеют. При отсутствии предела выносливости полимерные материалы, как и металлы, характеризуются амплитудой напряжения, соответствующей 107 циклам испытаний до разрушения.
Предел выносливости многих аморфных полимеров, таких как полистирол, полиметилметакрилат, поликарбонат, полифениленоксид и другие, составляет около 20% от статистического разрушающего напряжения, для полиамида-6,6 эта величина возрастает до 30 %, для полиметиленоксида - до 60%. Ударопрочные полимерные материалы, являющиеся, как правило, смесями полимеров, обладают незначительной усталостной прочностью.
|
| Рис.33 Зависимость числа циклов N до разрушения полимерного материала от напряжения: 1 – полиуретановый каучук; 2 – диаллифталат; 3 – ацетат целлюлоза; 4 – полиметилметакрилат; 5- полипропилен; 6 – полиэтилен; 7 – политетрафторэтилен; 8 – полиформальдегид; 9 – эпоксидный полимер; 10 – полиэтилентерефталат; 11 – полиамид; 12 – полифениленоксид; 13 – поликарбонат; 14 – сополимер этилцеллюлозы и тетрафторэтилена; 15 – полисульфон. |
Это объясняется легкостью образования трещин серебра на границе раздела жесткой и эластомерной фаз. В рассматриваемом случае трещины серебра играют отрицательную роль, так как они способствуют образованию усталостных трещин разрушения. Рост последних происходит скачкообразно: на первом этапе, после нескольких циклов нагружения, на втором - при каждом цикле нагружения. Элементарные акты усталостного разрушения отражаются на поверхности разрушения - она имеет полосатую структуру, причем на той части поверхности, что отвечает заключительному этапу разрушения, число полос равно числу циклов нагружения полимера.






