Компоновка должна наиболее полно обеспечить использование технических возможностей шасси и удобство эксплуатации самосвала.
Основными исходными данными для проведения компоновки являются:
– базовая модель автомобиля;
– основное назначение;
– годовой объем производства данной модели.
Последовательность работ при компоновке:
– выбор и обоснование принципиальной схемы самосвала;
– эскизная разработка основных агрегатов, широкое использование унифицированных;
– размещение и просчет механизмов в динамике;
– прочностной расчет основных деталей и узлов;
– определение весовых параметров.
Наибольшее распространение получили самосвальные установки с разгрузной платформы назад, гидроцилиндр расположен под платформой и передает усилие на ее основание. Это самосвалы ЗИЛ-ММЗ; МАЗ и др., а также самосвалы КамАЗ (цилиндр за платформой).
Автомобиль-самосвал состоит из шасси с кабиной и самосвальной установки.
Самосвальная установка включает:
– платформу;
– надрамник;
– гидравлическое опрокидывающее устройство.
Платформа предназначена для размещения груза, соответствует его специфике с учетом максимальной универсальности. В конструкции платформы могут быть предусмотрены съемные уплотнители бортов (перевозка зерна), тент для укрытия грузов от выдувания, съемные надставные борта для лучшего использования грузоподъемности шасси (силос, сено).
Платформа является наиболее трудоемкой, металлоемкой и быстро изнашиваемой частью самосвальной установки.
Платформа должна иметь откидывающиеся (поднимающиеся) борта с желательно дистанционно управляемыми запорами. Кроме того, обязательно оборудование платформы упором для механической фиксации кузова в поднятом положении.
Надрамник представляет собой сварную конструкцию и предназначен для установки на шасси автомобиля узлов самосвальной установки. Он состоит из двух продольных лонжеронов швеллерного сечения, закрепляемых на раме автомобиля, и поперечных балок.
На различных автомобилях-самосвалах надрамники аналогичны и отличаются лишь по типу профилей лонжеронов и поперечных балок, их размером и расположению отдельных элементов.
Гидравлическое опрокидывающее устройство служит для механизированной разгрузки сыпучих, навалочных и полужидких грузов с использованием мощности двигателя. Передача мощности от двигателя к исполнительному органу – гидроцилиндру, осуществляется при помощи гидропривода.
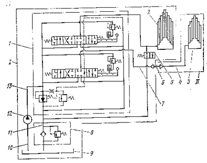
Принципиальная схема гидравлического опрокидывающего устройства показана на рисунке 6.1.

Рис. 6.1.Принципиальная схема гидравлического опрокидывающего устройства самосвального автопоезда: 1 – гидрораспределитель; 2, 3 – гидроцилиндры; 4, 7, 13 – напорные гидролинии; 5 – ограничительный клапан; 6 – соединительная муфта; 8 – фильтр гидробака с предохранительным клапаном; 9 – гидробак; 10 – всасывающая гидролиния; 11 – сливная гидролиния; 12 – насос; I – гидравлическое опрокидывающее устройство автомобиля-самосвала; II – гидравлическое опрокидывающее устройство прицепа-самосвала
В состав гидравлического опрокидывающего устройства входят:
– коробка отбора мощности – для привода во вращение насоса;
– насос – для сообщения рабочей жидкости необходимой энергии, расходуемой на подъем платформы. Насос, как правило, шестеренный, т. е. объемного типа, позволяющий передавать жидкости всю подводимую энергию. Напор на выходе объемного насоса ограничивается только мощностью привода и механической прочностью конструкции. Необходимый предел может регулироваться редукционным клапаном (аналогично масляному насосу двигателя);
– гидрораспределитель золотникового типа – предназначен для направления потока рабочей жидкости от насоса к гидроцилиндрам и из гидроцилиндров в гидробак, для ограничения давления в гидроприводе; для фиксации платформы в необходимых положениях.;
– гидроцилиндр – исполнительный орган для опрокидывания платформы. Телескопический, одностороннего действия на подъем. Опускание платформы происходит под действием ее веса. Уплотнительные, и стопорные кольца обеспечивают герметичность и ограничение хода выдвижения звеньев. Устанавливается под или спереди кузова;
– ограничительный клапан – для ограничения хода выдвижных звеньев гидроцилиндра. При максимальном подъеме платформы происходит перемещение оси гидроцилиндра и толкатель, закрепленный на его корпусе, через рычаг нажимает на регулировочный болт ограничительного клапана. Усилие передается на шарик, который, сжимая пружину, сообщает напорный трубопровод со сливным (в гидробак);
– гидробак – для питания гидропривода рабочей жидкостью, охлаждения рабочей жидкости, удаления из нее пузырьков воздуха, обеспечения температурной компенсации изменения объема рабочей жидкости и ее фильтрации;
– запорная муфта, устанавливаемая на конце запорного трубопровода на прицеп-самосвал. При стыковке запорные шарики отжимаются от гнезд, и жидкость проходит в систему прицепа. При расстыковке пружины плотно прижимают шарики к гнездам;
– разрывная муфта – по устройству аналогичная запорной, срабатывает при разрыве слабого звена в соединителе тягач-прицеп;
– трубопроводы, предназначенные для соединения узлов гидравлического, опрокидывающего устройства, состоящие из стальных труб, гибких рукавов высокого и низкого давления и соединительной арматуры.
Для дистанционного управления работой гидропривода используют электропневмоклапаны, направляющие потоки рабочей жидкости в необходимых направлениях.
Закрывание бортов платформ автомобиля и прицепа-самосвала осуществляется при помощи пневмокамер. Воздух подается в них через электропневмоклапаны.
Наладка и регулировка гидравлических, электрических и пневматических коммуникаций и узлов должна производиться в специализированной мастерской с использованием контрольно-измерительной аппаратуры.






