Для регулирования скорости электровоза путем применения различных ступеней ослабления возбуждения на электровозе установлен переключатель ослабления возбуждения 5KS (рис. 126). Как и главный переключатель, он состоит из каркаса, кулачкового вала, контакторов, дугогасительных камер, блокировочных контактов и пневматического привода.
Каркас выполнен из двух литых боковин 1 и 5, соединенных между собой стальными поперечинами 3 и впрессованными в горячем состоянии бакелитовой бумагой стержнями 11. В боковинах укреплены шариковые подшипники, в которых может вращаться барабан 10.
К этому барабану прикреплены бакелитовые кулачковые шайбы, сделанные для удобства смены разрезными.
На стержнях 11 смонтировано 16 контакторов 9 (по четыре контактора в группе), подвижные контакты которых включаются выступами кулачковых шайб, а выключаются под действием пружин, как у главного переключателя. Контакты — медные.
При размыкании контактора дуга магнитным потоком дугога-ситеЛьной катушки выдувается в дугогасительные камеры. Камеры
|
|
|

выполнены из асбоцемента и укреплены на раме 2, при повороте которой все 16 камер поднимаются и открывают доступ к контакторам. В этом положении рама 2 поддерживается специальными рычагами.
В средней части переключателя помещена плита 4 из текстолита, которая служит для создания жесткости конструкции — укрепления поперечин 3 и стержней 11.
На конце вала барабана 10 с наружной стороны боковины 1 укреплены бакелитовые кулачковые шайбы 13, управляющие включением и выключением блокировочных контактов. Положение барабана 10 указывается стрелкой на шкале 12.
Главный вал переключателя ослабления возбуждения приводится во вращение пневматическим приводом 15NP, таким же как и у главного переключателя. Очередность работы цилиндров привода соответствует рис. 122, лишь в схеме вентили обозначены — 097 и 098.
Вал привода 7 связан с главным валом переключателя через двойную зубчатую передачу 6, не отличающуюся от передачи привода главного переключателя. Сам привод установлен на кронштейне 8, приваренном к боковине 5. При повороте вала пневматического привода на одну позицию (на 90°) главный вал переключателя поворачивается на 7°30'.
В табл. 4 приведена последовательность возбуждения вентилей и наполнения сжатым воздухом цилиндров пневматического привода для всех его шести позиций (см. рис. 122). На нем в скобках указаны номера вентилей переключателя ослабления возбуждения 097 и 098.
Вал пневматического привода при переходе с 1-й позиции на 6-ю позицию поворачивается на 360+90=450°.
Провода цепи управления к катушкам электромагнитных вентилей и блокировочным контактам подведены кабелем через многоконтактное штепсельное соединение.
|
|
|
Контакторы переключателя выполнены на номинальное напряжение 3000 В и ток 525 А. Нажатие контактов контакторов составляет 6 кгс, общий вес аппарата 480 кг.
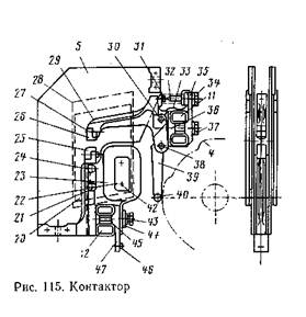
Контактор переключателя ослабления возбуждения (рис. 115—117) имеет неподвижные 25 и подвижные 26 контакты. Первые из них винтами укреплены на держателе 24, соединенном через дугогасительную катушку 23 с зажимом 47, к которому болтом 46 присоединяют кабель. Дугогасительная катушка 23 надета на сердечник 22, изготовленный из электротехнической стали.
|
|
К сердечнику 22 четырьмя винтами 42 с потайными головками прикреплены наконечники 20: Во избежание ослабления крепления головки винтов закреплены. Полюсные наконечники 20 в свою очередь винтами 21 связаны также с держателем 24. Зажим 47 и держатель 24 стянуты болтом 43 и укреплены на изолированных стержнях 12. Болт 43 изолирован от зажима 47 гетинаксовой (гумойдной) прокладкой 44 и втулкой 45.
Соединение между держателем 24 и выводом дугогасительной катушки 23 осуществлено через полюсные наконечники 20 и сердечник 22, к которому подведен внутренний вывод дугогасительной катушки.
Подвижные контакты 26 прикреплены винтами 27 к рычагу 29, который может поворачиваться относительно валика 38, пропущенного через отверстие в выступе кронштейна 36. Кронштейн с помощью болта 37 и накладки 35 прикреплен к изолированным стержням 11. На верхнее плечо рычага 29 постоянно действует пружина 32, надетая на болт 34, ввернутый в накладку 35. Рычаг 29 валиком 30 соединен с управляющим рычагом 39, на нижнем конце которого на оси 40 помещены ролики 41.
Управляющий рычаг 39, как и рычаг 29, может поворачиваться относительно валика 38. Под действием пружины 32, стремящейся повернуть рычаг 29 в положение замыкания контактов 25 и 26, ролик 41 прижимается к кулачковой шайбе 4. В положениях, показанных на рис. 115 и 116, выступающая часть шайбы отжимает управляющий рычаг 39, а с ним и рычаг 29 с подвижным контактом от неподвижного. Когда кулачковый вал поворачивается и ролик 41 попадает в выемку шайбы 4, происходит замыкание контактора. При замыкании и размыкании аппарата контакт 26 скользит по поверхности контакта 25 (притирается), вследствие чего контактные поверхности очищаются от окислов и грязи.
Ток к подвижному контакту 26 подводится через рычаг 29 и медный шунт 33, прикрепленный болтами 31 к рычагу 29 и болтом 34 к накладке 35, к которой присоединяется подводящий кабель.
При размыкании контактов электрическая дуга выдувается в дугогасительную камеру 5 магнитным потоком, образованным дугогасительной катушкой 23 между полюсными наконечниками 20. Полюсные наконечники 20 контактора переключателя покрыты изоляцией 28, отделяющей их от стенок дугогасительной камеры.

Кулачковый вал переключателя ослабления возбуждения (см. рис. 112) представляет собой стальную трубу 3, к концу которой приварены шейки 13. На них укреплены внутренние кольца шариковых подшипников; наружные их кольца вмонтированы в боковины 1 и 7. На трубчатой части вала установлены бакелитовые кулачковые шайбы 4, выполненные из двух половин каждая, что облегчает их монтаж на валу. Каждая половина кулачковой шайбы крепится к валу двумя болтами, головки которых закрыты изолирующими колпаками из полиэтилена.
При ремонте электровоза применяются новые шайбы, изготовленные из прессматериала АГ-4В (ГОСТ 20437—75); допускается замена на волокнит ВЛ1 (ГОСТ 5689—73). На рис. 118 показана одна из половин кулачковой шайбы.

На конец кулачкового вала со стороны боковины 7 (см. рис. 112) посажена шестерня редуктора. На противоположный конец насажены бакелитовые шайбы 19 и диск 14, на котором нанесены деления, соответствующие различным позициям вала. Шайбами 19 производится включение и выключение блокировочных контактов 16. Позиции кулачкового вала на диске 14 показываются неподвижной стрелкой.
|
|
|
По обе стороны кулачкового вала расположены контакторы (контакторные элементы) с дугогасительными камерами 5 я 6. Последние укреплены на общей раме 2 и могут быть при необходимости подняты, что позволяет осмотреть и отремонтировать контакторы. В рабочем положении рама фиксируется зажимами 18, а в открытом — специальными защелками 17. При опускании блока дугогасительных камер нажимают либо непосредственно на защелку 17, либо на педаль, установленную на вглу и связанную с защелкой тросом. Для поворота кулачкового вала вручную предусмотрен штурвал 15.
Дугогасительные камеры. Главный переключатель снабжен дугогасительными камерами двух типов: деионными решетками 6 и без них — 5 (см. рис. 112—114). Первые из них установлены на контакторах, которым приходится гасить дугу при разрыве цепи между точками, имеющими высокое напряжение. Контакторы же, замыкающие отдельные секции резисторов и имеющие небольшое напряжение между своими контактами (когда дуга между ними разрывается значительно легче), снабжены камерами более простой конструкции.
Дугогасительная камера с деионной решеткой (рис. 119) имеет две боковые асбоцементные стенки 5. Пространство между ними разделено перегородкой 10, изготовленной из того же материала.
Между стенками установлены керамические (керитовые) бруски 2, через которые пропущены болты 1, скрепляющие стенки и бруски между собой. Кроме того, болты пропущены через стенки и асбоцементные цилиндрики 8. В верхней боковой части камеры помещены деионные решетки, состоящие из стальных листов 4, которые вместе с распорными шайбами 9 набраны на стальные шпильки 3 и затянуты гайками. Листы изолированы от шпилек гетинаксовы-мц трубками 6. Распорные шайбы 9 изготовлены из асбоцемента.
|
|
|
К вертикально расположенной шпильке 3 прикреплен медный дугогасительный рог 7, по которому при разрыве тока сбегает дуга с неподвижного контакта. При размыкании контактора его дугога-сительной катушкой электрическая дуга выдувается в сторону деионных решеток, растягивается, охлаждается и, достигая решеток, разрывается.

Пневматический привод. Кулачковый вал главного переключателя поворачивается с позиции на позицию пневматическим приводом 15NP (рис. 120 и 121). Он состоит из литого чугунного корпуса 4, к которому прикреплены четыре (два двойных) цилиндра 14 и 18 диаметром по 72 мм, чугунный картер 5 для масла и корпус блокировочных контактов. Двойные цилиндры расположены под углом 90° друг к другу. В боковые стенки корпуса 4 запрессованы шариковые подшипники 16 и 19, в которых вращается коленчатый вал 8.
В цилиндрах помещены четыре поршня 12, снабженные резиновыми уплотняющими кольцами)/. Поршни связаны с коленчатым валом 8 при помощи поршневых пальцев 10 и шатунов 9, в которые вштампованы втулки, обхватывающие шейки коленчатого вала и пальцы. Поршни имеют ход 100 мм.


Масло для смазки трущихся частей привода наливается до уровня, ограниченного отверстием, закрываемым болтом 6. Отработавшее масло выпускается из картера 5 через нижнее отверстие, закрытое коротким болтом 7. Для предотвращения утечки масла через места выхода коленчатого вала 8 из корпуса 4 с наружной стороны подшипников 16 и 19 поставлены уплотняющие кольца 15 и 20 типа «Гуферо». Для поддержания при работе механизма атмосферного давления внутри корпуса 4 в него ввернут болт 17 с отверстием для прохода воздуха.
Впуск и выпуск сжатого воздуха в цилиндры производятся электромагнитными вентилями 1 через воздухооаспоеделители 2
и каналы крышек 3 цилиндров. Сжа тый воздух к воздухораспределите лям подается по трубе 13 диамет ром 1/2", расположенной на корпу се 4.
Вал пневматического привода че рез редуктор соединен с кулачковыл валом переключателя. Редуктор i передаточным числом 1:12 помеще! в кожух 21. Первая пара зубчаты: колес имеет передаточное числе 16:64, вторая пара—16:48. Мо дуль зубчатых колес первой переда т 3,5 второй —4; угол зацепления — 20°. При повороте вала привода не 30° (на одну позицию) кулачковый вал поворачивается на 90:12 = = 7°30', т. е. тоже на одну свою по зицию. Один оборот вала приводг соответствует четырем позициям.
Так как последний имеет 48 позиций, то для полного поворота его кулачкового вала необходимо 12 полных оборотов вала привода (рис. 122). На нулевой позиции главного переключателя ни один из электромагнитных вентилей, обозначенных в схеме электровоза 047 и 048, не возбужден, полости цилиндра 2 и 3 сообщены с атмосферой, а цилиндров / и 4 — с источником сжатого воздуха. При этом механизм привода займет положение /.
На позиции X переключателя возбуждается вентиль 047, полость цилиндра 2 сообщается с источником сжатого воздуха, а полость цилиндра 4 — с атмосферой, и механизм займет положение //.
На 1-й позиции переключателя возбуждены оба вентиля 047 и 048. При этом полость цилиндра / сообщится с атмосферой.







