Контактор с дугогашением
Технические характеристики ЭКГ-8Ж
Назначение.
Главный контроллер
Главный контроллер типа ЭКГ-8Ж (в схеме электровоза на рис. 8.2 обозначен ГП, вкладка) служит для переключения под нагрузкой тяговых вторичных обмоток трансформатора, с целью изменения напряжения, подводимого к ТЭД электровоза.
Число контакторов с дугогашением........................................................4
Число контакторов переключателя ступеней.......................................18
Число контакторов переключателя обмоток.........................................12
Номинальное напряжение изоляции, В..............................................3100
Номинальное напряжение между разомкнутыми контактами контактора, В:
с дугогашением......................................................................................260
без дугогашения..................................................................................1100
Номинальный ток силовых контакторов, А......................................1300
Число фиксированных позиций..............................................................33
Число ходовых позиций...........................................................................9
Время переключения с нулевой до 33-й позиции, с..........................25÷28
|
|
|
Число контактов блокировочного устройства привода.......................14
Число контактов блокировочного устройства контроллера.................17
Номинальное напряжение блокировочных контактов..........................50
Номинальный ток блок-контактов, А...................................................30
Масса, кг................................................................................................920
Нажатие разрывных контактов, кгс.................................................12÷13
Нажатие главных контактов, кгс.............................................................12
Раствор разрывных контактов, мм..................................................20÷26
Раствор главных контактов, мм.......................................................22+30
Давление воздуха для дугогашения, кгс/см2...........................................5
Раствор главных контактов в момент касания
разрывных, мм.....................................................................................8÷0
Зазор между якорем и ярмом компенсатора
при замкнутом положении контактов, мм...........................................4 ÷ 6
Контактное нажатие, кгс..................................................................14÷20
Раствор контактов, мм......................................................................22÷30
Устройство.
Главный контроллер ЭКГ-8Ж состоит из следующих основных частей (рис. 5.5): переключателя обмоток (ПО); переключателя ступеней (ПС); четырех контакторов с дугогашени-ем (А, Б, В, Г см. рис. 8.2, вкладка) со своим полым валом; редуктора с сервомотором (СМ), а также блокировочных устройств привода и контроллера. Все эти узлы смонтированы на одном общем основании ЭКГ, состоящем из трех стальных рам толщиной 20 мм, скрепленных между собой по бокам четырьмя стальными изолированным трубами с болтами.
Переключатель обмоток (ПО) — осуществляет переключение тяговых вторичных обмоток трансформатора (нерегулируемой и регулируемой) со встречного включения (до 17-й позиции) на согласное включение (от 18-й до 33-й позиции). Он состоит из своего кулачкового вала, закреплённого в шарикоподшипниках средней и крайней рам. На вал ПО напрессовано 12 кулачковых шайб. Каждая шайба управляет работой одного силового контактора без дугогашения (12шт) по схеме: 9, 19; 21, 31; 32, 33 и 29, 39; 25, 35; 36, 37 (см. рис. 8.2, вкладка). Контакторы 32,33 и 36,37 замкнуты до 17-й позиции ЭКГ. Контакторы 9, 19 и 29, 39 замкнуты на позициях 18—33. Переключение всех контакторов ПО происходит между 17-й и 18-й позициями ЭКГ на переходных позициях П2, ПЗ, П4, П5. При наборе одной позиции ЭКГ вал ПО поворачивается на 9°, при наборе 33 позиций — на 342°.
|
|
|
Переключатель ступеней (ПС ) — осуществляет подключение к нерегулируемым частям обмоток тягового трансформатора определенное количество регулировочных секций, в зависимости от позиции ЭКГ. Он состоит из своего вала, закрепленного в шарикоподшипниках средней и передней рам основания. На вал ПС напрессовано 18 кулачковых изолированных шайб. Каждая шайба управляет работой одного силового контактора без дугогашения (18 шт.) по схеме (рис. 8.2, вкладка) 11; 12, 22; 13, 23; 14, 24; 10, 20 и 15; 16,26; 17,27; 18,28; 30,40. С задней стороны вал ПС соединен с валом ПО четырьмя шестернями с общим передаточным числом /=1:2. С передней стороны вал ПС соединеь с валом второго мальтийского креста редуктора двумя шестернями с /' = 3:10. При наборе одной позиции ЭКГ вал ПС поворачивается на 18°, а при наборе 33 позиций — на 684°.
Полый вал — своими кулачковыми шайбами, приводит в действие силовые контакторы с дугогашением. С передней стороны вал ПС имеет удлиненную цапфу, на которой укреплен полый вал в виде втулки. На полый вал напрессованы 4 кулачковые шайбы. Каждая шайба управляет работой одного контактора с дугогашением — А, Б, В, Г. Полый вал соединен с валом первого мальтийского креста редуктора двумя шестернями с / = 1: 2. При наборе одной позиции ЭКГ полый вал поворачивается на 90° — за три такта по 30° в каждом.
|
Контактор без дугогашения — 30 шт. (12 шт. для ПО, 18 шт. для ПС) (рис. 5.6) состоит из двух изоляционных боковин (пресс-материал АГ-4), между которыми вверху жестко укреплен неподвижный силовой контакт. В средней части между боковинами шарнирно укреплен латунный рычаг в виде коромысла. На верхней части рычага жестко укреплен подвижный силовой контакт с шунтом. На нижнем конце рычага укреплен ролик, против которого находится кулачковая шайба вала ПО или вала ПС. С другой стороны в нижний конец рычага упирается сжатая включающая пружина. Собранный контактор крепится на двух изолированных трубах основания ЭКГ с помощью нижнего хомута с двумя болтами и верхнего прижима с болтом.
Включение контактора происходит за счет включающей пружины, когда к ролику рычага подходит вырез кулачковой шайбы.
Отключение контактора происходит при повороте вала ПО или вала ПС, когда на ролик рычага нажимает выступ их кулачковой шайбы.
Подвижные и неподвижные силовые контакты выполнены из меди с напайками толщиной 3 мм из сплава СОК-15 (серебро — 85 %, окись кадмия — 15 %). Износ напаек допускается до толщины 0,5 мм.

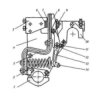
Силовой контактор ЭКГ без дугогашения: / — хомут для крепления контактора к нижней трубе основания; 2 — включающая пружина; 3 — гибкие медные шунты; 4 — изоляционные боковины (2 шт.); 5 — контакто-держатель; б — якорь электромагнитного компенсатора; 7 — накладка неподвижного контакта; 8 — подвижный контакт; 9 — ярмо электромагнитного компенсатора; 10 — прижим для крепления контактора к верхней трубе основания; 11 — стопорный винт; 12 — ось рычага; 13 — латунный рычаг;
14 — ролик рычага
Контактор с дугогашением —4 шт. (А, Б, В, Г)> устроен подобно контактору без дугогашения, однако имеет следующие отличия (рис. 5.7): кроме главных силовых контактов у него есть верхние дугогаситель-ные силовые контакты (подвижный и неподвижный); имеется дугога-сительная камера и система с магнитным гашением дуги. На верхней части латунного рычага-коромысла шарнирно укреплен рычаг с притирающей пружиной, с гибким медным шунтом и с подвижным разрывным контактом сверху. Дугогасительные контакты из меди с мед-но-вольфрамовыми напайками (медь — 30 %, вольфрам — 70 %) толщиной 8 мм. Износ напаек допускается до толщины 2 мм.
|
|
|

Силовой контактор ЭКГ с дугогашением: 1 — хомут для крепления контактора к нижней трубе основания; 2 — включающая пружина; 3 — гибкие медные шунты; 4 — латунный рычаг; 5 — изоляционная боковина (2 шт.); б — подвижный контакт рычага; 7 — якорь электромагнитного компенсатора; 8 — контактодержатель; 9 — дугогасительная катушка; 10 — дугогаси-тельная камера; // — сердечник дугогасительной катушки; 12 — дугогаси-тельные контакты; 13 — канал для подачи воздуха с целью гашения дуги; 14 — главные контакты; 15 — рычаг подвижных контактов; 16 — притирающая пружина; 17 — гибкий шунт; 18 — ярмо электромагнитного компенсатора; 19 — ось с резиновой втулкой; 20 — прижим для крепления контактора к верхней трубе основания; 21 — ось латунного рычага; 22 — стопорный винт; 23 — кулачковая шайба; 24 — ролик рычага
При отключении контакторов А, Б, В, Г вначале без дуги размыкаются нижние главные контакты на 8÷10 мм, и только затем начинают размыкаться верхние дугогасительные контакты с дугой.
Гашение дуги на дугогасительных контактах контакторов А, Б, В, Г происходит внутри дугогасительной камеры за счет магнитного потока (который создается при прохождении тока по контактам и усиливается боковыми шихтованными полюсами) и за счет подачи сжатого воздуха из главных резервуаров давлением 9 кгс/см2 снизу вверх в дугогасительную камеру от электропневматических вентилей 221 и 222 (см. рис. 8.8, вкладка), катушки которых получают питание только при наборе и сбросе позиций.
|
|
|
Дугогасительная камера выполнена из двух боковин дугостой-кого пресс-материала ПКО-1-3-11, с деионной решеткой из медных и стальных пластин внутри.
Редуктор главного контроллера — служит для передачи вращения от сервомотора на все валы ЭКГ. Редуктор ЭКГ (рис. 5.8) состоит из корпуса, из верхней и нижней частей, отлитых из силумина и скрепленных с боков по буртам болтами. В корпусе редуктора сверху в шарикоподшипниках укреплен червяк, который находится в зацеплении с червячным колесом с передаточным числом / = 1:10. (Вал червячного колеса через две шестерни сг = 1:4,5 соединен с верхним блокировочным валом ЭКГ.)
На одном валу с червячным колесом укреплен поводок с двумя пальцами (в виде дисков, между которыми закреплены два пальца и два сегмента). При своем вращении двухпальцевый поводок двумя пальцами периодически входит в зацепление со своим шестизаходным мальтийским крестом № 1 и поворачивает его на 60° при каждом зацеплении.
Вал мальтийского креста № 1 выходит наружу из корпуса редуки двумя шестернями с / = 3:10 соединен с валом ПС, который в свою очередь соединен с валом ПО через четыре шестерни промежуточного редуктора с общим / = 1:2.
Снаружи корпуса редуктора червяк через шестерню предельной муфты, через промежуточную пластмассовую шестерню соединен с шестерней на валу сервомотора СМ (общее передаточное число i = 1:1 от СМ до червяка).
Корпус редуктора внутри заполнен осевым маслом (4 кг). К пробке для заливки смазки приварен щуп с двумя рисками—для замера уровня смазки. (В пробке предусмотрено отверстие для соединения с атмосферой.) В нижней части корпуса редуктора установлен обогреватель масла (Р = 130 Вт на U = 55 В), который включается при температуре ниже -20 °С автоматическим выключателем ВА31 «Обогрев ЭКГ».
|






