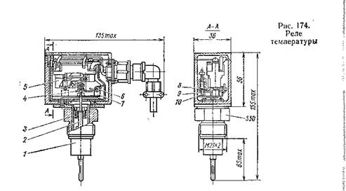
Реле (рис. 174) состоит из манометрической жидкостной термосистемы /, ко дну сильфона которой прижат пружиной 3 ^-------------- >, шток 2. Вторым концом
шток 2 воздействует на систему рычагов 4 и 7, шар-нирно укрепленную на оси 6 и поджатую к штоку 2 двумя пружинами кручения 8. Кинематическая связь рычагов 4 и 7 осуществляется пружиной 9 и винтом 10. При изменении температуры контролируемой среды, окружающей термосистему /, объем жидкости в ней изменяется, что приводит к перемещению дна сильфона и штока, который передает это перемещение рычагу 4. При повышении температуры рычаг 4, перемещаясь, через пружину 9 перемещает рычаг 7, который своим концом воздействует на кнопку переключателя 5.
При понижении температуры контролируемой среды объем жидкости в термосистеме уменьшается,
|
дно сильфона и штока переместится вниз, вместе с ним переместятся вниз под действием пружин 8 и 9 рычаги 4 и 7. Рычаг 7 отойдет от кнопки переключателя 5, и переключатель сработает в обратном направлении. Конструкция реле допускает перестройку на температуру от 0 до 100° С. Для уменьшения уставки винт 10 необходимо вращать против часовой стрелки, для увеличения уставки винт вращать по часовой стрелке.
|
|
|
ТЕПЛОВЫЕ РЕЛЕ ЕТ60-32
Для защиты обмоток электродвигателей компрессоров и вентиляторов, а также последовательно включенных им аппаратов от недопустимого перегрева, который может возникнуть при длительном превышении номинального тока в цепи этих машин включены тепловые реле (термореле) ЕТ60-32 (рис. 173).
Реле смонтировано по панели / и имеет биметаллический элемент 3, через который проходит ток электродвигателя. Элемент выполнен из двух скрепленных между собой пластин, материалом для которых служат металлы с различным коэффициентом расширения.
При нагревании током пластины элемента по-разному изменяют свои размеры, в результате чего элемент выгибается и размыкает помещенные в корпусе 2 контакты реле, которые обесточивают катушку электромагнитного контактора, вследствие чего силовые контакты контактора выключают цепи электродвигателя. Тепловое реле рассчитано на срабатывание при номинальном токе 13 А.
|
Каждое реле имеет блокировочные контакты: один замкнутый, а другой разомкнутый.
При ремонте электровозов тепловые реле частично заменялись реле перегрузки РБ-340Б, у которых к имеющемуся размыкающему блокировочному контакту, устанавливался дополнительно замыкающий контакт. Ток уставки этого реле равен 45 А.






