Реле
Общие сведения. На э.п.с. реле используют в устройствах защиты, при автоматизации процессов управления, а также в качестве промежуточных для размножения или передачи сигналов от одной цепи управления в другую. Наибольшее распространение получили электрические реле, а для выполнения некоторых специальных функций — тепловые, возду-хоструйные и другие. По виду контролируемого параметра (входной величины) различают реле тока, напряжения, времени, реле оборотов, давления и др. По значению параметра, на которое они реагируют, различают реле максимальные (срабатывают при возрастании контролируемой величины) и минимальные (при уменьшении ее). Реле, срабатывающие при определенных значениях разности контролируемых величин, называют дифференциальными. По принципу действия реле делят на контактные — электромагнитные, электродинамические, тепловые и т. д. и бесконтактные — магнитные, полупроводниковые.
Рассмотрим конструкции реле, наиболее распространенных на э.п.с.
|
|
|
Реле максимальной токовой защиты (реле перегрузки). Эти реле служат для защиты тяговых двигателей или вспомогательных машин от перегрузки и токов к.з. Реле срабатывают, когда ток в цепи тяговых двигателей или цепи вспомогательных машин превышает ток уставки реле.
Реле перегрузки электромагнитные имеют токовую катушку, включенную последовательно в защищаемую цепь. Реле выпускают без механизма возврата (самовосстанавливающиеся) и с механизмом возврата (восстанавливаемые).
К самовосстанавливающимся относят, например, реле перегрузки РП-1, РТ-253, РТ-255, РТ-406, РТ-410, РТ-430, РТ-102, РТ-500, РТ-502 различных исполнений. Якорь этих реле после размыкания цепи и исчезновения тока в катушке автоматически возвращается в исходное рабочее положение, и контакты цепи управления вновь замыкаются Указанные реле по конструкции максимально унифицированы. К восстанавливаемым относят реле перегрузки типов РП-5, РП-429, РП-19, Р-103/Р-102, РП-ЗБ, РМ-165 и РП-14А, у которых контакты после размыкания цепи не возвращаются в исходное рабочее положение. Реле этих типов используют вместе с контакторами, что обеспечивает повторное замыкание цепи только по усмотрению машиниста.
Характерной особенностью реле перегрузок является большое значение отношения тока срабатывания к номинальному току; обычно оно равно 1,5—2,0 Реле перегрузки типов РП-19, РП-14А, Р-ЮЗ/Р-102 (рис. 202) и РП-18В компактны, универсальны по конструкции, в которой использованы возможности уменьшения габаритных размеров и технологического упрощения деталей магнито-провода, определяемые условиями работы импульсных реле. Конструкция реле позволяет применить для одного, двух, трех реле и более один механизм восстановления, блок-контакты которого переключаются при срабатывании любого реле.
|
|
|
Зазор б между планкой 6 и шпилькой обеспечивает накопление кинетической энергии движущимся якорем. Чтобы определить цепь, в которой сработало реле, применен указатель. Когда якорь притягивается к сердечнику под действием собственного веса, указатель занимает вертикальное положение (на рис. 202 показано штриховыми линиями).
Регулируют реле перегрузки на определенный ток срабатывания, изменяя натяжение пружины 16 регулировочным винтом; требуемое усилие пружины 14 может быть установлено регулировочным винтом 13

Реле перегрузки РТ-502 электровозов ВЛ11, ВЛ10У, ВЛ10-
/ — панель; 2 — катушка, 3 — магнитопровод; 4 — полюсный наконечник, 5 — якорь; 6 — указатель срабатывания; 7, 8, 11 — регулировочные шпильки; 9 — пружина, 10 — блок-контакты.
Реле напряжения. Это электромагнитные реле с многовитковой катушкой из меди малой площади сечения; применяют их в качестве реле повышенного и
пониженного напряжения, нулевых реле, промежуточных реле, реле контроля земли, реле времени, реле заземления.
Катушки таких реле обычно выполняют на напряжение до 500—600 В, а при более высоком напряжении включают последовательно с ними добавочный резистор. Это повышает надежность катушки по изоляции и обеспечивает меньшее влияние нагрева катушки на уставку реле, так как добавочный резистор делают из материала, имеющего значительно меньший температурный коэффициент (нихром, константан) по сравнению с медью.
Реле напряжения, как и реле перегрузки, подразделяют на восстанавливаемые и самовосстанавливающиеся. Однако реле напряжения с механизмом восстановления получили сравнительно небольшое распространение Более широко используются самовосстанавливающиеся реле. Они имеют простейшую конструкцию: магнитная система с якорем и катушкой и одна или несколько пар контактов.
В качестве реле максимального и пониженного напряжения, промежуточных и защитных применяют ряд электромагнитных реле различных исполнений,

Реле повышенного напряжения РПН-5 и РПН-3 электровозов ВЛ10, ВЛ8(а), реле времени РЭВ-312 (б), РЭВ-294 (в) и реле заземления РЗ-303 (г) электровозов ВЛ80К, ВЛ80Т,
ВЛ80С-
/ — панель; 2 — магнитопровод, 3 — наконечник полюсный; 4 — якорь, 5 — пружина регулировочная,
6 — упоры, 7 — регулировочная гайка; 8 — регулировочная шпилька, 9 — стойка, 10 — рычаг; // н 16 —
катушки, 12 — контакты мостикового типа; 13 — блокировка; 14 — пружина, 15 — демпферная медная
трубка; 17 — указатель срабатывания, 18 — шток
но сходных по конструкции и принципу работы. Для примера на рис. 207, а показаны реле повышенного напряжения РПН-5 и РПН-3, применяемые на электровозах ВЛ10 и ВЛ8. Аналогичную конструкцию имеет промежуточное реле РП, реле низкого напряжения РНН-3, реле контроля защиты РКЗ-3 электровозов ВЛ10, ВЛ8, ВЛ60, ВЛ60*. Во избежание прилипания якоря к сердечнику и обеспечения высокого коэффициента возврата к якорю реле указанных типов приклепана латунная прокладка. Регулировку уставки реле осуществляют натяжением пружины 5.
Дифференциальные реле. Дифференциальное реле предназначено для защиты электрооборудования при малых то ках к.з., малой скорости нарастания больших токов к.з. или при таких перебросах в цепи двигателей, когда образуется контур тока, в который не включены другие защитные аппараты. Работа дифференциальных реле основана на принципе сравнения токов в начале и конце защищаемой цепи. Дифференциальные реле, установленные на э.п.с, обычно вызывают отключение быстродействующих выключателей (при замыкании или электрических пробоях на землю в цепи тяговых двигателей) или контакторов (при аварийном режиме в цепи вспомогательных машин).
|
|
|
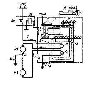
Якорь / дифференциального реле (рис. 203) к магнитопроводу 6 притягивается под действием усиленного магнитного потока подмагничивающей катушки 7, вызванного временным увеличением тока в ее витках. После притяжения якоря ток в подмагничивающей катушке уменьшается, однако якорь удерживается притянутым под действием меньшего магнитного потока. Ступенчатое изменение магнитного потока подмагничивающей катушки увеличивает чувствительность реле и уменьшает расход электроэнергии.
Одновременно с притяжением якоря к магнитопроводу замыкаются контакты 8 и 9, включенные последовательно в цепь удерживающей катушки быстродействующего выключателя БВ.
Силовые катушки 4 и 5 включены в цепи тяговых двигателей соответственно со стороны источника энергии и со стороны земли. Магнитные потоки этих катушек направлены встречно, причем магнитный поток катушки 5 имеет то же направление, что и магнитный поток

Принципиальная схема включения дифференциального реле
подмагничиваюшей катушки 7. При исправной силовой цепи результирующий магнитный поток равен нулю. Якорь / удерживается потоком катушки 3.
В случае замыкания на землю, например в точке А, через силовую катушку 4 проходит ток /, а через катушку 5 — ток / — /„, где /к — ток, ответвляющийся в землю в точке А. Неравенство токов катушек 4 и 5 вызывает появление магнитного потока, направленного встречно потоку подмагничиваюшей катушки 7. При увеличении тока / уменьшается результирующий поток, проходящий через якорь реле, и сила притяжения якоря к магнитопроводу. При некотором значении тока /к сила притяжения становится недостаточной для удержания якоря и пружина 2 отрывает якорь от магнито-провода; контакты 8 и 9 размыкают цепь удерживающей катушки БВ, и он выключается, что предотвращает возможное повреждение какого-либо аппарата или тягового двигателя. Магнитный поток, создаваемый током небаланса при большом токе к.з., проходит через магнитный шунт 3 и якорь /. Как только якорь / отпадет от сердечника, большая
|
|
|
|
Дифференциальное реле РДЗ-504 электровозов ВЛ11, ВЛ10У и ВЛ10 (а) и магнитная система дифференциального реле Р-104Б электропоездов ЭР2 (б): / — панель, 2 и 12 — блок-контакты, 3 — кожух, 4 и //— якоря, 5 — катушка цепи управления, 6 —регулировочная пружина, 7—резисторы, 8 —шихтованный магнитопровод; 9 —кабели силовые, 10 и 15 — подмагиичивающие катушки, 13 — упор, 14 — пружина, Ml и М2 — тяговые двигатели
часть магнитного потока будет проходить по магнитному шунту, так как воздушные зазоры между шунтом и магнитопрово-дом значительно меньше, чем воздушный зазор между якорем и магнитопроводом. Если бы не было шунта 3, то весь магнитный поток проходил бы через якорь / и перемагничивал магнитную систему реле
Конструкция дифференциального реле показана на рис. 204, а.
Иногда дифференциальные реле изготовляют с двумя низковольтными катушками подмагничивания При этом якорь в притянутом положении удерживается магнитным потоком только одной катушки.
Такими являются дифференциальные реле типов Д-2, ПР-114А, 1СВ, 7СВ и др. Когда по подмагничивающим катушкам протекает ток цепи управления и в силовой цепи нет короткого замыкания, то образуется магнитный поток Ф{ (рис. 204, б), который проходит по стержням / и /// и через воздушные зазоры а, — а4, создавая в последних одинаковые м.д с. На якорь 11 в этом случае действует только пружина 14; он прижат к упору 13.
При к.з. или перебросе в цепи тягового двигателя ток в одном из силовых проводов будет больше, чем в другом. Разность этих токов создаст в стержнях / и /// результирующий поток небаланса Ф2, который уменьшит индукцию в зазорах а2 и а3 и увеличит ее в зазорах а] и а4. М.д.с, создаваемые потоком небаланса, складываются с м.д.с. от потока катушек на одних участках и вычитаются на других. Поэтому якорь, преодолевая сопротивление пружины 14, поворачивается против часовой стрелки вокруг оси О,, размыкает контакты 12 в цепи катушки быстродействующего выключателя, и он отключается. На электропоездах переменного тока ЭР9М, ЭР9Т, ЭР9Е применяют бесконтактные дифференциальные реле РДБ-101А-1.
Блоки БРД-204 и БРД-356 устанавливают на электровозах ВЛ60", ВЛ80", ВЛ80Т, ВЛ80С для контроля скорости нарастания тока при аварийных режимах в силовых цепях. Если скорость превышает наибольшую, которая может быть в рабочем режиме, то блок срабатывает и своими контактами вызывает отключение главного выключателя.
Блок состоит из двух дифференциальных реле / и //, собранных на панелях 1 и 14 (рис. 205), скрепленных шпильками 13, и силовой шины 12 с индуктивным шунтом 15. Реле закрыто прозрачным кожухом 5. На панели / размещены добавочные резисторы 7. Ветви шины 12 пропущены через окна двух магнитопроводов 11 и 16 навстречу друг другу. Концы А и Б шины 12 подключены к силовой цепи электровоза между равнопотенциальными точками двух выпрямителей. Активные сопротивления обеих ветвей различаются незначительно, так как ветви имеют равные

Блок дифференциальных реле БРД-356 (а) и его схема (б)
длину и площадь сечения. Ветвь с индуктивным шунтом обладает большим индуктивным сопротивлением. Ток / распределяется по ветвям шины пропорционально их активным и индуктивным сопротивлениям. Поэтому при протекании общего тока /, меняющегося во времени, возникает небаланс токов: А/ = /2 — /,. Значение Д/ зависит от скорости изменения тока и соотношения индуктивно-стей в ветвях шины.
М.д.с от тока небаланса Д/ в одном реле направлена в одну сторону, в другом — в противоположную. М.д.с. от катушки 10 действует на участке якоря 9 при показанном на рис. 205, б силовом токе в реле // встречно м.д.с. от тока
небаланса, а в реле / согласно с ней. Поэтому при к.з. в блоке со стороны вывода Б резко возрастет ток в направлении от А к Б; в результате перераспределения тока в ветвях шины увеличится ток небаланса. Это вызовет срабатывание под действием отключающей пружины 8 реле //, которое своими контактами замкнет цепь отключающей катушки 17 главного выключателя. В этом случае реле / не сработает, так как на участке его действия м.д.с. от тока небаланса действует согласно с м.д.с. от удерживающей катушки 3.
При к.з. со стороны вывода А ток будет направлен от Б к А, что вызывает срабатывание реле / под действием пружины 6 и блокировки 2.
Якоря 4 и 9 реле притягиваются к сердечникам магнитопроводов 11 к 16 при подаче напряжения 50 В на последовательно соединенные катушки 3 и 10 нажатием кнопки «Выключение ГВ». После включения реле последовательно с удерживающими катушками вводятся резисторы, ограничивающие ток. При этом для удержания якорей 4 и 9 в притянутом положении достаточно меньшей м.д.с. Для регулирования тока в цепи катушек сопротивление резистора гд можно изменять.