В фотоэлектрических методах измерения используются различные электрические эффекты, возникающие при освещении некоторых материалов световыми лучами. Энергия светового потока преобразуется в электрическую энергию.

|
В качестве нагрузки может служить измерительный прибор, реле.

U0=V0+URH

Ri = высокое внутреннее сопротивление Фотодиод
Зависимость силы фототока i от напряжения при различных значениях светового потока Ф.

Световой поток может меняться в том числе и при смещении маятника ЧЭ акселерометра


Данная схема используются во многих акселерометрах, она восприимчива к субмикронным смещениям, кроме того не механического воздействия на подвижные элементы
2.2 Магнитоэлектрические преобразователи.
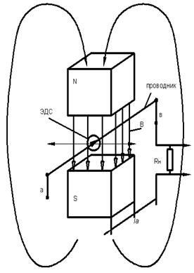
Основаны на прямом использовании закона электромагнитной индукции. Если подвижной системе сообщить перемещение, то в катушке будет индуктироваться электрический сигнал.
В отсутствии внешних источников питания на выходе получаем электрический сигнал.

Магнитная сила сформирована полем постоянных магнитов, в зазоре которых помещен проводник. Поле характеризуется индукцией В. Линии индукции замыкаются образуя поле диполя. Если проводник в зазоре движется в направлении х, в нем наводится ЕДС:

la – активная часть проводника, находящаяся в магнитном поле.
B– индукция магнитного поля,
N- число витков, если замкнуты концы.
По правилу правой руки ток, ЭДС, В.
Если проводник закреплен на маятниковом ЧЭ, то F – сила демпфирования.


Устройство по сути – электромагнитный демпфер с реулируемым демпфированием.
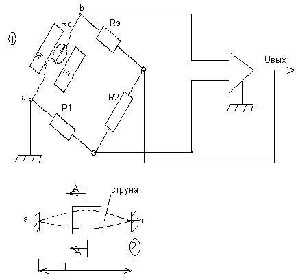
Генераторный датчик скорости. В нем обеспечивается непосредственное преобразование механической величины в электрический сигнал. Одновременно является и прямым и обратным преобразователем.

На выходе имеем Ui=i RH.
Обратное преобразование, когда заданный ток создаст силу:

Такие преобразователи создают основу класса автоколебаний.
Струнный автогенератор, в котором используется обратимый преобразователь, имеет следующую схему:


Растянутая струна с точками вывода a и b
Вызываются автоколебания на собственной частоте: 
В начальный момент мостовая схематически сбалансирована, Rэ=Rc, R1=R2, т. е. связь между входом и выходом нулевая. При возникновении колебаний, внутри плеча появляется ЭДС, мост становиться разбалансирован.
; 

График равновесия системы:







