Бетонные и железобетонные трубы укладывают на естественное или искусственное основание. Стыки напорных труб (раструбные или муфтовые) заделывают резиновыми уплотнительными кольцами, а безнапорных (раструбные или фальцевые) - смоляной или битумизированной прядью, асбестоцементным или цементным замком, а также асфальтовой мастикой. Перед укладкой труб в траншею их так же, как и муфты, в ходе приемки подвергают наружному осмотру для выявления дефектов и проверки размеров.
Монтаж напорных трубопроводов. Напорные трубопроводы монтируют из раструбных и гладких железобетонных напорных труб на муфтовых соединениях, что вносит разнообразие в технологию работ по их прокладке.
Монтаж трубопроводов из раструбных труб ведут в такой последовательности: доставка труб и раскладка их вдоль траншеи, подача их на место укладки, подготовка конца трубы и установка на него резинового кольца; введение его вместе с кольцом в раструб ранее уложенной трубы; придание уложенной трубе проектного положения; окончательная заделка стыка; предварительное испытание готового незасыпанного участка трубопровода (а при трубах больших диаметров только стыковых соединений); засыпка этого участка; окончательное его испытание.
Монтаж труб ведут стреловыми кранами, причем трубы с бермы траншеи подают раструбами вперед по ходу монтажа и обязательно против течения жидкости. Перед укладкой первой трубы в начале трассы устанавливают бетонный упор, обеспечивающий устойчивое положение первым двум-трем трубам при их соединении в раструб.
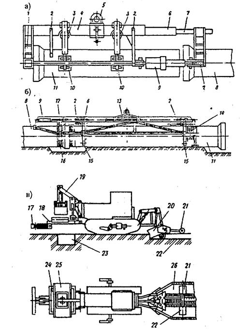
Рекомендуемая схема расстановки механизмов, рабочих-монтажников и раскладки труб при монтаже трубопроводов показана на рис. 6.11, а. При укладке трубы вначале по шаблону отмечают на ее гладком конце глубину заводки его в раструб уложенной трубы. Установив кран по середине укладываемой трубы и застропив ее полуавтоматическим захватом (рис. 6.11, в, г, д, е) или с помощью стропов либо траверсы, трубу подают в траншею (рис. 6.11, е). На высоте 0,5 м от ее дна опускание трубы приостанавливают и на гладкий конец ее надевают резиновое кольцо, после чего заводят ее в раструб ранее уложенной трубы и опускают на подготовленное основание. При этом особое внимание уделяют центрированию втулочного конца вводимой трубы с резиновым кольцом относительно заходной фаски раструба ранее уложенной трубы.
Для выверки положения укладываемой трубы на ее лоток опирают ходовую визирку и затем следят, чтобы верх этой визирки находился на общей линии визирования с двумя неподвижными визирками на обносках (рис. 6.11, е). После выверки трубы по вертикали с нее снимают захват, освобождают кран для монтажа следующей трубы и приступают к выверке положения трубы в плане. С этой целью устанавливают по отвесу инвентарные вешки (рис. 6.11, з): одну из них на конец укладываемой трубы, а другую - на ранее уложенную. По установленной в колодце или на смонтированном участке трубопровода неподвижной вешке проверяют правильность укладки трубы в плане (рис. 6.11, е). При необходимости ее смещают в нужную сторону.
В заключение с помощью натяжного приспособления (рис. 6.11, и) вводят гладкий конец трубы в раструб ранее уложенной, следя при этом за равномерностью закатывания резинового кольца в раструбную щель. При этом нельзя допускать, чтобы торец втулочного конца был задвинут в раструб до полного упора; между ними должен быть оставлен зазор (для чего и делается разметка), причем для труб диаметром до 1000 мм - величиной 15 мм, а для труб больших диаметров - 20 мм. Соединив трубы, снимают натяжное приспособление и подбивают трубу с боков грунтом на высоту 1/4 ее диаметра с послойным его уплотнением ручными трамбовками.

Рис. 6.11 - Основные рабочие операции при монтаже трубопровода из железобетонных раструбных труб
а-общая схема организации работ (Т-1, Т-2, Т-З.Т-4, Т-5 - рабочие места трубоукладчиков), б - разметка гладкого (втулочного) конца трубы шаблоном, в, г - строповка трубы и опускание ее в траншею с помощью клещевого захвата, д - введение гладкого конца трубы в раструб, е - выверка положения трубы в плане по вешкам, ж - центрирование трубы, з - инвентарная вешка с отвесом; и - натяжное устройство, 1 – трубы, 2 – кран, 3 – траншея, 4 - клещевой захват, 5 - уложенная раструбная труба, 6 - укладываемая труба, 7 - приямки; 8 - лестница, 9 - неподвижные визирки, 10 - переносная (ходовая) визирка, 11 - инвентарные вешки, 12 - натяжной винт, 13 - балка, 14 - тяга, 15 - распорка
При монтаже трубопроводов из раструбных железобетонных труб наиболее трудоемкой операцией является введение втулочного конца трубы с резиновым кольцом в раструб ранее уложенной. Для облегчения ее применяют различные приспособления, устройства и механизмы. В частности, используют двух-трехтросовые наружные натяжные приспособления (рис. 6.12, а, б), реечные и гидравлические домкраты (рис. 6.12, в), внутренние натяжные приспособления, рычажные и шестеренчатые лебедки (рис. 6.12, г, д), бульдозеры и экскаваторы (рис. 6.12, е, ж).
Для монтажа труб диаметром 500, 700, 900 мм применяют также универсальное гидравлическое приспособление (рис. 6.12, и), которое закрепляют на трубе, а затем вместе с нею опускают в траншею. Проверив точность центрирования трубы и правильность расположения резинового кольца, трубу стыкуют с трубопроводом.
При выборе способа монтажа труб учитывают наличие необходимого оборудования и механизмов, а также условия строительства трубопровода. Монтаж труб с помощью бульдозера (рис. 6.12, е; 6.13) может производиться в том случае, если бульдозер используется при планировке (зачистке) дна траншеи, т.е. когда совмещаются эти две операции. Способ монтажа трубопровода с помощью внутреннего натяжного устройства рекомендуется применять для труб диаметром 800 мм и более.
Монтаж трубопровода с помощью ковша экскаватора (см. рис. 6.12, ж) ведут при прокладке труб в водонасыщенных грунтах или в стесненных городских условиях строительства, когда траншею отрывают по мере прокладки труб, и экскаватор, расположенный рядом, используют для их монтажа поворотом ковша.
Применяемые средства механизации монтажа железобетонных и бетонных трубопроводов зависят в основном от типа стыкового соединения и диаметра труб. Тип стыкового соединения определяет технические требования к монтажному оборудованию, а диаметр труб и размеры траншеи - возможные схемы размещения монтажного оборудования и вытекающие отсюда технологические схемы производства монтажных работ.
Основными техническими требованиями к оборудованию для монтажа труб на резиновых уплотнительных кольцах являются: обеспечение соосности труб и создание необходимого осевого усилия для их стыковки.
При монтаже труб с раструбно-винтовым соединением нужно обеспечить завинчивание укладываемой трубы в ранее уложенную. Для монтажа труб с зачеканкой стыковых соединений следует обеспечить механизированное уплотнение волокнистых материалов в раструбной щели.

Рис. 6.12 - Способы монтажа раструбных напорных желлезобетонных труб и применяемые для зтого приспособления
1 - уложенная и укладываемая трубы, 2 – полухомут, 3 – резиновое кольцо, 4 – трос, 5,6 - упорная и рабочая балки, 7 - натяжной винт, 8 - фрнкционно-храповое устройство, 9 - шарнирный хомут, 10 - регулировочные крестовины, 13 – трещотка, 14 - бетонный упор, 15 – гидроцилиндры, 18 - кран-трубоукладчик, 19 - раструб, 20 - рычажная лебедка, 21 – блоки, 22 - трос к лебедке, 23 - упорный брус, 24 - бульдозер или трактор, 25 - ковш экскаватора, 26 - съемный и ремонтный хомуты, 27 - опорная обойма, 28 - толкатель, 30 - ремонтно-резиновое кольцо, 31 – болты, 32 – траверса, 33 – рычаги, 34 пластина, 35 - зажимные колодки, 36 – захват для труб, 37 - крюк

Рис. 6.13 - Монтаж железобетонных труб диаметром 1000 - 1200 мм с помощью бульдозера: 1,2 - уложенная и укладываемая трубы, 3 - бульдозер, 4 - монтажный кран, 5 - раскладка труб
Монтаж бетонных и железобетонных труб в настоящее время ведут в основном по двум технологическим схемам. При первой применяют навесное оборудование к крану-трубоукладчику для выполнения всех операций: захвата трубы на берме и ее спуска на дно траншеи, центровки укладываемой трубы к уложенному участку трубопровода и стыковки труб. Вторая схема предусматривает выполнение центровочных и стыковочных операций базовой машиной с соответствующим оборудованием, перемещающейся по дну траншеи. Каждая из этих схем имеет свои области применения, обусловленные длиной и диаметром труб и шириной траншеи. При сходных параметрах преимуществом первой схемы является совмещение выполнения такелажных и стыковочных операций одной машиной (при условии предварительной отрывки приямков и устройства выкружки). Преимуществом второй схемы является возможность совмещения в одной машине оборудования для отрывки приямков и устройства выкружки с оборудованием для стыковки труб.
Недостатком даннх методов монтажа железобетонных труб (особенно больших диаметров 1000, 1200 мм) является сложность обеспечения точной соосности при монтаже укладываемой и ранее уложенной трубы. Обычно укладываемую трубу поддерживают на весу грузоподъемным механизмом, а другим механизмом (трактором, экскаватором) создают продольное усилие, обеспечивающее ввод гладкого конца в раструб уложенной трубы. При этом сложно обеспечить в стыке одинаковый кольцевой зазор между поверхностью гладкого конца трубы и внутренней поверхностью раструба и как следствие может происходить перекручивание резинового кольца.
Навесное оборудование для механизированного монтажа железобетонных труб на резиновых уплотнительных кольцах (рис 6.14, а), исключающее указанные недостатки, конструктивно выполнено в виде грузонесущей балки с подвеской к крюку крана-трубоукладчика. На балке размещены два захвата укладываемой трубы, захват ранее уложенной и привод горизонтальной подачи укладываемой трубы.
Для монтажа железобетонных безнапорных труб с раструбно-винтовым соединением применяется навесное оборудование (рис 6.14, б), которое состоит из рамы, роликовых захватов укладываемой трубы, захвата ранее уложенной трубы. К раме жестко прикреплены упоры, сопрягаемые с раструбом и втулочной частью уложенной трубы.

Рис. 6.14 – Схемы навесного устройства - для монтажа железобетонных труб на резиновых уплотнительных кольцах (а), для монтажа труб с раструбно-винтовым соединением (б) и траншейной машины для монтажа раструбных труб (в)
1 – упор-фиксатор, 2 – фиксаторы трубы, 3, 9 – гидроцилиндры, 4 – траверса, 5 – скоба, 6 – втулка направляющая, 7 – шток, 8 – труба ранее уложенная, 10 – захваты, 11 – труба укладываемая, 12 – фиксатор клиновой, 13 – рама, 14 – привод вращения и осевой подачи трубы, 15 – роликовые захваты, 16 – захват ранее уложенной трубы, 17 - труботолкающая поперечная балка на горизонтальной раме, 18 – грейферный ковш приямкокопателя, 19 – наклонная стрела приямкокопателя, 20 – плужный ложекопатель, 21 – дорожный уплотнитель, 22 – ложе, 23 – приямок, 24 – окно для пропуска ковша в забой, 25 – пассивный боковой рассеиватель, 26 - отвал
Для механизированной зачеканки раструбных труб волокнистыми материалами используют специальное устройство, которое содержит съемный узел зачеканки.
Для механизированной заделки стыков раструбных труб большого диаметра используют устройства у которого чеканочная втулка снабжена вибровозбудителями, что обеспечивает повышенное качество запрессовки волокнистого материала в раструбную щель соединяемых труб.
Конструктивная схема специальной траншейной машины для монтажа раструбных труб приведена на рис 6.14, в.
Для обеспечения водонепроницаемости стыковых соединений нельзя допускать эллипсности труб, раструбов и муфт или плохого качества их поверхности, а также применять некачественные кольца. Основные требования, предъявляемые к качеству монтажа железобетонных трубопроводов: в процессе стыковки необходимо проверять равномерность размещения резинового кольца и его закатывания. Если наблюдается в некоторой части окружности отставание, необходимо «припудрить» в этом месте кольцо цементом, исключить дальнейшее неравномерное закатывание кольца; по мере укладки труб необходимо проверять прямолинейность трубопровода; в процессе монтажа нужно следить, чтобы внутренняя поверхность трубопровода не загрязнялась, внутри не оставались посторонние предметы. При перерывах в работе концы уложенного трубопровода следует закрывать заглушками.
Кольца в щели раструбных и муфтовых соединений должны быть обжаты на 40 - 50% толщины их сечений. Нельзя допускать их перекручивания. При нарушении герметичности (водонепроницаемости) стыков их ремонтируют, для чего устанавливают дополнительные резиновые кольца или их отрезки на дефектное место с помощью специального съемного хомута (рис. 6.12, з).
Монтаж трубопроводов с муфтовыми стыковыми соединениями. После центровки и проверки правильности укладки труб по шнуру, отвесу и визирке на концах соединяемых труб делают разметку рисками, определяющими начальное положение резиновых колец, расстояния а и б. При монтаже труб муфту устанавливают в исходное положение так, чтобы ее торец с рабочей стороны совпадал с нанесенной на трубе риской. Резиновое кольцо размещают около рабочего кольца муфты, которое затем с помощью конопатки вводят в коническую щель муфты заподлицо с ее торцом. Одновременно на вторую трубу надевают другое резиновое кольцо, размещая его на расстоянии б от ее торца.
Далее с помощью монтажных приспособлений муфту продвигают в сторону стыкуемой трубы с одновременным закатыванием первого резинового кольца. По достижении муфтой на второй трубе риски б от ее торца в щель муфты вводят второе резиновое кольцо, благодаря чему обеспечивается необходимое конечное положение резиновых колец в стыке и его водонепроницаемость. Последовательность монтажа стыков труб с применением безбуртовых и однобуртовых муфт показана на рис. 6.15.
Расстояния а, б и их фиксирующие конечное положение муфты и резиновых колец расстояния в, г, д приведены в приложении 3.

Рис. 6.15 – Монтаж стыков труб с применением безбуртовых (а) и однобуртовых (б) муфт: I – первая стадия монтажа и начальное положение первого резинового кольца; II – вторая стадия и начальное положение второго резинового кольца; III – конечное положение муфты и резиновых колец в смонтированном стыке
Монтаж безнапорных трубопроводов осуществляют из бетонных и железобетонных труб на раструбных, муфтовых или фальцевых стыковых соединениях. Стыки раструбных труб уплотняют пеньковой прядью или другими герметиками с заделкой асбестоцементом или резиновыми кольцами, а фальцевых труб - асфальтовой мастикой, битумно-резиновыми прокладками и другими герметиками с заделкой цементно-песчаным раствором.
Безнапорные раструбные и муфтовые трубы соединяют с зазором между гладким концом трубы и поверхностью раструба, равным 10 и 15 мм, для труб диаметром соответственно 700 и более 700 мм. Монтаж безнапорных трубопроводов из раструбных и муфтовых труб с уплотнением резиновыми кольцами ведут теми же методами, что и напорных. Заделку стыков пеньковой прядью производят путем конопатки раструба на половину его глубины двумя-тремя витками просмоленной или битуминизированной пеньковой пряди с зачеканкой асбестоцементной смесью.
Стыки трубопровода из фальцевых безнапорных труб диаметром более 1000 мм заделывают по всему периметру пеньковой прядью и затирают цементным раствором состава 1:1 с устройством снаружи пояса из этого раствора.
Монтаж труб краном с помощью монтажной скобы ведут в такой последовательности: размечают положение трубы на основании; стропуют трубу и опускают ее в траншею; укладывают трубу на основание и выверяют ее положение; конопатят смоляной прядью и заделывают цементным раствором; обертывают стык арматурной сеткой и омоноличивают его. Стыки труб диаметром 2000 - 4000 мм, укладываемых на бетонное и железобетонное основание, заделывают торкретом по арматурной сетке.