Набивные сваи изготавливают непосредственно в грунте путем бурения скважин и заполнения бетонной смесью или другими материалами. В зависимости от материала и способов изготовления различают следующие виды набивных свай: по материалу - бетонные, железобетонные, песко- и грунтобетонные, песчаные, грунтовые и комбинированные; по грунтовым условиям строительства – без крепления стенок скважины (маловлажные прочные грунты) и под защитой обсадных труб, глинистого раствора или воды (водонасыщеные грунты); по технологии изготовления - набивные бетонные, пневмонабивные, частотрамбованные, вибронабивные, буронабивные, набивные с уширением (пятой), с уплотненным забоем, выштампованные, вытрамбованные, набивные песчаные или грунтовые (применение грунтонабивных свай см. раздел 4).
Технологические способы устройства буронабивных свай в устойчивых маловлажных грунтах (без крепления стенок скважины) отличаются тем, что проходка скважин в таких грунтах возможна без применения обсадных труб, когда обеспечены условия для устойчивости стенок и исключаются обрушение или осыпание грунта со стенок. К таким грунтам могут быть отнесены, преимущественно, глинистые от пластичной до твердой консистенции и маловлажные песчаные средней плотности или плотные.
При проходке скважин в глинистых грунтах пластичной, полутвердой и твердой консистенции следует применять вращательный (роторный) способ бурения. Для разработки крупнообломочных, песчаных и глинистых грунтов в текучепластичном и пластичном состоянии следует применять ударный (грейферный) способ бурения.
После проходки скважин шнеком на требуемую глубину забой нужно обязательно очищать от шлама и уплотнять за счет втрамбовывания порции щебня или бетонной смеси слоем от 120 до 200 мм. При этом устье скважин должно крепиться не менее чем на один метр за счет установки трубчатого элемента соответствующего диаметра с раструбом, чтобы исключать осыпание и обрушение грунта при погружении арматурного каркаса и последующей подаче бетонной смеси.
При устройстве набивных трамбованных свай полость в грунте образуют методом ударно-вращательного бурения и креплением скважины обсадной трубой, заглубляемой в опорный пласт на 0,2...0,5 м (рис. 8.8, а). Затем скважину заполняют жесткой бетонной смесью (осадка конуса 3...4 см) на высоту 0,8...1 м, после чего ее уплотняют тяжелой трамбовкой с одновременным подъемом обсадной трубы, следя, чтобы ее конец был заглублен в смесь не менее чем на 0,3...0,4 м. Далее укладывают и уплотняют очередной слой, повторяя операцию до полного заполнения скважины.
Литые сваи устраивают в тех случаях, когда грунтовые воды расслаивают трамбуемую бетонную смесь. В этих условиях скважины заполняют литым бетоном (осадка конуса 12... 16 см). Бетонная смесь, вытесняя воду, заполняет освобожденную при подъеме обсадной трубы скважину.
Пневмонабивные сваи применяют при большом притоке грунтовых вод. Их устраивают с помощью специальной обсадной трубы, оборудованной шлюзовым аппаратом, верхним и нижним клапанами. Подавая в освобожденную от грунта обсадную трубу сжатый воздух давлением до 0,4 МПа, из нее удаляют воду, а затем через шлюзовой аппарат скважину заполняют бетонной смесью. Далее операции повторяют при одновременном извлечении обсадной трубы и снижении давления.
Частотрамбованные сваи устраивают с помощью копра с блоком на укосине (для подъема арматурных каркасов и бадей с бетоном), а также молота двойного действия и инвентарной обсадной трубы (рис. 8.8, б), которую перед забивкой оснащают чугунным наконечником (башмаком), оставляемым в скважине (рис. 8.8, в). Ударами молота трубу погружают до заданной отметки (рис. 8.8, г), после чего молот поднимают и закрепляют в крайнем верхнем положении, а в трубу опускают арматурный каркас (если сваи армируются, рис. 8.8, д). Далее трубу заполняют бетонной смесью (рис. 8.8, е, ж), причем вначале только до половины высоты, а затем трамбуют смесь молотом двойного действия, который крепят к обсадной трубе через подбабок (рис. 8.8, з). Молот обеспечивает одновременное уплотнение бетона и извлечение трубы.

Рис. 8.8 – Технология изготовления набивных свай
1 – бурение скважины и погружение обсадной трубы, 2 – заполнение скважины бетоном, 3 – трамбование смеси и извлечение обсадной трубы, 4 – готовая трамбованная свая, 5 – воронка обсадной трубы, 6 – соединительная муфта, 7 – трамбующий ободок, 8 – обсадная труба, 9 – уплотнение, 10 – теряемый металлический башмак, 11 – молот двойного действия, 12 – основной трос с блоками, 13 – двухбарабанная лебедка, 14 – ходовой путь копра, 15 – арматурный каркас, 16 – трос с блоком для подъема материалов, 17 - воронка, 18 – бадья для бетонной смеси, 19 – обсадная труба, заполненнея смесью, 20 - подбабок наголовника обсадной трубы, 21 – готовая часть сваи, 22 – серьги, 23 - амортизационные пружины, 24 - упоры
Буронабивные сваи устраивают путем заполнения бетоном (осадка конуса 18 см) методом вертикально перемещаемой трубы (ВПТ) скважин, пробуренных без обсадной трубы. Буронабивные сваи изготавливают диаметром 600... 1200 мм, глубиной до 30 м и применяют их при больших сосредоточенных нагрузках. Для увеличения несущей способности сваи в нижней части пробуренной скважины устраивают уширение с помощью специального уширителя или взрыва. Общим для устройства набивных свай всех типов является основное технологическое требование о необходимости их бетонирования без перерыва.
При устройстве буронабивных свай применяют установки вращательного, ударно-канатного и грейферного бурения, а также шнековые бурильные установки. На мачте копрового типа установки размещен электропривод вместе со шнековой буровой колонной. В процессе бурения скважины привод и колонна передвигаются вдоль направляющих мачты.
На практике применяют различные технологии устройства буронабивных свай, в том числе так называемый «сухой» способ, при котором бетонную смесь подают в нижнюю часть сваи по бетонолитной трубе (методом ВПТ) и ее конец в процессе подачи смеси обязательно все время должен быть погружен в нее. Иначе не получится однородной прочной бетонной сваи. Применяют также технологию устройства буронабивных свай способом свободного сброса бетонной смеси как без уплотнения, так и с уплотнением. Иногда сваи устраивают под глинистыми растворами с применением обсадных труб. Полые буронабивных свай устраивают по специальной технологии с использованием внутри них вибросердечников.
Изготовление свай в буровых скважинах с уплотненным забоем и вытрамбованной уширенной пятой производится в технологической последовательности, указанной соответственно на рис. 8.9, 8.10.
Бурение скважин для свай производится с использованием лопастных или шнековых буров. В качестве трамбовки могут использоваться любые конструкции трамбовок как из металла и железобетона, так и комбинированные (металлические с железобетонным заполнителем). Диаметр трамбовки должен быть на 80-120 мм меньше диаметра обсадной трубы.
Для установки трамбовки и обсадной трубы в скважину, уплотнения забоя или вытрамбовки пяты используются краны, экскаваторы, оборудованные фрикционными лебедками и тракторы со специальным навесным оборудованием. Уплотнение грунта в основании скважины и вытрамбовка пяты осуществляются ударами трамбовки, свободно сбрасываемой с определенной высоты.
Вытрамбовка пяты производится песчано-гравийной (щебеночной) или жесткой бетонной смесью, которая порциями загружается в обсадную трубу. Засыпка песчано-гравийной (щебеночной) смеси в скважину производится с использованием дозаторов (автопогрузчики или экскаваторы с ковшами вместимостью 0,25 м3, а также бадьи). Трамбование каждой порции следует производить до тех пор, пока высота пробки в трубе не уменьшится до 50 мм (рис. 8.10). Цикл работ повторяемся до получения проектного размера уширения пяты, определяемого количеством втрамбованного в основание материала.

Рис. 8.9 – Технологическая схема изготовления свай в буровых скважинах уплотненным забоем
а - бурение скважины, б - установка в скважину обсадной грубы и уплотнение забоя скважины, в - армирование и бетонирование скважины, г - извлечение обсадной трубы; 1 - бур; 2 - контрольной планка; 3 - штанга трамбовки; 4 - обсадная труба; 5 - трамбовка; 6 - бадья; 7 - тело сваи
Изготовление свай в выштампованном и вытрамбованном ложе производится в технологической последовательности, указанной соответственно для свай:
- в выштампованных скважинах всех типов – на рис. 8.11;
- в вытрамбованных скважинах всех типов – на рис. 8.12.
Выштамповка скважин производится забивкой сваебойными молотами в основание инвентарного штампа проектных размеров, извлекаемого из грунта после образования скважины. Извлечение забитых штампов из грунта осуществляется с помощью лебедки сваебойного агрегата или крана. Если усилие лебедки или крана недостаточно для извлечения штампа, то его следует доставать с использованием приспособления из гидроцилиндров или домкратов (см. рис. 8.11).

Рис. 8.10 – Технологическая схема изготовления свай в буровых скважинах с вытрамбованной уширенной пятой
а - бурение скважины, б - установка обсадной трубы и засыпка в скважину дозированной порции песчано-гравийной или жесткой бетонной смеси, в - втрамбование в основание смеси, г - армирование и бетонирование ствола сваи, д - извлечение обсадной трубы; 1 - бур; 2 - обсадная труба; 3 - трамбовка; 4 - песчано-гравийная или жесткая бетонная смесь; 5 - контрольная планка; 6 - тело сваи; 7 – бадья

Рис. 8.11 – Технология изготовления свай в выштампованных скважинах
а - установка и забивка штампа сваи; б - извлечение штампа гидроцилиндрами до момента освобождения его от сцепления с грунтом; в - извлечение штампа из скважины краном и лебедкой сваебойной установки; г - армирование и бетонирование скважины; 1 - молот; 2 - штамп; 3 - извлекающее устройство из двух гидродомкратов (цилиндров) 4 - скважина; 5 - загрузочная воронка и щит; 6 - бадья

Рис. 8.12 – Технология изготовления свай в вытрамбованных скважинах
а - установка штампа-трамбовки над местом устройства скважины; б - вытрамбование скважины циклическим подъемом и сбрасыванием штампа-трамбовки в одно и то же место; в - армирование и бетонирование скважины; 1 - штамп-трамбовка с грузом; 2 - скважина; 3 - тело сваи; 4 - загрузочная воронка и щит; 5 - бадья
Вытрамбовка скважин производится многократным сбрасыванием с определенной высоты с помощью навесного оборудования к трактору, экскаватору, крану или другому механизму, оборудованному фрикционными лебедками в одно и то же место инвентарного штампа, используемого в качестве трамбовки, до образования скважины проектных размеров.
Уширение скважины в основании (пяте) свай осуществляют специальными уширителями вращательного действия снабженными раздвижными ножами и приемника грунта, что обеспечивает разрушение и удаление грунта из скважины (рис. 8.13) либо трамбованием.
Уширение ствола трамбованием производится в верхней части или в уровне пяты. Технологическая схема изготовления одного из вариантов комбинированной сваи с уширением в уровне пяты приведена на рис. 8.14.
Изготовление комбинированных свай с уширением в верхней части осуществляется с добавлением следующих операций:
- в скважину, на 3/4 заполненную бетонной смесью, установить уширитель (например, штамп для изготовления скважин свай в выштампованном ложе 1 типа) и произвести его погружение любым из известных способов (забивка, вибропогружение) до образования уширения требуемого размера. Возможно устройство уширения с использованием опалубки;
- в готовую полость уширения, в случае необходимости, установить арматурные изделия и забетонировать ее враспор.

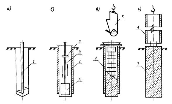
Рис. 8.13 – Технология изготовления буронабивных свай без крепления стенок скважины
1 - бурение скважины диаметром 600 - 1700 мм; 2 - устройство уширения механическим способом, 3 - установка арматурного каркаса, 4 - опускание в скважину бетонолитной трубы с приемной воронкой, 5 - заполнение скважины бетонной смесью, 6 - извлечение бетонолитной трубы с вибрацией и формование головы сваи в инвентарном кондукторе

Рис. 8.14 - Технология изготовления свай с уширением в уровне пяты
а - установка штампа (штампа-трамбовки) над местом устройства скважины, б - выштамповка или вытрамбовка скважины, в - засыпка в скважину порции песчано-гравийной или жесткой бетонной смеси, г - вытрамбовка уширенной пяты трамбовкой или штампом-трамбовкой, д - армирование и бетонирование сваи; 1 - молот, 2 - груз, 3 - штамп или штамп-трамбовка, 4 - скважина, 5 - порция песчано-гравийной или жесткой бетонной смеси, 6 - уширенная пята, 7 - загрузочная воронка и щит, 8 - бадья, 9 - тело сваи
Технологическая последовательность изготовления одного из вариантов сваи с уширением в верхней части приведена на рис. 8.15.
Изготовление свай с уширением как в верхней, так и в нижней частях скважины производится в следующей последовательности: сначала, выполняется уширение в уровне пяты, затем, уширение в верхней части сваи.

Рис. 8.15 —Технология изготовления свай с уширением в верхней части
а - установка штампа (штампа-трамбовки) и устройство скважины, б - бетонирование скважины на 3/4 ее высоты (подвижность бетонной смеси не ниже 16 см стандартному конусу), в - установка уширится и его погружение в скважину, заполненную бетонной смесью, г - извлечение уширителя и установка вкладыша стакана (в случае необходимости), д - армирование и бетонирование уширения скважины; 1 - молот, 2 - груз, 3 - штамп или штамп-трамбовка, 4 - бадья, 5 - тело сваи, 6 - уширитель, 7 - вкладыш стакана
Рекомендуемая дополнительная литература
1. Справочник по бурению скважин на воду. / Под ред. Д.Н. Башкатова. – М.: Недра, 1979. – 560 с.
2. Пособие П2-95 к СНиП 2.02.03-85. Проектирование и устройство фундаментов из свай набивных с уплотненным основанием. - Государственный комитет Республики Беларусь по архитектуре и строительству, Минск, 1996. – 102 с.
3. Пособие П13-01 к СНБ 5.01.01-99. Проектирование и устройство буронабивных свай. - Министерство архитектуры и строительства Республики Беларусь, Минск, 2002. – 43 с.