Кроме компенсации реактивной мощности, которую иногда называют «поперечной компенсацией», в электрических сетях применяют также компенсацию реактивного сопротивления ЛЭП с помощью последовательного включения конденсаторов, которую чаще называют «продольной компенсацией».
Продольно-емкостная компенсация (ПЕК) применяется в дальних электропередачах для увеличения пропускной способности ЛЭП и в распределительных сетях среднего и низкого напряжения для снижения потерь напряжения.
а). Использование ПЕК для увеличения пропускной способности ЛЭП.
Известно, что в ЛЭП 110 кВ и выше преобладающим является реактивное сопротивление. Векторная диаграмма напряжений такой ЛЭП изображена на рис.1.

Рис.1. Векторная диаграмма ЛЭП с Х >> R.
На векторной диаграмме отрезок: ab = U1SinӨ = √3 I X Cos φ.
Умножим последнее равенство слева и справа на U2 и получим
U2 U1 SinӨ = √3 X I U2 Cos φ или U2 U1 SinӨ = P X, откуда

Максимальная пропускная способность:
имеет место при минимальном Х.
|
|
|
б). Использование ПЕК для снижения потери напряжения в ЛЭП.
Напряжение у потребителя зависит от величины потерь напряжения в сети, которая, в свою очередь, зависит от сопротивления сети. Например, фазная потеря напряжения (продольная составляющая падения напряжения) в линии (рис.2):
(2)
где: I – ток линии; r, х – ее активное и реактивное сопротивления.
В низковольтных распределительных сетях часто активное сопротивление больше реактивного: r > х. Поэтому там в ΔU12 основную роль играет первое слагаемое: I*r*Cos φ2.

Рис.2. Схема электропередачи.
В питающих сетях, наоборот, х > г, поэтому ΔU12 в значительной степени определяется реактивной мощностью (РМ) и реактивным сопротивлением линий, которое мало зависит от сечения. Снижение потерь напряжения достигается:
а) изменением передаваемой по сети РМ (поперечная компенсация),
б) изменением реактивного сопротивления сети - продольно-емкостная компенсация [2 - 4].
Потеря напряжения в линии определяется выражением (2). Предположим, что она велика и напряжение в конце линии ниже допустимого: U2 = U1 – ΔU12 < U2доп (3)
Чтобы снизить реактивное сопротивление линии и повысить напряжение U2 до допустимого U2доп, необходимо включить в нее последовательно конденсаторную батарею (УПК - установку продольной компенсации, рис.3).
Тогда выражение (3) перепишется:
(4)
где Xк — сопротивление УПК.
Векторная диаграмма фазных напряжений до и после компенсации представлена на рис. 4.

Рис. 3. Электропередача с УПК.

Рис. 4. Векторные диаграммы.
Из векторной диаграммы (для одной фазы ЛЭП) следует:
U 2 = U 1 – I ∙(R + jX)– без УПК,
|
|
|
U 21= U 1 – I ∙(R + jX) - I ∙(- jXк) – после включения УПК,
где I – ток в линии.
Величину - I ∙Xкможно рассматривать как отрицательное падение напряжения или как дополнительную ЭДС, вводимую в цепь.
Методы расчета ХК.
Метод 1. При известных U1 и U2доп можно определить допустимую потерю напряжения ΔUдоп и необходимое для этого сопротивление УПК XК:
ΔUдоп = U1 - U2доп,
ΔUдоп= I ∙ (R ∙ cosφ2 + (X - Xк ) ∙ sinφ2), (5)
I·Xк ·Sinφ2 = I·X ·Sinφ2 + I ∙ R ∙ cosφ2 – ΔUдоп,
Xк ·Sinφ2 = X ·Sinφ2 –(ΔUдоп / I – R ∙ cosφ2),
откуда:
; (6)
Метод 2. Также расчет мощности QК и сопротивления УПК Хкможно сделать, зная напряжения по обе стороны УПК: на входе - U1 и на выходе - U2 , Cosφ2, Sinφ2 и активную мощность Р, проходящую через УПК (рис.5).

Рис. 5. Параметры на входе и выходе УПК.
Параметры на входе УПК: P, I, U1, Q1, Cosφ1.
Параметры на выходе УПК: P, I, U2, Q2, Cosφ2 (активная мощность и ток, проходя через УПК, остаются неизменными).
Реактивная мощность на выходе: Q2 = Q1 + QК=P * tg φ1 + QК,
откуда мощность УПК: QК = Q2 - P * tg φ1 = P * (tg φ2 - tg φ1). (7)
Неизменная активная мощность:
P =
U1 * I * Cosφ1 =
U2 * I * Cosφ2, откуда:
;
;
. Выражения для tg φ1 и tg φ2 подставим в (7):
, где (8) U1 – напряжение на входе УПК,
U2 – желаемое напряжение на выходе УПК.
Мощность конденсатора в одной фазе: QК = I2 * ХК, вар,
Сопротивление конденсатора: ХК = QК / I2, Ом,
Емкость конденсатора: С = 1 / ωХС, Фарад.
Напряжение на зажимах батареи: U = I XК, В.
Максимальное повышение напряжения на зажимах конденсаторов УПК, которое может привести к пробою их изоляции, происходит при КЗ на ЛЭП.
На практике применяют лишь частичную компенсацию реактивного сопротивления линии. Полная или избыточная компенсацияв распределительных сетях, непосредственно питающих нагрузку, обычно не применяется, так как это связано с возможностью появления в сети перенапряжений.
Применение УПК позволяет улучшить режимы напряжения в сетях. Однако следует учитывать, что эффект повышения напряжения, зависит не только от величины, но и от фазы тока, проходящего через УПК.
Например, при чисто активной нагрузке (Cosφ2=1, Sinφ2=0) формула (2) перепишется:
то есть снижение потери напряжения с помощью компенсации индуктивного сопротивления становится невозможным.
Наиболее эффективно применение УПК для снижения потерь напряжения в перегруженных радиальных линиях с большим Х (воздушные ЛЭП) и низким Cosφ.
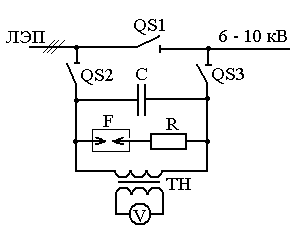
Пример схемы включения батареи ПЕК 6 – 10 кВ приведен на рис.6:
QS1 – QS3 – разъединители или выключатели нагрузки;
С – конденсаторы ПЕК;
F – разрядник для защиты изоляции конденсаторов от опасного повышения напряжения при протекании тока КЗ;
R – ограничительное сопротивление;

Рис.6. Схема УПК.
ТН – трансформатор напряжения для измерения напряжения на конденсаторах и для их разряда после отключения.
По сравнению с поперечной, устройства продольной компенсации, используемые для регулирования напряжения, имеют как преимущества, так и недостатки:
Преимущества:
- Для достижения одинакового эффекта снижения потери напряжения требуется в несколько раз меньшая мощность КБ;
- При изменении нагрузки вырабатываемая в КБ мощность меняется мгновенно, что позволяет использовать ПЕК для снижения колебаний напряжения при питании резкопеременной нагрузки.
Недостатки:
-Увеличение тока КЗ в ЛЭП, обусловленное снижением ее сопротивления;
-Опасность пробоя изоляции конденсаторов при КЗ в линии;
- Низкая эффективность ПЕК при высоком Cos φ потребителя.
4.11. Линейные регуляторы ЛР (вольтодобавочные трансформаторы, последовательные регулировочные трансформаторы).
Предназначены для регулирования напряжения на отдельных ЛЭП или на шинах ЦП. Принцип действия ЛР основан на получении дополнительной ЭДС, складываемой с вектором напряжения сети.
|
|
|

Конструктивно вольтодобавочный трансформатор (ВДТ) состоит из двух трансформаторов:
- последовательный трансформатор;
- регулировочный (питающий) трансформатор.
В зависимости от способа подключения питающего трансформатора различают:
- Продольное регулирование – включение обмоток питающего трансформатора на одноимённые фазные напряжения; коэффициент трансформации– действительная величина.
- Поперечное регулирование – включение обмоток питающего трансформатора на линейное напряжение двух других фаз; коэффициент трансформации – комплексная величина.
- Продольно – поперечное регулирование – включение обмоток питающего трансформатора на линейное напряжение своей и соседней фазы.

Рис.7. Продольный ВДТ.
У продольного ВДТ первичная обмотка питающего трансформатора включена на фазное напряжение (например, С), в рассечку той же фазы включена и вторичная обмотка последовательного трансформатора (рис.7). Угол сдвига ЭДС ΔЕ, наводимой во вторичной обмотке последовательного трансформатора может принимать значения 0 или 180 градусов, в зависимости от положения (слева или справа от средней точки) переключателя отпаек питающего трансформатора. Напряжение на выходе ВДТ может быть выше (угол = 0, ΔЕ > 0) или ниже (угол = 180°, ΔЕ < 0) входного напряжения.
У поперечного ВДТ первичная обмотка питающего трансформатора включена на линейное напряжение (например, АВ, рис.8). Вторичная обмотка последовательного трансформатора включена в рассечку третьей фазы (в данном случае это фаза С).

Рис.8. Поперечный ВДТ.
Величина ЭДС ΔЕ и ее угол сдвига (90° или 270°) зависят от положения переключателя отпаек питающего трансформатора.
ВДТ характеризуются двумя номинальными мощностями:
- Проходная номинальная мощность – мощность проходящая через вторичные обмотки последовательного трансформатора: SНП = 3·UФН·IН.
- Габаритная номинальная мощность – мощность, передаваемая через питающий трансформатор к последовательному трансформатору:
|
|
|
SНГ = 3·ΔЕМАКС·IН. Обычно ΔЕМАКС = 0,15·UФН (диапазон регулирования напряжения ±15%), поэтому SНГ =0,15·SНП.