Вернемся к выражению (1.4):
. (2.1)
Умножим левую и правую части выражения (2.1) на 
. (2.2)
Тогда,обозначив
матрицу жесткости, получим уравнение равновесия в матричном виде
, (2.3)
где
;
.
Здесь
- минор матрицы
(определитель подматрицы, которая получается из данной матрицы
вычеркиванием
-ой строки и
-го столбца).
Пример расчета матрицы податливости прямолинейного стержня:

;
где
.
В рассматриваемом случае

.
1. Рассмотрим случай, когда i = 1.


2. Рассмотрим случай, когда і = 2


3.Расмотрим случай, когда і = 3:

;
.
4.Рассмотрим случай, когда і = 4:

.
5.Рассмотрим случай, когда і = 5:


6. Рассмотрим случай, когда і = 6:


Тогда согласно формуле (1.6) получаем:
;
;
;
;
;
;
;
.
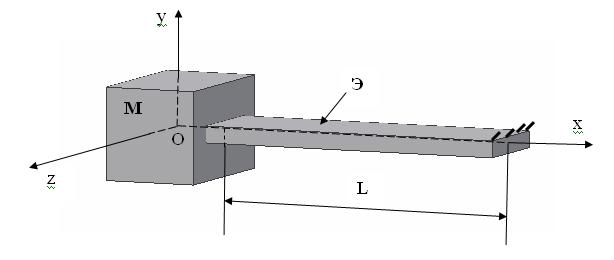
Рассмотрим матрицу податливости прямолинейного упругого элемента, имеющего переменное по длине сечение. Упругий элемент состоит из двух участков: М и Э.


Рассматриваем матрицу податливости в системе координат Oxyz.
- площадь поперечного сечения инерционной массы;
- площадь поперечного сечения упругого элемента;
|
|
|
;
;
;
;
;
;
;
.






