Рисунок 5.4 Дополнительный вид
Рисунок 5.2 Виды Рисунок 5.3 Местные виды
Виды
Вид – это изображение предмета в ортогональной проекции. Виды получаются путем прямоугольного проецирования предмета на шесть основных плоскостей проекций: две фронтальные, две горизонтальные, две профильные (рис. 5.1).
Главный вид – вид спереди (фронтальная проекция), который должен давать наиболее полное представление о форме и размерах изображаемого предмета.
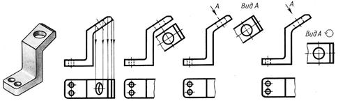
Все виды на чертеже должны по возможности располагаться в проекционной связи, но в целях более рационального использования поля чертежа ГОСТ 2.305—68 допускает располагать виды вне проекционной связи, на любом месте чертежа. В таких случаях наносится стрелка, указывающая направление взгляда на предмет. Вид должен быть отмечен надписью «Вид А» (рис. 5.2). Размер шрифта буквенных обозначений должен быть больше размера цифр размерных чисел в два раза.

Рисунок 5.1 Виды
Местный вид - это изображение ограниченного места изделия, форму и устройство которого требуется выяснить. Местный вид может быть не ограничен или ограничен линией обрыва или осью симметрии (рис. 5.3). Если местный вид выполняется в проекционной связи с другим изображением, то стрелку и надпись над местным видом не наносят. Если изображение имеет ось симметрии, то допускается показывать его половину.
|
|
|
Дополнительный вид – это вид, который получается проецированием предмета на наклонную плоскость, которые невозможно показать на основных видах без искажения формы и размеров (рис. 6.4).

Если дополнительный вид выполняется в проекционной связи с другим изображением, то стрелку и надпись над дополнительным видом не наносят (рис. 5.4, в). Если дополнительный вид располагается не в проекционной связи (смещен), то направление взгляда должно быть указано стрелкой с буквой, а над изображением делается надпись «Вид А» (рис. 5.4, г). Дополнительный вид допускается поворачивать. В этом случае к надписи с правой стороны добавляется знак (рис. 5.4, д).

а) б) в) г) д)
Разрез – это изображение предмета, полученное при мысленном рассечении его одной или несколькими секущими плоскостями. При этом часть предмета, расположенная между наблюдателем и секущей плоскостью, мысленно удаляется, а на плоскости проекций изображается то, что получается в секущей плоскости и за ней. Внутренние линии контура становятся видимыми и изображаются сплошными основными линиями.
Простые разрезы – это разрезы, которые выполняются одной секущей плоскостью.
Сложные разрезы - это разрезы, которые выполняются несколькими секущими плоскостями.
|
|
|
Если изделия металлические, то сечения штрихуются тонкими линиями с правым или левым наклоном под углом 45°(с). Все элементы одной детали штрихуются в одном направлении.
Вертикальный разрез – может выполняться вертикальной плоскостью, параллельной фронтальной или профильной плоскости проекции
Фронтальный разрез - выполняется секущей плоскостью, параллельной фронтальной плоскости проекций (рис. 5.5, а). Часть детали, расположенная перед секущей плоскостью, мысленно удаляется, а оставшаяся часть, полностью изображается на месте главного вида. Все контурные линии, расположенные в секущей плоскости и за ней, показывают на разрезе как видимые.
Профильный разрез – выполняется секущей плоскостью, параллельной профильной плоскости проекций (рис. 5.5, б). Располагается на месте вида слева.


а) б)
Рисунок 5.5 Вертикальные разрезы - фронтальный (а) и профильный (б)
Горизонтальный разрез – выполняется секущей плоскостью, параллельной горизонтальной плоскости проекции. Верхняя часть детали мысленно удаляется, а оставшаяся нижняя часть проецируется на горизонтальную плоскость проекции (рис. 5.6).







