
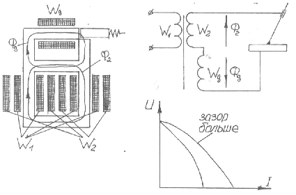
Дополнительная обмотка включена последовательно и встречно с основной обмоткой W2. При увеличении зазора магнитный поток дополнительной обмотки будет уменьшаться, что приведет к увеличению силы сварочного тока. Сварочный трансформатор Никитина также можно изготовить по следующей схеме:

Увеличивается ток, напряжение падает: 
В сварочном трансформаторе Никитина предусмотрены режимы малых токов (обмотки W1 и W2 соединяются последовательно) и больших токов (обмотки W1 и W2 соединяются параллельно). Внутри диапазона регулировка производится в результате изменения зазора. В настоящее время сварочные трансформаторы Никитина также не выпускаются из-за вибрации и шумов.
В любом сварочном трансформаторе существует основной магнитный поток и поток рассеяния. Основной магнитный поток сцепляется как с витками первичной, так и вторичной обмоток. Если магнитный поток в первичной обмотке не пересекает витки вторичной обмотки, то он называется потоком рассеяния.
В сварочных трансформаторах (см. рис. выше) катушки намотаны одна поверх другой, поэтому потоки рассеяния практически равны нулю.






