Правильный механизм.
РИС
Предназначен для правки электродной проволоки. Проволоку пропускают через систему свободно вращающихся роликов, расположенных таким образом, чтобы обратным изгибом компенсировать её кривизну. В большинстве современных полуавтоматов правильный механизм стоит в одной плоскости.
Обеспечивают направление электрода в зону горения дуги и подвод к нему сварочного тока. Причем в аппаратах под флюсом называется мундштук, для аппаратов в среде защитных газов – горелкой.

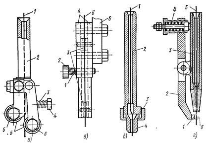
Токоподводящие мундштуки.
1. Роликовые, наиболее распространенные. Имеется 2, 3 неподвижных бронзовых тороидальных роликов между которыми скользит проволока. Ролики укреплены на токоведущем корпусе и поджимаются пружиной. По мере износа роликов их откручивают (отпускают), поворачивают на необходимый угол и снова закручивают.
РИС
2. Колодочные – две медные колодки с прорезями. Одна из колодок подвижна и прижимает проволоку к другой колодке. Сварочный ток подводится к неподвижной. Для уменьшения износа вставляют различные вкладыши с разными канавками, что позволяет использовать мундштук с различными проволоками.
|
|
|
Роликовые и колодочные мундштуки применяются для диаметров 3 – 5 мм.
3. Трубчатый мундштук – диаметр проволоки 1 – 2 мм. Скользящим контактом является бронзовый сменный наконечник, который крепится с помощью накидной гайки.
РИС. Ось наконечника со смещенным эксцентриситетом относительно оси мундштука. Контактное давление создается за счет изгиба и упругости проволоки.
4. Сапожковые. Для очень тонких проволок применяются лепестки.
РИС






