Техническая эксплуатация автоматизированных устройств
Техническая эксплуатация и ответственность за исправное состояние автоматизированных устройств возлагаются на членов судового экипажа, в заведовании которых они находятся:
- на судовых механиков в части пневматических, гидравлических и механических средств автоматизации в соответствии с их заведованием;
- на электромехаников в части электрических средств автоматизации, в том числе электрических элементов, конструктивно входящих в состав перечисленных выше средств автоматизации.
На судах со знаком автоматизации А1 в символе класса Регистра или соответствующими знаками автоматизации иностранных классификационных обществ организация технического использования СТС должна соответствовать требованиям Положения об эксплуатации судов без постоянного присутствия вахтенного персонала в центральном посту управления и машинных отделениях. Вне зависимости от знака автоматизации при эксплуатации автоматизированных устройств обязательно выполнение ПТЭ СТС и инструкций.
|
|
|
Ввод автоматизированных устройств в режим автоматического или дистанционного управления выполняют после проведения работ по подготовке средств автоматизации к действию. Указанные средства должны использоваться в полном объеме, соответствующем присвоенному судну знаку автоматизации и принятой форме вахтенной службы. Ввод в действие автоматизированных устройств после продолжительного нерабочего периода, ТО с выводом из действия или ремонта должен выполняться механиком по заведованию с участием старшего электромеханика. При вводе в действие автоматизированных устройств необходимо:
убедиться в готовности технических средств к действию;
установить органы управления в исходное положение;
включить питание и по сигнальным лампам и штатным контрольно-измерительным приборам убедиться в подаче напряжения;
убедиться в правильности действия автоматизированных устройств по лампам исполнительной сигнализации или при помощи других средств контроля после изменения положения органов управления или нажатия кнопки "Пуск".
Проверка функциональных узлов автоматизированных устройств должна проводиться в порядке, установленном инструкциями завода-изготовителя. При ежедневном осмотре электрооборудования старший электромеханик обязан:
провести внешний осмотр автоматизированных устройств и отдельных узлов, обращая внимание на их чистоту, отсутствие посторонних предметов, потеков жидкостей, коррозионных и механических повреждений, а также закрытие крышек и дверей;
|
|
|
проверить исправность сигнальных ламп, находящихся в действии, и заменить неисправные.
При обнаружении выхода контролируемых или регулируемых параметров, временных задержек, уставок срабатывания за пределы установленных значений необходимо в возможно короткий срок выполнить настройку и регулировку средств автоматизации (механиком по заведованию совместно со старшим электромехаником или специализированной береговой организацией). В случае систематических отказов автоматизированных устройств соответствующее донесение направляется судовладельцу.
Отключение автоматизированных устройств и переход на ручное управление проводятся с разрешения старшего механика и с ведома вахтенного механика при ТО или ремонте, а также для устранения неисправностей. При выводе из действия автоматизированных устройств необходимо:
- установить органы управления в положение, соответствующее выключенному состоянию;
- убедиться в правильности выполнения команды по лампам исполнительной сигнализации или при помощи других средств контроля;
- выключить питание.
При исчезновении питания или возникновении неисправностей в работе автоматизированных устройств, а также при появлении сигналов, причину которых лица вахтенной службы определить не в состоянии, необходимо сообщить об этом старшему электромеханику. При обесточивании судна вахтенный механик и старший электромеханик должны принять все меры к немедленному восстановлению работы автоматизированных устройств, руководствуясь инструкциями, которые должны быть разработаны судовладельцем для каждого типа судна и вывешены в машинном отделении (ЦПУ). При непосредственной угрозе затопления автоматизированных устройств они должны быть выведены из действия.
СУ СЭЭС «ГИЕПАС»
Микропроцессорная система управления «Гиепас» многофункциональна. Она осуществляет пуск и остановку вспомогательных дизелей, синхронизацию, подключение и отключение резервных генераторов, распределяет активную и полную мощность между параллельно работающими генераторами. Она же поддерживает в сети постоянное значение частоты, контролирует процесс подключения мощных потребителей электроэнергии, защищает генераторы от токов короткого замыкания и перегрузки, а также от несимметричных режимов работы. Микропроцессорная система управления не допускает значительных отклонений напряжения и чатоты от номинальных значений. Она отключает второстепенные потребители электроэнергии при перегрузках по току и отклонениях частоты. Помимо того, микропроцессорная система осуществляет постоянный контроль за исправностью входящих в нее элементов.
Микропроцессорная система управления «Гиепас» состоит из четырех микро-ЭВМ DSG 822 и одной микро-ЭВМ LSG821.
Микро-ЭВМ DSG 822 («Dieselsteuergerat» микро-ЭВМ управления дизель-генератором) предназначены для управления дизель-генераторными агрегатами и осуществления контроля над ними.
Микро-ЭВМ LSG 821 («Lastwachtersteuergerat» – микро-ЭВМ управления режимами работы) предназначена для управления режимами работы и контроля за работой электроэнергетической системы.
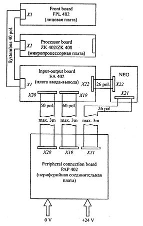
Каждая из микро-ЭВМ DSG 822 имеет пять плат: микропроцессорную плату ZK 408, лицевую плату FPL 402, плату ввода-вывода EA 402, плату блока питания NEG и периферийную соединительную плату PAP 402 (рис.1).
Платы ZK 408, FPL 402, EA 402 и NEG 415 каждой микро-ЭВМ DSG 822 смонтированы в одном корпусе, который располагается на лицевой части соответствующей панели ГРЩ. Периферийная соединительная плата PAP 402 размещена на задней части той же панели.
Первые три платы каждой микро-ЭВМ DSG 822 соединены между собой системной шиной Х1. Плата ввода-вывода соединена двумя плоскими кабелями Х20, Х19 с периферийной соединительной платой и одним плоским кабелем Х22 – с блоком питания. Блок питания связан плоским кабелем Х21 с периферийной соединительной платой (рис.1).
|
|
|
Микро-ЭВМ LSG 821 состоит из четырех плат: микропроцессорной платы ZK 408, лицевой платы FPL 401, платы ввода-вывода EA 401 и периферийной соединительной платы PAP 401 (рис 2).
Платы ZK 408, FPL 401 и EA 401 микро-ЭВМ LSG 821 смонтированы в одном корпусе, который располагается на лицевой части одной из панелей ГРЩ. Периферийная соединительная плата размещена рядом на этой же панели ГРЩ.
Рисунок 1 – Структурная схема микро – ЭВМ DSG 822
|
Рисунок 2 – Структурная схема микро – ЭВМ LSG 821
|
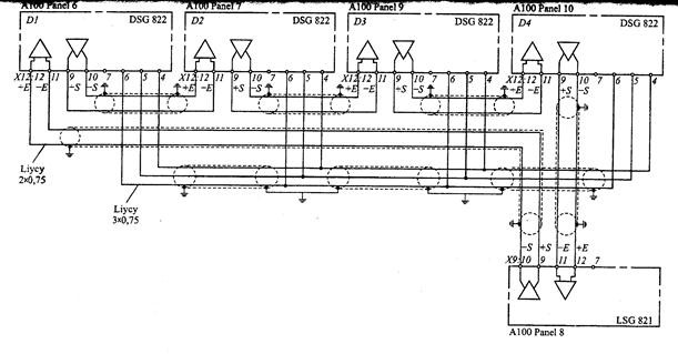
Все микро-ЭВМ через клеммы периферийных соединительных плат связаны между собой (рис. 3).

Рисунок 3 – Схема связи между микро – ЭВМ
На этом рисунке Х12 это клеммы плат РАР 402, Х9 – клеммы платы РАР 401.
Структурная схема СУ СЭЭС «Гиепас» представлена на рисунке 3.

Рисунок 4 – Структурная схема СУ СЭЭС «Гиепас»
1. Микро-ЭВМ DSG 822
1.1. Микропроцессорная плата ZK 408
Состав. На этой микропроцессорной плате расположены следующие элементы: микропроцессор, запоминающее устройство, регистры, двунаправленные буферные усилители, логические элементы, триггеры, внешний генератор тактовых импульсов, дешифраторы и таймеры.
1.2. Лицевая плата FPL 402
Лицевая плата FPL 402 объединяет элементы коммутации и индикации. На передней части лицевой платы расположены кнопки (некоторые из них снабжены светодиодами), переключатель, дисплей и светодиоды-индикаторы. Внешний вид лицевой платы приведен на рисунке 5.
Всего на лицевой плате семнадцать кнопок и один переключатель. В некоторые кнопки вмонтированы светодиоды.
Помимо светодиодов, вмонтированных в кнопки, на лицевой плате также присутствуют отдельные светодиоды, служащие для индикации состояния микро-ЭВМ, дизеля, генератора, для сигнализации о срабатывании защиты генератора и возникновении аварийной ситуации.
В рабочем состоянии микро-ЭВМ горит светодиод «Stand by». При наличии повреждения загорается светодиод «Unit fault».Когда дизель и генератор находятся в рабочем состоянии, светятся следующие светодиоды:
|
|
|
«Ready» – готов;
«Ready to synchron» – готов к синхронизации и т.д.

Рисунок 5 – Лицевая плата FPL 402
В том случае, когда срабатывает защита генератора, начинает светиться один из следующих светодиодов:
«Under voltage» – низкое значение напряжения;
«Reverse power» – обратная мощность и т.д.
1.3. Плата ввода-вывода ЕА 402
Плата ввода-вывода ЕА 402 служит для приема и обработки двоичных сигналов, поступающих от микропроцессорной платы ZK 408, и аналоговых сигналов – от периферийной соединительной платы РАР 402.
Плата ЕА 402 соединена с микропроцессорной платой посредством системной шины Х1, состоящей из шины данных, адресной шины и шины управления. Между ZK 408 и ЕА 402 происходит взаимный обмен информацией по шине данных. На основе обмена данными микро-ЭВМ управляет судовой электроэнергетической установкой.
Также плата ЕА 402 соединена двумя плоскими кабелями Х20, Х19 с периферийной соединительной платой РАР 402 и одним плоским кабелем с блоком питания NEG.
1.4. Периферийная соединительная плата РАР 402
Периферийная соединительная плата РАР 402 служит для соединения микро-ЭВМ между собой. К этой плате подключены различные органы управления электроэнергетической установкой, на нее поступают сигналы о напряжениях и токах генератора, сигналы с датчиков дизеля. Также на плате РАР 402 расположены электромагнитные реле, служащие для осуществления контроля и управления ЭЭУ.
Питание к плате РАР 402 поступает через выпрямитель от источника постоянного тока напряжением 24 В.
На плате РАР 402 расположены два датчика напряжения и три датчика тока.
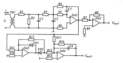
Принципиальная схема датчика напряжения. Датчик напряжения представляет собой измерительный трансформатор напряжения ТV. Его первичная обмотка подключена к линейному напряжению. Напряжение вторичной обмотки составляет 24 В. Для ограничения напряжения вторичной обмотки к ней подключен cтабистор D1
Напряжение вторичной обмотки ТV поступает на фильтр нижних частот второго порядка с многопетлевой обратной связью. Фильтр нижних частот выполнен на операционном усилителе DА1. Он служит для фильтрации высших гармонических составляющих. С выхода фильтра нижних частот сигнал поступает на однонолупериодный выпрямитель с фильтром нижних частот. Этот выпрямитель выполнен на операционных усилителях.

Рисунок 6 – Датчик напряжения
Таким образом, каждый датчик напряжения имеет два выходных сигнала: переменного тока Uвых1 и постоянного тока – Uвых2.
У одного из датчиков напряжения измерительный трансформатор ТV подключен к генератору, у второго - к шинам.
Сигналы переменного тока датчиков напряжения поступают на плату ЕА 402, где они работают в системе прерывания микро-ЭВМ. Помимо того, эти же сигналы используются в схеме синхронизации.
Сигналы постоянного тока датчиков напряжения приходят на плату ЕА 402 к мультиплексору - для дальнейшей обработки аналого-цифровым преобразователем.
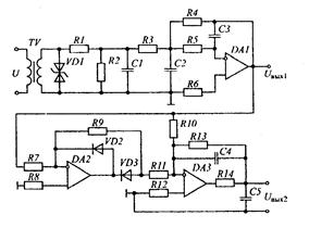
Принципиальная схема датчика тока. Эта принципиальная схема показана на рис. 7. Датчик тока представляет трансреактор ТАV. Первичная обмотка этого трансреактора подключена ко вторичной обмотке первичного измерительного трансформатора тока с силой тока I = 5 А.

Рисунок 7 - Датчик тока
Трансреактор представляет собой трансформатор. На первичную обмотку такого трансформатора поступает ток, а на вторичной обмотке возникает ЭДС. Эта ЭДС изменяет свое значение пропорционально току в первичной обмотке и сдвинута по фазе относительно тока на угол, близкий π/2. Для того, чтобы между током и ЭДС существовала линейная зависимость, трансреакторы обычно изготавливают с воздушным зазором в сердечнике.
Напряжение вторичной обмотки ТАV поступает на фильтр нижних частот с многопетлевой обратной связью. Этот фильтр служит для выделения первой гармонической составляющей выходного напряжения трансреактора. Выполнен фильтр на операционном усилителе А47.
С выхода фильтра нижних частот сигнал поступает на инвертирующий усилитель с операционным усилителем DА2 и однополупериодный выпрямитель с фильтром нижних частот. Однополупериодный выпрямитель выполнен на операционных усилителях
Один из датчиков имеет два выходных сигнала: переменного тока (Uвых1) и постоянного тока (Uвых2). Два других датчика имеют только сигналы постоянного тока. Таким образом, с выходов трех датчиков тока поступают напряжения постоянного тока, значения которых меняются пропорционально токам в фазах генератора.
Сигналы постоянного тока трех датчиков тока поступают на плату ЕА 402 к мультиплексору - для дальнейшей обработки аналого-цифровым преобразователем.
Сигнал переменного тока использован в системе прерывания микро-ЭВМ.
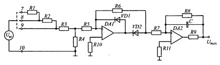
На рис. 8 представлена принципиальная схема датчика частоты вращения генератора.
Выходной сигнал тахогенератора Uтг поступает на делитель напряжения. Этот делитель напряжения состоит из резисторов R1, R2, R3, R4. Выходной сигнал делителя напряжения снимается с резистора R4. Подключение тахогенератора к клеммам 7, 8, 9 зависит от значения напряжения на его выходе.

Рисунок 8 – принципиальная схема датчика частоты вращения генератора
Напряжение с выхода делителя напряжения поступает на вход однополупериодного выпрямителя на операционном усилителе DA1. С выхода этого выпрямителя сигнал идет на вход апериодического звена первого порядка на операционном усилителе DA2. Схема на усилителе DA2 выступает в качестве фильтра нижних частот и служит для сглаживания динамических составляющих выходного напряжения тахогенератора.
2. Микро-ЭВМ LSG 821
2.1. Микропроцессорная плата ZK 408
Состав и функции этой платы такие же, как и в микро-ЭВМ DSG 822, за исключением различий в диапазоне адресов микросхем памяти в программе.
2.2. Лицевая плата FPL 401
Лицевая плата служит для коммутации и индикации. На ней располжены кнопки, светодиоды, дисплей. Состав лицевой платы показан на рисунке 9.

Рисунок 9 – Лицевая плата FPL 401
2.3. Плата ввода-вывода ЕА 401
Служит для приема и обработки сигналов: двоичных с микропроцессорной платы ZK 408, дискретных и аналоговых – с периферийной платы РАР 401.
2.4. Периферийная соединительная плата РАР 401
Ее функции аналогичны функциям платы РАР 402
Рисунок 1 – Структурная схема микро – ЭВМ DSG 822
Рисунок 2 – Структурная схема микро – ЭВМ LSG 821