Системы ДАУ ДГ предназначены для автоматизации процессов пуска, остановки, контроля и защиты дизелей, входящих в состав ГА. На судах отечественной постройки применяют системы ДАУ ДГ типов СДГ-Т и "Роса-М".Объем автоматизации этих систем примерно одинаков. Система ДАУ СДГ-Т обеспечивает следующие операции:
автоматическое поддержание дизеля в состоянии резерва;
автоматический пуск и вывод дизеля на номинальную частоту вращения при появлении сигнала из блока устройства включения резерва об увеличении нагрузки на базовом генераторе;
дистанционный пуск и автоматический вывод дизеля на номинальную частоту вращения, а также дистанционную остановку по сигналу оператора с основного или выносного пульта управления;
аварийную остановку дизеля при превышении допускаемой температуры воды в системе охлаждения, масла в смазочной системе и частоты вращения;
аварийную остановку дизеля при снижении давления воды в системе охлаждения и масла в смазочной системе;
аварийную и предупредительную сигнализацию;
|
|
|
встроенный функциональный контроль исправности системы.
Системы ДАУ СДГ-Т и "Роса-М" имеют смешанную элементную базу, причем блоки управления первой из них выполнены в основном на диодно-транзисторной логике, а второй - на электромагнитных реле. Обе системы являются унифицированными и обеспечивают управление генераторами постоянного и переменного тока мощностью 100-1000кВт по одной из пяти программ (в соответствии с типом дизеля).
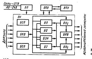
Система ДАУ СДГ-Т состоит из четырех частей (рис. 23): блока питания БП, основного ОПУ и выносного ВПУ пультов управления и блока управления БУ. Блок питания предназначен для электроснабжения системы выпрямленными напряжениями 24, 12 и 3 В от судовой сети переменного тока или от АБ при исчезновении напряжения сети.
Основной ОПУ и выносной ВПУ пульты управления, размещенные соответственно в непосредственной близости с ДГ и в ЦПУ, состоят из органов управления и сигнальных табло, причем в меньшем объеме у ВПУ. В блок управления входят следующие функциональные блоки: стабилизированного питания БСП ( 2 шт .), контроля времени БКВ, пуска БП, остановки БО, аварийных защит БЗ, неотключаемых элементов БЭН, усилителей БУс (2 шт.) и выходных реле БРВ.

Рисунок 23 – Функциональная схема системы ДАУ СДГ–Т