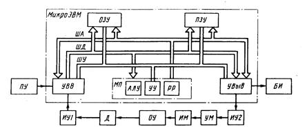
В общем случае в состав микропроцессорных СУ (рис. 24) входят:
объект управления ОУ (например, ДГ или СГ);
пульт управления ПУ; микро-ЭВМ;
интерфейсные (согласующие) устройства ИУ1 и ИУ2;
датчики Д; усилители мощности УМ; исполнительные механизмы ИМ;
блок индикации БИ (в большинстве" случаев он встроен в ПУ, но на рис. 23 показан отдельно с целью упрощения структурной схемы).
Помимо перечисленных компонентов, в состав таких СУ входят каналы передачи данных, контроллеры и др.
МикроЭВМ — вычислительная машина, представляющая собой совокупность микропроцессора МП, устройств ввода УВв и вывода У Выв информации, запоминающих устройств ОЗУ и ПЗУ,
Процессором ЭВМ называется устройство для автоматической обработки цифровой информации по заданному алгоритму.
Процессор, выполненный в виде одной или нескольких микросхем с высокой степенью интеграции, называется микропроцессором. Микропроцессоры СУ обычно выполняют ограниченный объем арифметических операций, что позволяет упростить структуру и свести к минимуму размеры МП. В состав МП входят: арифметико-логическое устройство АЛУ, устройство УУ управления и рабочие регистры pp.
|
|
|
Арифметико-логическое устройство предназначено для выполнения арифметических и логических операций. К первым из них относятся сложение, вычитание, преобразование двоичных чисел и др., ко вторым - инверсия, конъюнкция, дизъюнкция и др. Это устройство построено на сумматорах, элементная база которых состоит из 1-разрядных сумматоров, регистров сдвига, инверторов и т. д. на основе интегральных микросхем.
Устройство управления обеспечивает выполнение операций в определенной последовательности, заданной алгоритмом, а также связи микропроцессора с 03 У, ПЗУ, УВв и У Выв. Элементной базой УУ являются дешифраторы на основе интегральных микросхем.
Рабочие регистры, служащие для временного хранения и преобразования данных и команд, строятся на типовых элементах - триггерах и логических схемах И, ИЛИ, НЕ.
Запоминающие устройства реализуют прием, хранение и выдачу информации и программ ее обработки. Их подразделяют на постоянные и оперативные. Постоянные запоминающие устройства ПЗУ используют для хранения программ работы МП иконстант, причем информация, заложенная в ПЗУ, не теряется при отключении питания. Оперативные запоминающие устройства ОЗУ применяют для хранения данных, которые обрабатываются при помощи МЛ. Для построения запоминающих устройств используют кольцевые ферритовые сердечники или БИС,
Характерной особенностью микроЭВМ является наличие стековой памяти. Стеком называют запоминающее устройство "магазинного" типа, ячейки которого заполняются последовательно (одна за другой). Аналогично, ячейка за ячейкой, происходит вывод информации из стека. Таким образом, перемещение чисел внутри стека напоминает перемещение патронов внутри магазина пистолета. Стековая память позволяет упростить обработку программ и повысить быстродействие АЛУ. В качестве стека может использоваться отдельная микросхема или просто часть ОЗУ.
|
|
|
В сложных микропроцессорных системах для хранения больших объемов информации используют внешние запоминающие устройства, конструктивно не объединенные с блоками ЭВМ и реализуемые на магнитных лентах, дисках или барабанах.

Рисунок 24 – Структурная схема микропроцессорной системы управления
Устройства ввода и вывода информации предназначены для ввода обрабатываемой информации в МП, вывода и наглядного представления обработанной информации. Для ввода информации используют пульты управления с клавиатурой, выключателями, переключателями и т. д., а также пишущие машинки и телетайпы с перфоприставками, оптические считывающие устройства и др. Для вывода информации применяют бумажные ленты с цифровым и буквенно-цифровым текстом, графиками, а также дисплеи, экраны, табло, микрофильмы и др.
Совокупность информационных каналов микроЭВМ называется шинами. Шины выполняют в виде пучка проводов или печатной схемы и подразделяют на 3 вида: адресные, данных и управления.
Шина адресная ША предназначена для передачи адреса ячейки памяти с данными или командой от микропроцессора к ОЗУ, ПЗУ, УВв и УВыв.
Шина данных ШД- это 2-направленная линия для обмена данными между отдельными компонентами микроЭВМ.
Шина управления ШУ предназначена для передачи тактовых, синхронизирующих сигналов, а также информации о состоянии (статусе) компонентов микроЭВМ.
Объединение различных компонентов микропроцессорной СУ должно проводиться с учетом характера и временных параметров сигналов на стыках между компонентами. Чтобы сигналы были совместимыми, применяют вспомогательные устройства, называемые интерфейсными. Эти устройства можно разделить на 2 группы. Первая группа обеспечивает подключение ОЗУ, ПЗУ, УВв и УВыв к шинам МП и решает задачи синхронизации и управления шинами, а также выборки компонентов, обеспечивающих своевременную передачу данных между МП и выбранным компонентом. Вторая группа обеспечивает "стыковку" микроЭВМ с внешними компонентами (например, с периферийными устройствами, каналами передачи данных, контроллерами) и преобразование внешних сигналов в сигналы, совместимые с сигналами на шинах, а также обратное преобразование. Так, если датчики Д имеют аналоговые выходные сигналы, интерфейсное устройство ИУ1 может представлять собой АЦП. В то же время для управления работой механизма ИМ (например, серводвигателем ПД генератора) могут использоваться аналоговые сигналы. В этом случае интерфейсное устройство ИУ2 представляет собой ЦАП.