Назначение микро-ЭВМ LSG 821
Режимы работы микро-ЭВМ DSG 822.
Микро-ЭВМ DSG 822 может функционировать в двух режимах работы: ручном и автоматическом. Режим выбирают нажатием на соответствующую кнопку «Manual» для ручного и «Auto» для автоматического.
В ручном режиме пуск и остановку дизеля осуществляют путем нажатия на соответствующие кнопки – «Start» или «Stop». Подобным образом в этом режиме управления вручную осуществляют синхронизацию, подключение генератора к шинам ГРЩ и распределение активной мощности. При обесточивании судна автоматический пуск дизеля не происходит.
В автоматическом режиме операции по запуску и остановке дизеля, синхронизация, подключение генератора к шинам ГРЩ и распределение активной мощности выполняется автоматически.
Системы контроля и защиты дизеля и генератора функционируют независимо от выбранного режима работы.
Микро-ЭВМ LSG 821 служит для осуществления контроля за нагрузкой судовой электростанции. При помощи линий связи эта микро-ЭВМ постоянно получает информацию о нагрузке каждого работающего генератора.
|
|
|
Помимо контроля за нагрузкой судовой электростанции микро-ЭВМ LSG 821 может обеспечивать включение шести наиболее мощных установок, имеющих контакторные станции.
На дисплее микро-ЭВМ предусмотрена индикация восьми рабочих величин, а также кодов и параметров заданных величин и аварийных сигналов. Светодиоды микро-ЭВМ позволяют контролировать включение кнопок управления и генераторных автоматов, наблюдать за состоянием дизелей и генераторов, а также следить за работой подруливающего устройства.
Микро-ЭВМ LSG 821 контролирует процесс включения мощных потребителей с целью предотвращения их произвольного пуска.
Посредством шести каналов микро-ЭВМ может обеспечить контроль за шестью потребителями. Два первых канала предусмотрены для потребителей с переменной нагрузкой.
При помощи одного из этих каналов микро-ЭВМ осуществляет контроль только одного мощного потребителя на судне - подруливающего устройства. Второй канал микро-ЭВМ использует для пуска электроприводов машинного отделения по системе «Stand by».
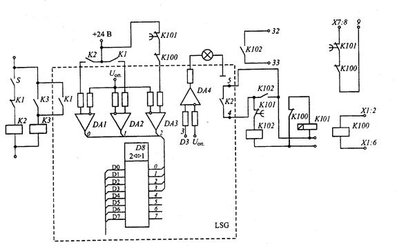
Подключение подруливающего устройства. Обратимся к рисунку 10. Пунктирной линией на схеме ограничены элементы микро-ЭВМ LSG 821.
После нажатия на кнопку S, расположенную на посту управления подруливающим устройством, срабатывает реле K2 (установленное там же). При замыкании контакта реле на неинвертирующий вход операционного усилителя DA1 поступает положительный потенциал. Это приводит к появлению на выходе DA1 логической «1», которая поступает на двунаправленный буферный усилитель D8.
|
|
|

Рисунок 10 – Схема подключения подруливающего устройства и система «Stand by»
Таким образом, срабатывание реле K2 приводит к тому, что на микро-ЭВМ поступает сигнал о предстоящем подключении подруливающего устройства. Микро-ЭВМ определяет суммарную мощность нагрузки судовой электростанции с учетом мощности электродвигателя подруливающего устройства (значение этой мощности записано в памяти микро-ЭВМ). Затем микро-ЭВМ определяет значение резервной мощности и, если соблюдено условие DР < Рmin, дает команду на запуск резервного дизеля и подключение генератора.
При условии DР < Рmin срабатывает реле K1 периферийной соединительной платы РАР 401/
Реле K1 своим контактом подает питание к реле KЗ, которое установлено на посту управления подруливающим устройством. Реле K3, в свою очередь, одним из своих контактов шунтирует контакт реле K1, а другим - дает разрешение на пуск электродвигателя.
После пуска электродвигателя срабатывает реле K1 подруливающего устройства (на рисунке оно не показано). Это реле обесточивает реле K2 и подает положительный потенциал на неинвертирующий вход операционного усилителя DА2, что приводит к подаче на микро-ЭВМ сигнала о включении подруливающего устройства. Таким образом происходит прекращение запроса о включении подруливающего устройства и поступает информация о пуске электродвигателя.
В течение процесса запроса о включении подруливающего устройства происходит мигание светодиода «Bow thruster». После включения подруливающего устройства этот светодиод перестает мигать и горит постоянно.
Одновременно с этим с регистра D3 поступает сигнал на бесконтактный ключ на операционном усилителе DА4, который подключает лампу индикации. Лампа индикации установлена на посту управления подруливающим устройством.
Если в течение процесса запроса микро-ЭВМ фиксирует значение DР > Рmin, то дает разрешение на включение подруливающего устройства без подключения резервного генератора.
После срабатывания реле КЗ (расположенного на посту управления подруливающим устройством) его состояние не зависит от команд микро-ЭВМ. При этом отключение любого количества работающих генераторов - в силу случайных и неслучайных факторов - не приведет к образованию запрета на включение электродвигателя. Возможно даже включение электродвигателя при работе только одного генератора, и что незамедлительно вызывает обесточивание судна. Для устранения такой возможности следует изменить принципиальную схему включения электродвигателя путем введения запрета на его включение при условии отключения любого из работающих генераторов.
Мощность, потребляемая электродвигателем подруливающего устройства, зависит от разворота лопастей, является случайной величиной и имеет переменный характер.
Для того, чтобы предотвратить отключение резервного генератора при малой нагрузке (то есть при DР > Рmin), микро-ЭВМ подключает канал «No DG Stop».
Если значение DР > Рmin сохраняется в течение времени, превышающего продолжительность периода выдержки при остановке дизеля, то появляется следующая индикация: «Stop time finished», «DG stoppage» и «Diesel underload».
Пуск электроприводов машинного отделения по системе «Stand by». После обесточивания судна включение всех необходимых электроприводов машинного отделения происходит автоматически по системе «Stand by».
Схема включения системы «Stand by» аналогична схеме включения подруливающего устройств. Реле Д700 подключено к схеме обнаружения обесточивания судна («Blackout») и в нормальном режиме питание на него не поступает (см. рис. 4.7). Клеммы XV: 2, б относятся к схеме обнаружения «Blackout» (см. рис. 3.2).
При обесточивании судна реле К100 получает питание. Одним из своих контактов это реле размыкает цепь питания реле времени К101. Реле К101, в свою очередь, замыкая свои контакты, подготавливает цепи запроса и разрешения Х7: 8, 9 микро-ЭВМ LSG 821.
|
|
|
После подключения генератора по системе «Blackout» реле К100 снова обесточивается. При этом одним из своих контактов реле К100 подает питание к реле времени К101. Контакты реле времени К101 размыкают соответствующие цепи после заданного времени выдержки. Это время составляет 150 с.
Другим своим контактом реле К100 замыкает цепь запроса микро-ЭВМ. Это приводит к подаче сигнала о предстоящем включении станции управления электроприводов машинного отделения.
В дальнейшем процесс протекает аналогично процессу подключения подруливающего устройства. После включения второго генератора срабатывает реле К2 периферийной соединительной платы РАР 401. Замыкание контакта реле К2 приводит к подаче питания к реле К102. Последнее, в свою очередь, своим контактом замыкает цепь между клеммами 32, 33 станции управления электроприводами машинного отделения по системе «Stand by». Замыкание клемм 32, 33 приводит к автоматическому включению электроприводов машинного отделения по заданной временной программе. По истечении времени, определенного значением выдержки реле К101, происходит размыкание цепи запроса микро-ЭВМ и цепи питания реле К102.
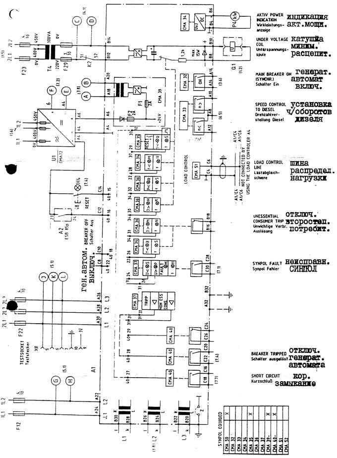
Описание устройства защиты генераторов и сети судовых электроэнергетических установок типа «Синпол»
1. Назначение системы
Устройство защиты генераторов разработано фирмой ABB специально для судовых трехфазных сетей. Оно осуществляет защиту и контроль генератора и подключенных к сборной шине устройств. Устройство формируется на базе электронных элементов и имеет гальваническую развязку от сети за счет подключения через трансформаторы напряжения и тока.
При разработке устройства особое внимание уделялось его надежности с тем, чтобы в случае неисправности, обеспечить целенаправленное отключение в электроэнергетической установке, сохраняя питание наиболее ответственных потребителей.
|
|
|
В судовые электроэнергетические установки, как правило, входит несколько генераторов. Каждый генератор комплектуется своим устройством защиты.
Для контроля, к устройству подводятся трехфазное напряжение генератора и двухфазное напряжение сборных шин, а также сигналы трансформаторов тока, включенных в трехфазный токопровод генератора. Для питания устройства применяется напряжение 220В переменного тока или же 24В постоянного тока. Возможно применение обоих напряжений одновременно.
В связи с применением устройства, генераторный выключатель не нуждается во встроенных механизмах защиты. Для его расцепления необходима только катушка минимального реле на 220В постоянного тока, которая получает питание от устройства СИНПОЛ.
Ниже приведены наиболее важные функции устройства:
1. Защита от короткого замыкания (КЗ), функционирует также при исчезновении питающего напряжения устройства.
Защита от повторного включения в связи с ручным взводом после срабатывания.
Селективное отключение при КЗ.
2. Защита от перегрузки, осуществляемая посредством определения перегрузки по току. В специальном исполнении предусматривается отключение при плавно изменяющейся частоте.
3. Защита от обратной мощности.
4. Отключение второстепенных потребителей при перегрузке.
5. Синхронизация генератора с сетью.
6. Автоматическая подгонка частоты подключаемого агрегата.
7. Контроль повышенного и пониженного напряжения.
8. Двухступенчатый контроль пониженной частоты.
9. Контроль симметричности тока.
10. Контроль цепей трансформаторов тока на обрыв.
11. Собственный контроль напряжения питания.
12. Возможность измерения мощности также при несинусоидальной форме напряжения и тока, специально для тиристорной нагрузки. Выходной сигнал ± 10B постоянного тока для прибора магнитоэлектрической системы.
13. Непрерывное запоминание и индикация всех функций срабатывания.
14. Обеспечение катушки минимального расцепителя генераторного выключателя напряжением питания 220В постоянного тока с поддержанием этого питания при провалах напряжения во время КЗ. Отключение автомата происходит непосредственно от минимального расцепителя, цепь питания которого смонтирована в устройстве.
15. Вывод сигналов на внешнюю сигнализацию и для обработки в системе АПС.
16. Распределение активной нагрузки большого числа параллельно работающих агрегатов с автоматическим регулированием частоты по астатической или статической характеристике.
Конструктивно прибор представляет из себя 19-дюймовый блок со штыревыми разъемами и монтажной печатной платой для соединения отдельных модулей.
Блок (корпус) СМА 50 стандартного исполнения.
Карта синхронизации СМА 32. Выравнивание фаз.
Карта синхронизации СМА 33. Выравнивание частот.
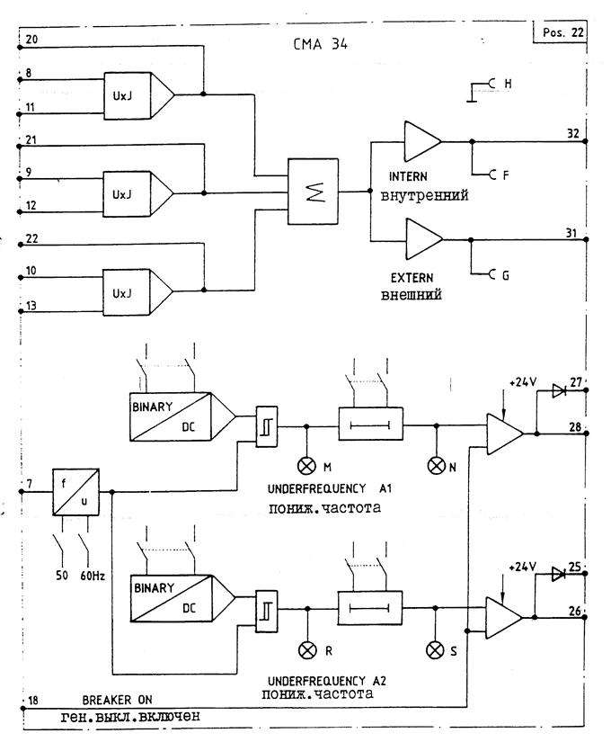
Карта измерения мощности СМА 34.
Карта защиты от КЗ СМА 35, для селективного отключения генератора в случае КЗ.
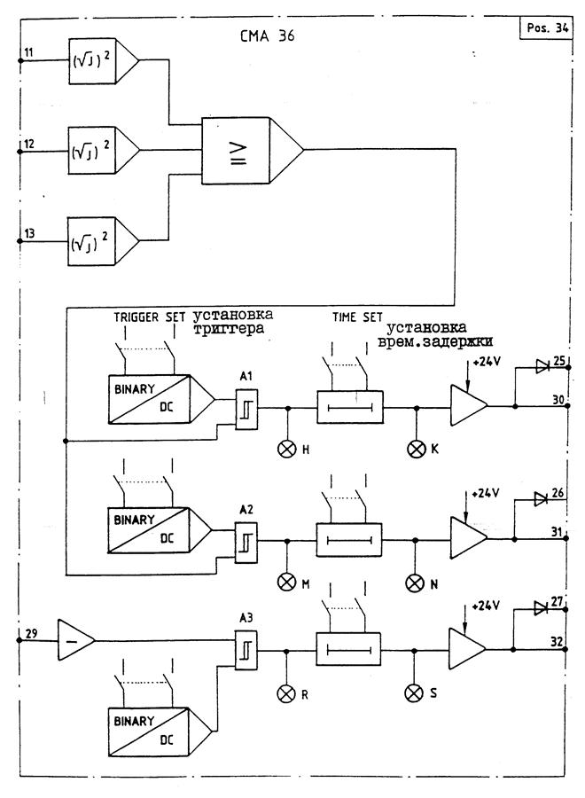
Карта предельных значений СМА 36, выдает сигнал при достижении предельной величины:
предельная величина срабатывания при токовой перегрузке для отключения генераторного выключателя;
предельная величина срабатывания при токовой перегрузке для отключения второстепенных потребителей;
предельная величина срабатывания по обратной мощности для отключения генераторного выключателя.
Карта предельных значений СМА 36-2 для плавно изменяющейся частоты (валогенераторные установки).
Карта контроля СМА 37 со следующими функциями контроля и сигнализации:
1) контроль напряжения питания;
2) контроль цепей трансформаторов тока на обрыв;
3) контроль понижения напряжения;
4) контроль повышенного напряжения;
5) сигнализация КЗ с запоминанием сигнала;
6) сигнализация токовой перегрузки с запоминанием сигнала;
7) сигнализация обратной мощности с запоминанием сигнала;
8) сигнализация уровня снижения частоты A1 с запоминанием сигнала;
9) сигнализация уровня снижения частоты А2 с запоминанием сигнала;
10) контроль отключения второстепенных потребителей при токовой перегрузке с запоминанием сигнала;
11) сигнализация превышения напряжения с запоминанием сигнала;
12) сигнализация пониженного напряжения без запоминания сигнала;
13) кнопка сброса памяти сигналов неисправности.
Модуль преобразования напряжения генераторов и сети СМА 39
Токовый модуль СМА 40, включает в себя преобразователи тока, выходные реле, а также цепь питания катушки минимального расцепителя генераторного выключателя (15Вт, 220В постоянного тока с накопителем энергии для кратковременного удержания);
Карта распределения активной нагрузки параллельно работающих дизель-генераторных агрегатов СМА 51.
Карта регулирования частоты дизель-генераторных агрегатов СМА 52 (одна на все генераторы).
2. Описание карты синхронизации СМА 32
Для подключения генератора на сеть обе системы должны быть синхронизированы. Для синхронизации используются фазы L1и L2 со стороны генератора и сети.
Для проверки синфазности применяются два независимых метода измерения. Это позволяет значительно увеличить защиту от ошибочной синхронизации.
Первый метод - это метод измерения биений. Определяется разность синусоидальных напряжений сети и генератора.
Результирующее напряжение, при совпадении мгновенных значений в момент синхронизма, равно нулю. Однако, при этом способе может возникнуть ошибка измерения, если амплитуды напряжений сети генератора неодинаковы.
Второй метод - это метод регистрации перехода через нуль. В момент перехода через нуль напряжения сети подготавливается быстродействующее аналоговое запоминающее устройство, которое отслеживает и запоминает генераторное напряжение.
При подобном методе, разность амплитуд синронизируемых напряжений существенной роли не играет. Сигнал, сформированный на базе обоих методов, в нужный момент подается на пороговый выключатель.
Разрешение синхронизации зависит, кроме того, от разности частот генератора и сети (частоты скольжения). Частота скольжения непрерывно измеряется и регулируется до установленного значения. Это значение может быть изменено согласно протоколу настройки. Увеличение установленного значения частоты скольжения позволяет ускорить синхронизацию. В этом случае, генераторный выключатель с пружинным приводом соответственно должен быть быстродействующим
Генераторные выключатели фирмы ABB отвечают этим условиям и поэтому наилучшим образом годятся для быстрой синхронизации.
Величины напряжения сети и генератора контролируются двумя пороговыми элементами с возможностью настройки. Достижение генераторным напряжением установленной величины (приблизительно 80% номинального), по истечении выдержки времени (около 2 с), формирует еще одно условие синхронизации.
Снижение сетевого напряжения относительно установленной величины (приблизительно на 15 %) вызывает запрещение синхронизации.
Команда на включение генераторного выключателя формируется в виде импульса и длится около двух секунд.
Угол опережения момента совпадения фаз синхронизируемых напряжений при включении генератора выбирается по диаграмме, приведенной в протоколе настройки. Причем, угол опережения выбирается таким образом, чтобы включение происходило несколько раньше момента совпадения фаз.
При достижении синфазности генератора и сети загораются светодиоды G и L. G - для контроля одновременности перехода синронизируемых напряжений через нуль, L — для контроля совпадения фаз по напряжению биений.
Эта сигнализация свидетельствует о достижении момента, благоприятного для включения генератора по фазе.
Если при вводе в эксплуатацию генератор включается впервые, требуется поступить следующим образом:
I) отключить с шин все источники (генераторы или питание с берега)
2) включить генераторный выключатель проверяемого генератора через цепь БЛЭК-АУТ (синхронизация при этом не работает/
3) на карте СМА 32 должны загореться светодиоды G и L.
Если горит один светодиод или вообще ни одного, проверить и привести в порядок последовательность фаз контролируемых напряжений на устройстве СИНПОЛ.
До загорания светодиодов G и L проверить монтаж и правильность подключения кабелей (при включенном генераторном выключателе).
4) проверить направление вращения поля на шинах.
Все вышеизложенные мероприятия должны непременно соблюдаться при вводе генераторов в эксплуатацию.
Включение и тест-режим.
Светодиод М сигнализирует включение генераторного выключателя. Если же микровыключатель В из среднего положения установлен в нижнее или верхнее положение теста, процесс синхронизации протекает обычным образом, а светодиод М загорается при формировании сигнала включения генераторного выключателя.
Выходное реле, однако, не срабатывает и генераторный выключатель не может быть включен (тест-режим). Тест-режим позволяет провести функциональный контроль синхронизации.
Элементы фронтальной планки:
В - выключатель установки тест-режима;
D - гнездо - О В;
Е - гнездо контроля перехода через нуль синхронизируемых напряжений;
F - потенциометр настройки предельных значений элемента контроля перехода через нуль;
G - светодиод контроля условия совпадения перехода через нуль синхронизируемых напряжений;
Н - гнездо контроля биений;
К - потенциометр установки предельных значений по каналу частоты биений;
L- светодиод контроля совпадения фаз по каналу частоты биений;
М - светодиод индикации команды включения генераторного выключателя;
N- потенциометр установки предельных значений элемента контроля напряжения генератора;
Р - светодиод индикации условия «напряжение генератора ³ 80% номинальной величины»;
R - потенциометр настройки элемента контроля понижения напряжения сети;
S - светодиод индикации условия «напряжение сети £15% номинального значения»;
Т — светодиод контроля соответствия частоты скольжения заданной величине
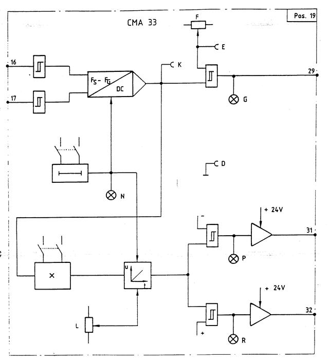
3. Описание карты синхронизации СМА 33
Эта карта реализует подгонку частоты генератора при синхронизации, Задаваемая величина скорости вращения достигается воздействием на сервопривод регулятора скорости дизель-генераторного агрегата.
Общий процесс регулирования протекает плавно, так как управляющие сигналы сервопривода формируются в виде импульсов. Длительность импульсов и пауз может настраиваться независимо друг от друга. Эти параметры подбираются соответственно характеристикам того или иного регулятора скорости.
Длительность паузы регулятора подгонки частоты синхронизируемого генератора настраивается с помощью выключателя «TIME».
По истечении паузы (индикация светодиодом N) следует новый импульс управляющего сигнала, направленного на выравнивание частот генератора и сети. Длительность импульса зависит от разности частот синхронизируемых напряжений. Если эта разность большая - длительность импульса автоматически возрастает и на оборот. Исходную длину управляющего импульса можно грубо настроить выключателем «MULTIPLIER», тонкая настройка производится потенциометром L.
Длительность импульсов увеличивается до тех пор, пока скорость вращения генератора достигнет величины, позволяющей перейти момент синхронизма (положительное скольжение). После этого длительность импульсов медленно снижается таким образом, что частота скольжения стремится к нулю точно в момент синфазности.
Дополнительный выключатель предельных величин «LIMIT D F» может быть использован для блокировки синхронизации.
Потенциометром устанавливается допустимая разность частот синхронизируемых напряжений. Синхронизация разрешается, если реальная величина разности частот не превышает установленную величину. Вообще говоря, эта блокировка не обязательна. В случае же, если ее необходимо задействовать, на карте СМА 32 устанавливается перемычка а - в. Действие блокировки сигнализируется светодиодом G, а допустимое отклонение устанавливается потенциометром F.
Элементы фронтальной планки
D - гнездо - О В;
Е - гнездо контроля установки допустимой величины разности частот;
F - потенциометр установки допустимого значения разности частот;
G- светодиод индикации допустимого значения реальной разности частот (гаснет при отклонении за установленный предел);
К - гнездо контроля реальной величины разности частот;
L- потенциометр установки длительности управляющих импульсов;
N - светодиод индикации длительности паузы;
Р - светодиод индикации уменьшения частоты вращения;
R - светодиод индикации увеличения частоты вращения
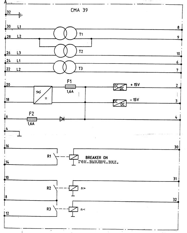
4. Описание модуля напряжения СМА 39
В модуле напряжения осуществляется развязка контролируемых напряжений сети и генератора через трансформаторы напряжения.
Номинальные величины вторичных напряжений составляют I2B относительно 0-вольтовой шины I»
Эти напряжения при необходимости преобразуются в отдельных картах.
Напряжение питания формируется через трансформатор 220/24В и выпрямитель. Через разделяющий диод может быть подключено второе питание 24В постоянного тока. Оба напряжения питания могут использоваться отдельно, а также в совместном подключении.
Два автоматических стабилизатора напряжения, включенных на выходе выпрямителя формируют напряжение ±I5B для питания микросхем карт.
Выходные реле управляются напряжением 24В постоянного тока. Все выходные сигналы карт адаптированы к уровню выходных каскадов аппаратуры ABB - СИГМАТРОНИК и могут нагружаться по крайней мере тремя выходными реле.
A 30, А 28, А 26 - подключение напряжения генератора;
А 24, А 22 - подключение напряжения сети;
А 20, А 18 - напряжение питания 220В, 50-60 Гц, 20ВА;
А 6, А 4 - питание 24В постоянного тока от устройства питания или батареи I8-32B постоянного тока, 0,6А;
А 16, А 14 - команда включения генераторного выключателя;
А 12, А 10, А 8 - управляющие импульсы подгонки частоты дизельгенератора;
А 32 - подключение заземления.
5. Описание Модуля тока СМА 40
В токовом модуле осуществляется развязка сигналов, пропорциональных току генератора, через трансформаторы тока. Токи преобразуются в пропорциональные сигналы напряжения. При номинальном значении тока с вторичной обмотки трансформаторов тока модуля снимается напряжение I0B на каждую фазу относительно 0-вольтовой (общей) шины I. Это напряжение подается на соответствующие карты для последующей обработки.
В модуле, кроме того, формируется питающее напряжение для катушки минимального расцепителя генераторного выключателя. С этой целью на клеммы В 12, В 14 подается переменное напряжение 220В. Это напряжение выпрямляется и через цепь задержки (конденсатор 47мкФ и резистор 1,2 кОм) выводится на минимальный расцепитель. Параметры цепи питания годятся для подключения катушек минимальных расцепителей автоматических выключателей фирмы ABB (возможно применение автоматов других фирм).
Воздействие на расцепитель при КЗ происходит немедленно, т.к. контакт исполнительного реле (R 7) включен за демпфирующим конденсатором. В случае токовой перегрузки, пониженной частоты или обратной мощности обеспечивается задержка отпускания минимального расцепителя при срабатывании исполнительного реле R 6, т.к. его контакт включен до демпфирующей цепи. Задержка (500мс) служит для предотвращения отключения генераторного автомата при провалах напряжения.
Два выключателя, расположенные в модуле, служат для подбора параметров цепи питания минимального расцепителя. в случае применения других генераторных выключателей.
Выключатель S I - в положении «ON» шунтирует резистор 1,2кОм.
В этом случае, во внешней цепи необходимо установить резистор с параметрами, подходящими для используемой катушки минимального расцепителя. Выключатель S2 в положении «ON» включает в цепь задержки дополнительный конденсатор 47 мкФ.
Для передачи сигналов на внешние цепи служат реле R I - R 4 и прямые проводники С4 - С14.
Т.к. все реле управляются напряжением +24В, один их полюс объединен и соединяется с общей шиной.
Если возникает необходимость управления некоторыми реле от нескольких сигналов, то цепи управления должны быть развязаны диодами. В этом случае, катоды диодов объединяются и соединяются с катушкой реле, на аноды подаются сигналы управления с соответствующих выходов карты:
В 30,В 28 - трансформатор тока фазы L I;
В 26,В 24 - трансформатор тока фазы L 2;
В 22,В 20 - трансформатор тока фазы L 3;
В 14,В 12 - напряжение питания катушки минимального расцепителя 220В переменного тока, частотой 50 - 60Гц;
В 10,В 8 - подключение катушки минимального расцепителя 220В постоянного тока, 15Вт - для генераторных выключателей ABB;
В 6, В 4 - выход для подключения прибора измерения мощности ±10 В постоянного тока;
В 18,В 16 - релейный выход «Отключение второстепенных потребителей» (размыкающий контакт);
С 30,С 28 - релейный выход «контроль» (размыкающий контакт);
С 26, С 24 - релейный выход для дополнительной функции (размыкающий контакт);
С 22, С 20 – релейный выход для дополнительной функции (замыкающий контакт);
С 18, С 16 – релейный выход для дополнительной функции (замыкающий контакт);
С 14 - подключение внешнего квитирования КЗ;
С 12 - безнагрузочное отключение генераторного выключателя;
С 10 - регулирование нагрузки AUS;
С 8 – резерв.
При автоматическом распределении нагрузки контакты С 6 и С 4 всех устройств соединяются между собой (экранированным проводом (
6. Описание карты распределения активной нагрузки СМА 51
Сигнал, пропорциональный активной мощности, сформированный в карте измерения мощности, передается через дифференциальный усилитель на согласующий каскад, где происходит его нормирование, Для того, чтобы было возможным распределение нагрузки дизель-генераторов разной мощности, определяется коэффициент Кр каждого агрегата.
Порог включения трехпозиционного регулятора не остается, однако, одинаковым при различной загрузке агрегатов. Чувствительность автоматически переключается и на первой ступени порога срабатывания уменьшается на 1/3, на второй ступени - на 2/3. Автоматическое переключение осуществляется при незначительной или высокой загрузке. Это позволяет при средней загрузке допускать относительно большие отклонения регулируемой величины и способствует продлению срока службы регулирующего органа. При низкой загрузке возникает опасность перехода одного из агрегатов в режим обратной мощности. В этом диапазоне нагрузки включается наибольшая чувствительность регулятора, обеспечивающая тонкую подгонку и предотвращающая сползание на обратную мощность.
При большой нагрузке порог срабатывания переключается на вторую (высокую) ступень чувствительности. Этим предотвращается возможная перегрузка того или иного агрегата из-за неравномерного распределения.
В протоколе настройки приводятся параметры ступеней переключения для установки чувствительности.
Длительность импульсов и пауз трехпозиционного регулятора могут настраиваться.
Длительность пауз устанавливается потенциометром М и может быть проконтролирована секундомером по загоранию светодиода N. В начале каждой паузы, между управляющими импульсами производится уточнение величины отклонения разности нагрузок от допустимого значения.
Это уточнение связано с корректировкой длины управляющих импульсов, которая зависит от разности допустимого и действительного значений неравномерности распределения нагрузки. При большой разности длина импульсов увеличивается, при незначительной - соответственно уменьшается. Исходная длина импульсов может быть установлена потенциометром L. Длительность импульсов увеличивается до тех пор, пока не произойдет перерегулирование распределения нагрузки. После этого длительность постепенно снижается до установления плавного регулирования.
Распределение нагрузки возможно только при включенном генераторном выключателе, что сигнализируется светодиодом С. От внешних цепей распределение нагрузки может. быть выключено через дополнительный вход.
Через другой вход может быть выключен без нагрузки генераторный выключатель. Если этот вход включить внешней кнопкой, сначала происходит снижение нагрузки генератора примерно до нуля, а затем отключение генераторного выключателя (индикация светодиодом S).
При установленной перемычке А, команда отключения генераторного выключателя без нагрузки запрещается в случае, если общая потребляемая мощность остающихся в работе агрегатов меньше 5% или болъше 85%.
При установленной перемычке В, команда отключения генераторного выключателя без нагрузки не запоминается и действует только во время ее подачи.
Для дистанционного контроля нагрузки генераторов или.обработки данных нагрузки в вычислительной машине, может быть применен преобразователь «напряжение-частота». На дополнительный выход, в этом случае, выводится пропорциональный напряжению, частотно-переменный сигнал 0 - 1кГц, соответствующий изменению нагрузки в диапазоне 0 – 100%.
По светодиодам Р и R можно контролировать работу трехпозиционного регулятора при формировании управляющих импульсов.
Элементы фронтальной планки
В - светодиод индикации работы выхода частотнопеременного сигнала, пропорционального нагрузке;
С - светодиод индикации включения регулятора распределения нагрузки;
D- светодиод индикации 2ой ступени чувствительности;
Е - светодиод индикации Iой ступени чувствительности;
F - гнездо «Нагрузка генератора»;
G - гнездо «Суммарная нагрузка»;
Н - гнездо контроля порога включения регулятора;
К - потенциометр установки порога включения регулятора;
L - потенциометр установки длительности управляющих импульсов;
М - потенциометр установки длительности пауз;
N - светодиод индикации длительности пауз;
Р - светодиод индикации сигнала «Уменьшение частоты вращения»;
R - светодиод индикации сигнала «Увеличение частоты вращения»;
S - светодиод индикации выключения генераторного выключателя;
Т - светодиод индикации негативного положения регулятора.
7. Описание карты регулирования частоты СМА 52
Через контакт 6 карты, сетевое напряжение подается на фильтр и далее на формирователь прямоугольных импульсов. С выхода формирователя снимаются импульсы прямоугольной формы с частотой сетевого напряжения. Эта частота сравнивается с частотой, вырабатываемой кварцевым резонатором (установленное значение), а разность формируется в виде аналогового сигнала 0 – 10B, соответствующего диапазону частот 40 - 60Гц или 50 - 70Гц. На карте предусмотрен переключатель для выбора номинальной частоты: 50 или 60Гц. Сигнал, пропорциональный частоте, может быть измерен на гнезде F, ачерез контакт 22 карты, может производиться дистанционный контроль этого сигнала.
Регулятор частоты может работать по статической или астатической характеристике. Предварительно необходимо произвести настройку трехпозиционного регулятора на необходимую величину астатизма. Выходные управляющие импульсы трехпозиционного регулятора можно проконтролировать по светодиодам Р и R.
Элементы фронтальной планки
В - светодиод индикации работы выхода частотнопеременного сигнала;
С - гнездо «Стабильное напряжение +10B»;
D - потенциометр настройки частоты холостого хода;
Е - гнездо контроля сигнала, пропорционального частоте холостого хода;
F- гнездо контроля сигнала, пропорционального действующему значению частоты;
G - гнездо контроля относительного значения суммарной нагрузки;
Н - гнездо контроля порога срабатывания регулятора;
К - потенциометр настройки порога срабатывания регулятора;
L- потенциометр настройки длительности управляющих импульсов;
N - светодиод индикации длительности пауз;
Р - светодиод индикации сигнала уменьшения частоты;
R - светодиод индикации сигнала увеличения частоты;
Т - светодиод индикации отрицательного полония регулятора.











