Основой взрывателя дистанционного действия является временной механизм, отсчитывающий время от момента выстрела (сбрасывания бомбы) до момента срабатывания взрывателя. Как уже отмечалось, это время, называемое дистанционным временем, может устанавливаться на земле перед боевым вылетом или из кабины пилота непосредственно перед выстрелом. В зависимости от принципа действия временных механизмов дистанционные взрыватели подразделяются на пиротехнические, механические и электрические.
Пиротехнические взрыватели, время дистанционного действия которых определяется временем горения пиротехнической запрессовки, были первыми образцами дистанционных взрывателей, широко применявшимися вплоть до второй мировой войны. Различные времена дистанционного действия устанавливались соответствующим разворотом дисков, в канавки которых запрессовывался пиротехнический состав. Однако ввиду резкой зависимости скорости горения пиротехнических составов от температуры и давления окружающей среды точность выдерживания заданного времени дистанционного действия была весьма низкой. Поэтому в настоящее время пиротехнический способ отработки времени дистанционного действия применяется лишь во взрывателях к артиллерийским снарядам, когда требуется получить постоянное время дистанционного действия и не предъявляется особых требований по точности его выдерживания (взрыватели к снарядам вспомогательного назначения).
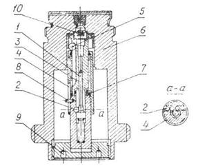
Механические взрыватели имеют в своей конструкции подпружиненный ударник с жалом, который удерживается от перемещения к капсюлю различными предохранительными устройствами. В бомбовых взрывателях и в большинстве взрывателей к авиационным ракетам время дистанционного действия (время от момента сбрасывания или пуска ракет до момента освобождения ударника и иакола капсюля) отрабатывается часовым механизмом. В некоторых взрывателях к ракетам время дистанционного действия является постоянным и равным времени полета ракеты на активном участке. На рисунке 14.28 представлена кинематическая схема типового дистанционного взрывателя часового типа.
|
Рисунок 14.28. Типовая схема дистанционного взрывателя
часового типа.
Часовой механизм взрывателя состоит из барабана 1, пружины 2, системы зубчатых колесиков и анкерного механизма 11. Одни конец пружины часового механизма закреплен па оси 3, а другой — на барабане. На заводе-изготовителе пружина заводится и стопорится специальной защелкой, препятствующей обратному повороту барабана. Центральная ось 3 удерживается от вращения стрелой 4, упирающейся в пусковой стопор 5. Стрела жестко связана с ударником и жалом 6, с помощью двух шлицов сцепляется с центральной осью и при работе часового механизма вращается вместе с ней. Под действием сжатой боевой пружины 7 стрела прижимается к диафрагме 8, в которой имеется прорезь 9 по форме стрелы. После сбрасывания бомбы (пуска ракеты) освобождается стопор 5 и стрела вместе с центральной осью часового механизма начинает вращаться, скользя по диафрагме. Взрыватель сработает, когда стрела, подойдя к прорези, проскочит в нее и ударник с жалом наколет капсюль 10.
Установка заданного времени дистанционного действия производится путем разворота диафрагмы относительно стрелы на тот или иной угол. Следует отметить, что дистанционные взрыватели с часовыми механизмами обладают высокой точностью отработки заданного времени дистанционного действия. Механизмы, отрабатывающие постоянное время дистанционного действия, работают под воздействием сил инерции линейного ускорения и центробежных сил и используются в дистанционных взрывателях ракет. На рисунке 14.29 изображен механизм подобного типа.
|
Рисунок 14.29 Механизм, отрабатывающий время дистанционного действия, равное времени полета ракеты на активном участке
Накольный механизм взрывателя состоит из подпружиненного жала 1, которое удерживается от перемещения к капсюлю 10 четырьмя шариками 2, входящими в поперечный канал папиросы 3. В свою очередь шарики удерживаются в канале хвостовой частью гильзы 4. В папиросе 3 имеются три продольные профилированные канавки, в каждой из которой размещен шарик 5, шарики удерживаются в крайнем верхнем положении венчиком гильзы и упираются в верхнюю часть корпуса 6 взрывателя, так как гильза удерживается в крайнем верхнем положении пружиной 7. В корпусе гильзы прорезан продольный зигзагообразный паз, в нижнюю часть которого вставлен закрепленный в корпусе папиросы штифт 8. Это исключает опускание гильзы до упора во втулку 9 под действием кратковременных инерционных сил, возникающих в процессе ф.'шспоршровкн и эксплуатации, так как в этом случае гильза будет оседать медленно, слегка проворачиваясь в ту и другую сторону, упираясь углами паза в штифт. При пуске ракеты возникает постоянно действующее ускорение и гильза, преодолевая сопротивление пружины, опускается до упора во втулку. Шарики 5 опускаются при этом на уровень свободного объема полости взрывателя и под действием центробежных сил, возникающих за счет проворачивания ракеты на траектории, разлетаются в стороны. В конце активного участка, после окончания действия инерционных сил гильза под действием пружины поднимается вверх и, при уже отсутствующих шариках 5, упирается своим венчиком в верхнюю часть корпуса взрывателя. При этом нижний срез гильзы становится выше уровня поперечного канала, освобождая шарики 2, которые в свою очередь освобождают жало — взрыватель сработал. Если ракета застряла в пусковой установке и не вылетела из трубы, то центробежные силы не возникают, шарики 5 остаются на венчике гильзы, м гильза, поднимаясь вверх, займет исходное положение— взрыватель не сработает.






