Сечения балок, материал которых одинаково работает на растяжение и сжатие, должны быть прежде всего симметричны относительно нейтральной линии, чтобы
.
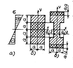
На рис. 8.6,а представлена эпюра s, построенная по известной формуле (7.6):
. Рассмотрим прямо-угольник (рис. 8.6,б).

Найдем часть изгибающего момента
, воспринимаемого половиной площади сечения (дважды заштрихована).
Рис.8.6
Для всей площади сечения имеет место зависимость:
.
Для половины площади сечения это выражение примет вид:
, где
- осевой момент инерции половины площади сечения (дважды заштрихованной). Приравняв правые части этих выражений, получим
,
где:
;
.
Таким образом, получим, что центральная половина площади поперечного сечения воспринимает
, составляющий 1/8 от
. Такая форма не является рациональной при изгибе балки.
Изменим форму сечения, сохранив его первоначальную площадь (рис. 8.7,в). Вычислим осевые моменты сопротивления до и после изменения формы поперечного сечения:
;
.
Их отношение,
= 1,51. Следовательно, вследствие увеличения
по сравнению с первоначальным
, явившегося результатом переноса материала из нейтрального слоя на периферию (т.е. без увеличения веса балки), максимальныйизгибающий момент, который может быть воспринят измененным сечением, возрос в 1,51 раза.
Стремление к рациональному использованию материала балок, привело к созданию прокатных профилей в виде двутавров, швеллеров (рис. 8.7,а,б), клепанных (сварных) металлических и клееных деревянных балок (рис. 8.7,в,г).
![]() |
Рис 8.7
Возможны исключительные случаи уменьшения прочности балок в результате увеличения площадиихпоперечных сечений. Например, приварив к прямоугольнику полосы сверху и снизу, получают уменьшение
(рис. 49,д). Это происходит за счет того, что степень увеличения
при этом меньше степени увеличения
. С другой стороны с уменьшением площадей круга и квадрата (рис. 49,е,ж) их моменты сопротивления
окажутся максимальными.
Рациональность сечений оценивают безразмерным параметром
. Сечение при этом считается тем рациональнее, чем больше его
. Например, для круга –
= 0,141; для кольцевого сечения
= 0,294 (
= 0,7); для двутавра №20 –
= 1,35.
Балки, материал которых неодинаково работает на растяжение и сжатие (хрупкие материалы) и у которых обычно
, должны иметь сечения, несимметричные относительно нейтральной оси (рис. 8.7, б).
Чтобы балка была равнопрочной в зонах растяжения и сжатия, их форма должна удовлетворять условию
,
которое вытекает из условий прочности.
