Рис. 3.3. Диаграмма процессов замедления быстрых и диффузии тепловых нейтронов
Рис. 3.1. Спектр естественного гамма-излучения
Cуществуют аппаратурные решения, согласно которым энергию γ – излучения можно разделить на спектры (выделить окна). Способ получил название гамма – спектрометрии.
Калий – его материнские породы – преимущественно силикаты магматических пород, полевые шпаты, слюды. Слюды и полевые шпаты преобразуются в различные глинистые минералы. Большая часть калия поступает в породы из водных растворов.
Уран – его материнские породы – силикаты магматических пород. Высокая миграционная способность благодаря образованию хорошо растворимого урания – иона ИО
.
Торий – его материнские породы – силикаты магматических пород. Соединения Th нерастворимы, при выветривании они концентрируются в бокситах, тяжелых и глинистых минералах.
Следует отметить, что
-излучение имеет наибольшее значение при формировании естественной радиоактивности, поскольку
при взаимодействии с веществом испытывают сильное кулоновское взаимодействие и обладают очень малой проникающей способностью:
задерживаются обычным листом бумаги,
- тонкой свинцовой пленкой.
|
|
|
Закон радиоактивного распада выражается формулой:
(3.1), где
dN – число распадающихся ядер из общего количества N за время dt,
- постоянная распада.
связана с другой единицей Т1/2 – периодом полураспада соотношением:
Т1/2 =
(3.2).
Закон радиоактивного распада описывает последовательное превращение одних элементов в другие и заканчивается образованием устойчивых нерадиоактивных изотопов. Основными являются ряды U и Th. Они включают до 15 – 18 изотопов конечный продукт – радиогенный свинец.
Родоначальники радиоактивных семейств (U, Th) относятся к долгоживущим элементам. У них Т1/2 > 108лет. В состав семейств урана входят радий (Ra) с Т1/2 = 1620 лет и радиоактивный газ радон (Rn) с Т1/2 = 3,82 суток.
При распаде радиоактивных элементов в радиоактивных рядах возникает состояние радиоактивного равновесия:
(3.3).
Калий (
К) относится к одиночным радионуклидам, у которых радиоактивный распад ограничивается одним актом превращений.
Искусственная (наведенная) радиоактивность преимущественно связана с гамма- и нейтронным излучением.
γ-кванты – электронейтральные частицы, имеющие более высокую проникающую способность, нежели заряженные α- и β- частицы. Они представляют собой поток электромагнитного излучения очень высокой частоты (f > 1018 Гц). Проникающая способность
квантов в воздухе достигает нескольких сотен метров. В природных объектах, в том числе в горных породах,
излучение резко ослабляется вследствие процессов фотоэффекта, комптон-эффекта, образования электрон-позитронных пар. Перечисленные процессы происходят при различных энергиях.
|
|
|
Фотоэффект – γ–кванты взаимодействуют с электронной оболочкой атома:
E = hν – E0 (3.4),
где h = 6,62
Дж*с, ν – частота электромагнитных колебаний, E0 – энергия связи электрона в атоме. Процесс идет при Е < 0,5 МэВ. Сильная зависимость от Z.
Комптоновский эффект – γ- кванты взаимодействуют с электронами, передавая им часть энергии, а затем испытывая многократные рассеяния. Процесс идет в основном при 0,2< Е < 3 МэВ, именно в области спектра первичного измерения.
Процесс образования электронно-позитронных пар сводится к возникновению последних из фотонов в поле ядер атомов и происходит при энергии Е > 1,02 МэВ.
Таким образом, при различных энергиях γ- кванты взаимодействуют преимущественно с различными мишенями: атомами, электронами, атомными ядрами (рис.3.2).

Рис. 3.2. Спектр многократно рассеянного γ- излучения
Главное значение имеет комптон-эффект. В этом диапазоне энергий интенсивность рассеянного гамма-излучения (Jγγ) зависит от плотности среды. Чем больше плотность, тем меньше Jγγ . В частности, для моноэлементной среды справедлива формула:
(3.5), где
ne – число электронов в единице объема, NA – число Авогадро, A – массовое число, Ζ – порядковый номер, δ – плотность.
Так как, условие устойчивости атомных ядер требует:
А = N + P = N + Ζ = 2Ζ (3.6), где
N и P – число нейтронов и протонов в ядре,
то из формул 75 и 76 получаем:
,
(3.7).
Единицами измерения радиоактивности являются:
1) Беккерель (Бк), 1Бк = 1 расп/с – системная единица,
2) Кюри (Ки) - внесистемная единица, где 1 Ки = 3,7*10
Бк,
3) Удельная массовая активность Бк/кг – системная единица,
4) Удельная объемная активность Бк/м3 – системная единица,
5) Мощность экспозиционной дозы (А/кг) – системная единица,
6) Микрорентген в час (мкр/час) - внесистемная единица, Нейтронное излучение – возникает при фотоядерных реакциях путем взаимодействия α -частиц с ядрами легких элементов (бериллий, бор и др.). Нейтроны, как и γ -кванты, являются электронейтральными частицами и из всех видов излучений обладают наибольшей проникающей способностью. Разделяются по энергетическому спектру в диапазоне энергий Е = 107 – 10-3 эВ на: быстрые
промежуточные
медленные
резонансные
надтепловые
тепловые
холодные.
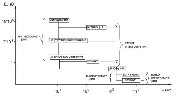
При взаимодействии нейтронов с природными объектами имеют место два основных, разделенных во времени, процесса: 1) замедление быстрых нейтронов (t < 10-2 c), 2) диффузия тепловых нейтронов (t > 1 c).
Оба процесса сопровождаются ядерными реакциями n-n, n-γ и др. типов (рис. 3.3).

Естественная γ – активность пород
Радиоактивность непосредственно в недрах литосферы (в ее верхних слоях), а также на более глубоких горизонтах зависит от содержания в горных породах радиоактивных элементов. То есть, показания метода естественной γ – активности пород определяются массовыми содержаниями естественно радиоактивных элементов (ЕРЭ).
Твердая фаза
Породообразующие и акцессорные минералы главных типов магматических, метаморфических и осадочных пород по степени радиоактивности объединяются в 4 группы:
1) Слаборадиоактивные кварц, калиевые полевые шпаты,
(салические минералы) плагиоклаз, нефелин
2) Нормальная и биотит,