Рис. 3.12. Среднее время жизни нейтронов в водо- и нефтегазонасыщенных пластах
Рис. 3.10. Тенденция изменения нейтронных показателей для групп осадочных пород различной литологической принадлежности при их одноименной степени их преобразования
Углистой глинистой силикатной карбонатной


группы группы группы группы
Для пород одноименного состава тенденция изменения τ и Ls в зависимости от стадий преобразования (окаменения) этих пород определяется изменением показателей пористости и глинистости (рис. 3.11).

Рис. 3.11. Тенденция изменения τ и Ls в зависимости от стадий преобразования (окаменения) терригенных пород
Наличие газа и нефти в поровом пространстве породы увеличивает время жизни нейтронов по сравнению с водоносным пластом (рис.3.12).

Чистые кварцевые песчаники и доломиты характеризуются наибольшими значениями τ. Ангидриты, гипсы и глинистые породы имеют минимальные значения τ. Уменьшает τ бор, а также K, Mn, Na, Fe и другие элементы. В качестве примера на рис. 3.13 показана зависимость изменения τ от алюминиево-кремнистого модуля (Al/Si).

Рис. 3.13 Тенденция изменения времени жизни тепловых нейтронов (τ) от алюминиево-кремнистого модуля (Al/Si) в терригенных породах
Взаимозависимости показателей τ и Ls для различных литологических разностей и при неодинаковом содержании хлора в поровой воде приведены на рис. 3.14.

Рис. 3.14. Взаимозависимости показателей τ и Ls для различных литологических разностей (а) и при неодинаковом содержании хлора в поровой воде (б)
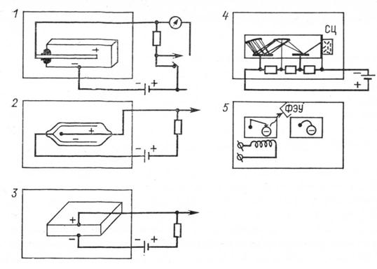
В аппаратуре для ядерно-геофизических исследований в качестве чувствительных элементов используют ионизационные камеры, счетчики Гейгера - Мюллера, полупроводниковые детекторы, сцинтилляционные счетчики, термолюминесцентные кристаллы (рис. 3.15).

Рис. 3.15. Схемы чувствительных элементов (детекторов) для приборов, используемых при ядерно-геофизических наблюдениях:
1 — ионизационная камера; 2 — счетчик Гейгера — Мюллера; 3 — полупроводниковый кристалл; 4 — шинтилляционный счетчик; 5 — термолюминесцентный кристалл; СЦ— сцинтиллятор; ФЭУ — фотоэлектронный умножитель
Приборы для ядерно-геофизических исследований кроме чувствительных элементов содержат усилители тока, индикаторы (для визуального отсчета), регистраторы (для автоматической записи) интенсивности либо естественного (Jγ) гамма-излучения, либо концентрации эманации радона, либо искусственно вызванных излучений (Jγγ). Для определения энергетического спектра излучений в приборах устанавливают дискриминаторы и амплитудные анализаторы. С их помощью выделяют импульсы, соответствующие определенному диапазону энергий ионизирующих излучений. Далее сигналы подаются в нормализаторы, которые создают импульсы определенной амплитуды и формы для их измерения или регистрации.
Для воздушной и автомобильной гамма -съемок используют различные аэро- и авторадиометры,отличающиеся быстредействием, т. е. малой инерционностью. Они состоят из набора; сцинтилляционных счетчиков, а также блоков: усилительного и регистрирующего.. Питание приборов осуществляется о бортовой сети самолета (вертолета) или аккумуляторов автомобиля.
Для наземной (пешеходной) гамма-съемки используют разного рода полевые радиометры. Конструктивно прибор состоит из выносного зонда, пульта управления и питания от сухих анодных батарей. Радиометры градуируют. С этой целью используют образцовый излучатель радия, помещаемый в коллиматор для создания узкого пучка гамма-излучения, с помощью которого определяется цена деления шкалы радиометра.
Для определения концентрации радиоизотопа по его энергетическому спектру используют полевые гамма-спектрометры, а для изучения концентрации радона в подпочвенном воздухе - эманометры. Они состоят из сцинтилляционного счетчика альфа-частиц, а также насоса и набора зондов, с помощью которых ведется отбор в камеру подпочвенного воздуха с глубины до 1 м. Шкалу прибора градуируют I с помощью специальных эталонов, характеризующих концентрацию радона в подпочвенном воздухе (Сэ).
Лекция 14. Тема: Радиометрические и ядерно-физические методы разведки.
А. Радиометрические методы разведки. В радиометрии наибольшее применение нашли гамма-съемки, так как гамма-лучи из всех видов радиоактивных излучений обладают наибольшей проникающей способностью.Этими методами изучаются интенсивность естественного гамма-излучения,а чаще — его спектральный энергетический состав.Эффективность обнаружения радиоактивных руд с помощью гамма-съемки зависит не только от интенсивности гамма-излучения (Jу)разведываемых руд, но и от уровня нормального фона (JНф). Он обусловлен натуральным фоном радиоактивности перекрывающих рудное тело пород (JНфп) и остаточным фоном за счет космического излучения и «загрязненности» прибора (Jост).
К методам радиометрии относятся воздушная, автомобильная, пешеходная (поверхностная), глубинная (шпуровая) гамма-съемки, радиометрический анализ проб горных пород, эманационная съемка, а также методы опробования, предназначенные для оценки концентрации радиоактивных элементов в обнажениях и горных выработках. В горных выработках изучают также жесткую компоненту космического излучения.
Аэрогамма-съемка является одним из наиболее быстрых и экономичных методов радиометрии, применяется обычно в комплексе с аэромагниторазведкой, а иногда и аэроэлектроразведкой. Методика аэрогамма-съемкисводится к непрерывной регистрации интенсивности естественного гамма-излучения (1у) разных энергий. Работы проводят либо по отдельным маршрутам, либо по системе параллельных маршрутов, равномерно покрывающих разведываемую площадь. Привязку маршрутовпроводит штурман по ориентирам или радионавигационным приборам. В результате аэрогамма-спектрометрической съемки рассчитывают аномалии разных энергий, позволяющие выделить урановую, ториевую и калиевую составляющие радиоактивного поля. Наибольшими значениями энергии гамма-излучения отличаются элементы ториевого ряда, меньшими — уранового, еще меньшими — калиевого. Для повышения надежности выделения аномалий используют статистические приемы обработки с привлечением ЭВМ. Далее строят карты графиков, а иногда карты.
Автогамма-съемка представляет собой скоростную наземную гамма-съемку, выполняемую автоматически во время движения автомобиля с автогамма-спектрометром. Чувствительность автогамма-съемки значительно выше, чем у аэрогамма-съемки благодаря приближению станции к объекту исследования. С ее помощью проводят как детализацию аэрогамма-аномалий, так и их первичный поиск. Методика автогамма-съемкисводится к профильным и площадным наблюдениям на участках, доступных для автомашин высокой проходимости.
Результаты автогамма-съемкипредставляют в виде лент аналоговой регистрации. Выявленные аномальные участки закрепляют на местности, «привязывают» инструментальным способом и проверяют наземными гамма-спектрометрическими съемками. После первичной обработки материалов строят карты графиков и карты А1у. На них визуально (или с помощью ЭВМ) выявляют аномалии. Сравнивая их с геологическими картами и другой информацией, оценивают перспективность на радиоактивные элементы.
Пешеходная (поверхностная) гамма-съемка — один из основных поисковых и разведочных методоврадиометрических исследований. Ее проводят с помощью полевых радиометров и спектрометров. Рекомендуется ежедневно проверять режим работы прибора с помощью малых контрольных ториевых или радиевых источников.
Радиометрические съемки бывают как самостоятельными, выполняемыми при площадных поисковых исследованиях масштаба 1:10000 и крупнее (при расстояниях между профилями меньше 100 м), так и попутными, проводимыми совместно с маршрутными геологическими съемками в масштабах 1:25000 - 1: 50000. При попутных и поисковых работах гильзу выносного зонда полевого радиометра располагают на высоте 10-20 см от поверхности и оператор в движении «прослушивает» радиоактивный фон пород в полосе нескольких метров по направлению движения. Через каждые 5-50 м (шаг съемки) или при аномальном повышении фона гильзу с детектором опускают на землю на 0,5-1 мини снимают средний отсчет интенсивности поля.
Цель поисковых и попутных гамма-съемок — выявление рудных полей и месторождений. Аномальные участки обследуют детальными гамма-съемками в масштабах крупнее 1:10 000 (до 1: 1000) при густоте сети около 100 х 10 м (до 10x1 м).
В результате наземной гамма-съемки строят графики, карты графиков и карты интенсивности ∆Jγ эквивалентные гамма-активности пород ∆Jγ = Jу - J нф (интегральной или спектральным). Обработка данных спектрометрической гамма-съемки сводится к вычислению концентраций (С) урана, тория и калия (К40) по Jγ на разных энергиях. На рисунке 3.16 приведен пример результатов спектрометрической гамма-съемки в Восточной Сибири, в результате которой удалось выявить в гранитах танталониобиевую минерализацию.

Рис. 3.16. Профили концентраций урана, тория и калия по данным гамма-спектрометрии над месторождением тантала:
1 — породы песчано-сланцевойтолщи; 2 — ороговико-ванныепороды; 3 — диабазовые порфириты; 4 — двуслюдяные мусковитовыеграниты; 5 — порфировидныемусковитовые граниты; б— амазонит-альбитовые граниты
Глубинная (шпуровая) гамма-съемка является детализационным вариантом пешеходной гамма-съемки. Она выполняется в шпурах (бурках) глубиной до 1 м, а иногда в скважинах глубиной до 25 м с помощью специальных или полевых радиометров. Подобный гамма-экспресс-анализ (ГЭА) широко применяют при разведке и разработке месторождений радиоактивных руд, изучении их концентрации на обогатительных фабриках (в том числе на конвейерной ленте, в вагонетках и т. п.).
Спектрометрическая гамма-съемка применяется не только для поисков и разведки радиоактивных руд, но и для выявления других металлических и неметаллических полезныых ископаемых, парагенетически или пространственно связанных с радиоактивными (бокситы, олово, бериллий). Наблюдается повышенное содержание тория; на месторождениях ниобия, тантала, вольфрама, молибдена. Присутствует уран. На некоторых полиметаллических месторождениях много калия-40.
Эманационная съемка основана на изучении концентрации альфа-частиц, содержащихся в эманациях, т. е. газообразных продуктах распада радиоактивных веществ, взятых из подпочвенного воздуха, или воздуха, заполняющего скважины, горные выработки, подвалы зданий. Наибольшим периодом полураспада из радиоактивных газов обладает радон (3,82 дня).
Эманационная съемка может быть маршрутной и площадной. Методика сводится к отбору проб подпочвенного воздуха с глубины до 0,5-1 м и определению с помощью эманометра концентрации радона в нем. Для этого зонд эманометра погружают в почвенный слой и с помощью насоса в камеру закачивают подпочвенный воздух и измеряют концентрацию радона. Масштабы работ изменяются от 1: 2000 до 1:10 000. В результате эманационной съемки строят графики и карты равных концентрацийрадона (Сэ) и на них выделяют аномалии — участки повышенного содержания радона. Над месторождениями радиоактивных руд аномалии достигают сотен и тысяч беккерелей на кубический дециметр. Над участками с эманированием, повышенным за счет раздробленности и трещиноватости пород, аномалии составляют десятки беккерелей на кубический дециметр. Нормальный фон — обычно около 30 Бк/дм3.
Б. Ядерно-физические методы разведки. Ядерно-физические (радиоизотопные) методы используются для изучения образцов горных пород, стенок горных выработок, скважин и обнажений посредством их облучения гамма-квантами или нейтронами. Облучать можно также с помощью специальных генераторов нейтронов. Для получения гамма-квантов или нейтронов разных энергий их помещают в экраны-замедлители (свинцовые— для гамма-излучений, кадмиевые или парафиновые — для нейтронов). Меняя источники облучения, их энергию, длительность облучения, изучая разные ядерные реакции источников облучения с электронами и ядрами атомов облучаемых горных пород и руд, можно получить информацию о их химическом составе, физико-механических свойствах, степени насыщенности пород разными флюидами (нефть, вода). Число ядерно-физических методов велико и каждый из них нацелен на решение определенных геологических задач.
К радиоизотопным гамма-методам относятся методы изучения физико-химических свойств горных пород путем облучения их источниками гамма-квантов разных энергий.К ним относятся фотонейтронный анализ, или гамма-нейтрониный метод (ГНМ), плотностной гамма-гамма (ГГМ-П), селективный гамма-гамма метод (ГГМ-С), рентгенорадиометрический метод (РРМ), и радиоизотопные нейтронные методы, включающие: 1)активациопный анализ(НАК), который сводится к облучению образцов руд быстрыми или медленными нейтронами и изучению наведенной искусственной радиоактивности, 2) нейтронный анализ(ННМ и НГМ), основанный на облучении изучаемых объектов медленными нейтронами и определению плотности потока тепловых нейтронов или интенсивности вторичного гамма-излучения, 3) гамма-спектральный нейтронный анализ(ГН-С), заключающийся в изучении спектрального энергетического состава вторичного гамма-излучения радиационного захвата Jnγ.
В заключение следует привести основные ядерно-физические свойства элементов, используемые при геологических, геохимических и геофизических исследованиях.