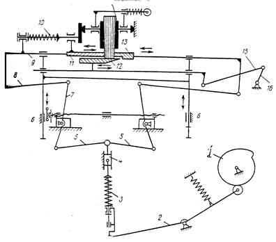
Три резальные секции блокообрабатывающего агрегата БЗР устроены одинаково: они последовательно обрезают блоки с трех сторон ножами, движущимися в горизонтальной плоскости. Поэтому зажимы с блоками поворачиваются на 90° перед каждой резальной секцией. Резальная секция (ее кинематическая схема представлена на рис. 93) состоит из механизма прижима и механизма ножа.
Сначала начинает работать механизм прижима. От кулака 1 через двуплечий рычаг 2, упругое звено 3, ползун 4 и симметричные рычаги 5, 7, 8, 9 движение передается двустороннему зажиму 11 и ползуну 13 (причем ползун 13 одновременно выполняет роль противоножа), которые, сближаясь, зажимают блок в зоне обрезки. Одновременно пружина 10 штоком дополнительно сдавливает зажимы 14 звена конвейера, в которых находится блок.

Рис. 93. Кинематическая схема резальной секции агрегата БЗР
Более высокая точность обрезки достигается за счет надежного удерживания блока в неподвижном положении.Подвижный нож 12, перемещаясь при помощи кривошипа 16 и шатуна 15, обрезает блок. При изменении формата обрабатываемых блоков все резальное устройство можно поднять или опустить относительно зажимов 14 в направляющих 6.
Таким образом, в резальных секциях применяется принцип обрезки с помощью ножа, аналогичный описанному в главе «Резальные машины». Для расчета резальных механизмов используются те же зависимости, что и для операционных резальных машин, так как механика процесса резания не меняется.






