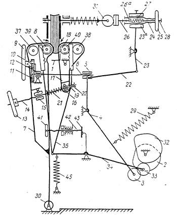
Рис. 96. Кинематическая схема прессующей секции агрегата 2БТГ-270
– Секция предварительного кругления.
Секция предварительного кругления предназначена для точной установки блока и подготовки корешка к качественному окончательному круглению. Блок слегка освобождается зажимом и кругление происходит за счет одновременного давления профильных поверхностей на передок и корешок блока, при этом корешку придается выпуклая форма, а передку – вогнутая. Схема секции предварительного кругления агрегата 2БТГ-270 представлена на рис. 97. Секция состоит из трех механизмов: подъёма и опускания профильной колодки, движения столика и управления зажимом блока в звене конвейера.
Рис. 97. Схема секции предварительного кругления агрегата 2БТГ-270
Механизм движения профильной колодки 10 работает от кулака 34, который находится на главном валу агрегата. Через двуплечий рычаг 29, рычаг 31, палец 40, коромысло 41 и серьгу 7 кулак 34 связан с ползуном 5. Ползун 5 жестко соединен с обоймой 2, внутри которой поворачивается регулировочный винт 3, ввернутый в траверсу 4. В траверсе 4 закреплены два стержня 6, свободно пропущенные через отверстия в станине. К ним при помощи пружины 8 и обоймы 9 упруго присоединена колодка 10, формирующая книжный блок.
Колодки 10 обычно бывают сменными, разных профилей и размеров, что зависит от толщины книжного блока. Верхнее положение колодки 10 регулируется маховиком 1, находящимся на винту 3. Нижнее положение колодки 10 определяется регулировкой ее верхнего положения, регулировкой механизма ролика и характеристикой книжного блока.
Пружина 39 через рычаг 31 и двуплечий рычаг 29 прижимает ролик 30 к кулаку 34. Изменение величины хода обоймы 9 достигается установкой пальца 40 в соответствующие отверстия коромысла 41. Для кругления блоков малых размеров предусмотрены специальные переходные устройства к колодкам.
– Движение столика
Механизм движения столика работает следующим образом: кулак 27 через ролик 25, двуплечий рычаг 26 и шатун 24 приводит в движение ползун 20, на котором при помощи траверсы 19, штырей 17 и пружин 18 упруго укреплен столик 15, имеющий по две профильные колодки 14 и 12 и боковые направляющие 13 и 16. Пружина 25 служит для силового замыкания системы при опускании столика. При изменении толщины книжного блока соответственно передвигаются передняя направляющая 13 и две передние колодки 14. Длина шатуна 24 регулируется гайкой 22, имеющей правую и левую нарезки, и фиксируется контргайками 21 и 23. Это необходимо для правильной установки корешка блока по высоте относительно круглильной секции.
Управление зажимом блока в звене конвейера во время нахождения его в секции предварительного кругления осуществляется кулаком 33 через ролик 32, рычаг 35, упругое регулируемое звено 38 и колодку 37. Колодка 37 нажимает на ролик 35 звена конвейера, связанный с внешней стенкой зажима 11.
После остановки конвейера блок освобождается зажимом 11, а после завершения предварительного кругления и до начала движения конвейера вновь зажимается. Под упругим действием профильной колодки 10 и стола, одновременно действующих на передок и корешок блока, средние тетради выдавливаются вниз относительно крайних, корешку придается слегка округлая форма, обеспечивающая последующее окончательное кругление. Кроме того, блок выравнивается по горизонтали и устанавливается на нужную высоту, после чего снова зажимается и транспортируется к секции окончательного кругления.
– Кругление корешка
Во время выстоя конвейера блок в секции окончательного кругления сжимается с двух сторон валиками в корешковой яме. Затем внешняя стенка звена транспортера отходит от внутренней, блок освобождается, валики, поворачиваясь навстречу друг другу в направлении, указанном стрелками, круглят корешок блока (см. рис. 98). При этом блок немного опускается.
Округлая форма корешка и переднего обреза возникает благодаря разности линейных скоростей внутренних и внешних тетрадей блока, так как при движении блока между валиками внутренние тетради получают большую линейную скорость перемещения, чем наружные. При вращении точки вокруг центра ее линейная скорость возрастает прямо пропорционально увеличению радиуса вращения. Чем ближе тетрадь к центру блока, тем она больше удалена от центров вращения валиков и ее линейная скорость выше. Величина кругления и величина опускания блоков прямо пропорциональны усилию сжатия блока валиками и углу их поворота. Для этого в механизмах предусмотрены необходимые регулировки.
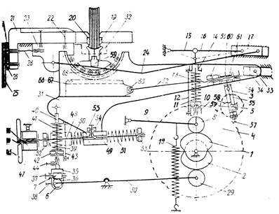
Круглильная секция заканчивает кругление книжного блока и устанавливает его в нужное положение для последующей отгибки фальцев. Кинематическая схема секции кругления корешков в агрегате 2БТГ-270 представлена на рис. 98. Секция состоит из двух самостоятельных устройств: механизма качания валиков и механизма вращения валиков.
Механизм качания валиков выполняет две функции: сначала зажимает книжный блок и освобождает его в звене конвейера, а затем зажимает блок в звене конвейера и освобождает его.
Механизм качания валиков, управляющий зажимом и освобождением книжного блока валиками круглильной секции и стенками конвейера, получает движение от главного вала машины через кулак 2, ролик 3 и двуплечий рычаг 4. Серча 5 и тяга 6 связывают качающуюся раму 7 с двуплечим рычагом 4. На раме 7 закреплены внешний круглильный валик 8 и регулировочные устройства.
Первое регулировочное устройство состоит из маховика 9 и шестерен 10 и 11. При вращении маховика 9 звено 5-6 удлиняется или укорачивается, соответственно изменяется положение валика 8 по отношению к книжному блоку. Тяга 6, жестко соединенная с шестерней 11, находится во втулке 12, которая может свободно поворачиваться в качающейся раме 7.

Рис. 98. Кинематическая схема секции кругления корешков в агрегате 2БТГ-270
Другое регулировочное устройство состоит из маховика 13 и винта 14, который пропущен через гайку 15, шарнирно прикрепленную к раме 7, и через втулку 16, самоустанавливающуюся в рычаге 17. На рычаге 17 находится внутренний круглильный валик 18. Гайка 19 и контргайка 20 служат для регулировки предварительного сжатия пружины 21, осуществляющей силовое замыкание системы «валик – книжный блок». Рычаг 17 подвешен на раме 7 и несет предохранительную планку 1, предотвращающую случайное выпадение книжного блока вниз.
Рычаг 4 соединен тягой 22 с двуплечим рычагом 23, на котором находится головка, управляющая освобождением книжного блока в звене конвейера. Головка состоит из гайки 23а, в которую входит винт-втулка 24, жестко связанная с маховиком 25. Во втулке находится стержень 26, имеющий ограниченное продольное перемещение и заканчивающийся упором 26а. Пружина 27 создает упругую опору стержню 26. Предварительное натяжение пружины регулируется винтом 28, ввернутым в маховичок 25. Пружина 29 подвешена к раме машины и рычагу 4, обеспечивает постоянное прилегание ролика 3 к кулаку 2.
Рама 7 опирается на эксцентрический палец 30, поворачивая который можно по высоте регулировать положение внешнего валика 8. Это нужно для того, чтобы при любой толщине книжного блока внешний и внутренний валики во время кругления находились на одной высоте и не искривляли блок.
Рычаг 23 жестко связан с валиком 31, свободно поворачивающимся в подшипниках. На валике 31 сидят рычаги с головками, управляющими открыванием зажимов конвейера.
Механизм вращения круглильных валиков получает движение от кулака 32 через ролик 33 и трехплечий рычаг 34.
С ним шарнирно связаны штанги 35 и 36, заканчивающиеся рейками, которые направляются роликами 37 и 38 и сцеплены с шестернями 39 и 40, жестко соединенными валиками 8 и 18. Ролики вращаются в опорах, размещенных на раме 7 и рычаге 17.
Угол поворота валиков регулируется изменением момента начала движения реек 35 и 36 вверх. Для этого служит маховичок 41 с регулировочным винтом 42, который через упор 43 уменьшает амплитуду качания рычага 34. В результате между кулаком 32 и роликом 33 возникают зазоры. В зависимости от их величины момент начала соприкосновения кулака 32 с роликом 33, а следовательно, и начало движения, и величина хода реек 35 и 36 вверх будут меняться. Это необходимо при изменении толщины книжного блока, поскольку обеспечивает окончательное кругление и установление корешка книжного блока по высоте так, как этого требует последующая операция отгибки фальцев.
Пружина 45 служит для силового замыкания механизма вращения круглильных валиков. После поворота валиков на заданный угол кругление заканчивается. Блок вновь зажимается стенками звена конвейера, а валики расходятся в разные стороны.
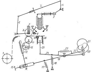
– Секция отгибки фальцев тетрадей
Секции отгибки фальцев тетрадей в агрегате одинаковые по конструкции. Основное назначение секций – отгибать корешковые фальцы тетрадей, придавая при этом корешку блока симметричную грибообразную форму. За счет этого между тетрадями образуется «замок», что обеспечивает устойчивую форму корешка и повышает прочность скрепления тетрадей между собой.
Кинематическая схема секции отгибки фальцев тетрадей приведена на рис. 99.
Секция состоит из механизмов:
– зажима блока в корешковой части;
– подъема колодки;
– качания колодки.
Первые два механизма работают от кулаков 1 и 2, расположенных на главном валу машины, а механизм качания колодок – от кривошипов 3, находящихся на валу, связанных с главным валом шестернями 4 и 5.
Механизм тисков, т. е. зажима блоков в корешковой части, работает от кулака 1 и ролика 8, расположенного на рычаге 9. С осью ролика 8 связано упругое звено, состоящее из нижней серьги 10, стержня 11, ограничительной планки 12, пружины 13 и верхней серьги 14, которая шарнирно соединена с рычагами 15 и 16. Рычаг 16 соединен с ползуном 17.
Когда упругое звено находится в верхнем положении, а ролик 8 – на большом радиусе кулака 1, рычаги 15 и 16 почти полностью выпрямляются и ползун 17 отодвигается в крайнее правое положение. Пружина 18 опускает упругое звено, при этом ползун 17 сдвигается влево. Его движению соответствует перемещение подвижной плиты 20 тисков.
Неподвижная плита 19 прикреплена к раме, а подвижная 20 – к ползуну 21, к которому болтами 22 прикреплен кронштейн 23, соединенный тягой 24 с ползуном 17. Положение кронштейна 23 определяется положением ползуна 17. Расстояние между плитами 19 и 20, определяемое толщиной книжного блока, регулируется изменением положения ползуна 21 относительно кронштейна 23, для чего ослабляют болты 22 и вращают в соответствующую сторону колесо 25, жестко соединенное с шестерней 26. Шестерня 26 передает вращение шестерне 27, закрепленной на регулировочном винте 28. После установки прессующих плит 19 и 20 в положение, обеспечивающее необходимый зажим обрабатываемого блока, болтами 22 фиксируют кронштейн 23 на суппорте.
Механизм подъема колодки для отгибки фальцев тетрадей управляется кулаком 2 через ролик 29, двуплечий рычаг 30 и амортизатор, соединенный с рычагами 31. Механизм в каждом кинематическом цикле поднимает колодку 32, удерживает ее прижатой к корешку блока и затем опускает.
Рычаги 31 вместе со всей конструкцией узла колодки для отгибки фальцев тетрадей 32 при подъеме и опускании поворачиваются, так как их концы соединены пальцами 33 с сухарями 34, находящимися в продольных пазах. Положение сухарей 34 регулируется в зависимости от толщины книжного блока так, чтобы центр качания колодки 32 всегда находился на оси симметрии блока, иначе нельзя получить симметричный профиль корешка.

Рис. 99. Кинематическая схема секции отгибки фальцев тетрадей в агрегате 2БТГ-270
В амортизаторе нижнее звено 35 соединено эксцентричным валиком 36 с рычагом 30. При вращении валика 37 спиральные шестерни 6 и 7 поворачивают эксцентричный валик 36, за счет чего изменяется длина нижнего звена 35 и соответственно регулируется уровень подъема колодки 32. Положение эксцентричного валика 36 после регулировки фиксируется болтом 38. Соответственно меняется и положение центра качания колодки 32, что необходимо для обработки блоков разной толщины.
В нижнем звене 35 находятся два стержня 39, верхние концы которых соединены с серьгой 40, шарнирно связанной с рычагами 31. Пружины 41, предварительное сжатие которых регулируется гайками 42, создают упругий прижим колодки для отгиба фальцев тетрадей 32 к корешку книжного блока. Планка 43 ограничивает удлинение амортизатора. Болты 44 фиксируют положение стержней 39 в звене 35.
Положение центра качания рычагов 31 регулируется при помощи маховичка 45, находящегося на втулке-гайке 46, которая может свободно вращаться в обойме 47, подвешенной к станине на пальцах, вокруг которых эта обойма может поворачиваться. Во втулку 46 ввернут винт 48, пропущенный через крестовину 49, которая соединяет рычаги 31 и может поворачиваться на пальцах, находящихся в этих рычагах. Винт 48 может перемещаться в осевом направлении в крестовине 49. Пружины 50 и 51 сжаты гайками 52 и 53 и упруго фиксируют положение винта 48 в крестовине 49. Нагрузка пружин 50 и 51 в состоянии покоя выравнивается. При вращении гаек 52 или 53 крестовина 49 перемещается относительно винта 48. Сухари 34 перемещаются в направляющих станины. Для регулировки положения колодки при изменении толщины блоков ослабляют контргайку 54 и стопорный болт 55 и вращают маховичок 45, контролируя положение колодки для отгибки фальцев тетрадей 32 относительно оси симметрии зажатого блока. Затем вновь затягивают болт 55 и контргайку 54.
Механизм качания колодки для отгибки фальцев тетрадей 32 является кривошипно-шатунным, причем для регулировки угла качания колодки 32 необходимо менять радиус кривошипа 56.
В корпусе кривошипа 56 регулировочным винтом 57 устанавливается, а стопорными болтами 58 в нужном положении фиксируется сухарь 59, несущий цапфу кривошипа 56. На цапфе свободно посажена обойма 60 с втулкой 61, в которую ввернут конец шатуна 62. При вращении втулки 61 изменяется длина шатуна 62, которая фиксируется контргайками 63 и 64. Другой конец шатуна 62 шарнирно соединен траверсой 65 с двумя рейками 66 и 67. Они перемещаются по пазам рычагов и сцеплены с зубчатыми секторами 68, корпус которых несет подушку 69 с колодкой для отгибки фальцев тетрадей 32. Изменением радиуса кривошипа 56 регулируется угол качания колодки 32, а изменением длины шатуна 62 – амплитуда качания колодки 32 относительно оси симметрии книжного блока.
Затем книжный блок поступает в следующую секцию, где устанавливается его точное положение в зажимах. Это необходимо для качественного выполнения операций по дальнейшей обработке корешка блока.
В предшествующих операциях книжный блок опускается, а корешковая часть выступает из зажимов звена конвейера. Это необходимо для фиксации блока близко к корешку, так как звено зажима не выдерживает значительных нагрузок. При дальнейшей обработке книжного блока нельзя допускать значительного выступления его из зажимов звена, так как в этом случае корешковая часть блока будет недостаточно устойчивой. Кроме того, необходима продольная приводка блока, чтобы корешковые материалы наклеивались достаточно точно. Поэтому и введена промежуточная операция, назначение которой – выравнять блок по корешку и головке.
– Подъемный стол
Подъемный стол предназначен для подъема блока на необходимую высоту в зажимах звена конвейера, а также для его приводки в продольном направлении и центрирования в зажимах. На кинематической схеме (рис. 100) показано принципиальное устройство механизма подъемного стола в агрегате 2БТГ-270. Зажим конвейера 5, останавливаясь над подъемным столом 1, скрывается и опускает блок на стол 1, на поверхности которого имеется центрирующее устройство в виде регулируемой по ширине призмы 6. Стол 1 поднимается кулаком 14 через ролик 15, двуплечий рычаг 12 и соединительную составную тягу, длина которой может регулироваться гайкой 9. Опускание стола 1 производится пружиной 13. Винт 10 и гайка 11 служат для регулировки величины хода стола 1. При подъеме стола 1 пружина 7 прижимает ролик 2 к неподвижной направляющей. Стол 1 вместе с блоком смещается в сторону, передний обрез блока, т. е. головка, дойдя до пальца 4, останавливается. В результате подъема стола 1 блок глубже вдвигается в зажимы и выравнивается по головке. Зажимы конвейера закрываются, блок перемещается на очередной шаг.

Рис. 100. Принципиальное устройство механизма подъемного стола в агрегате 2БТГ-270
Все описанные выше технологические операции выполняются при выстое конвейера, а следовательно, и блока. Такие операции, как нанесение клея на корешок, происходят во время движения блока в зажимах конвейера мимо двух клеевых аппаратов, принципиальное устройство которых не отличается от изображенного на рис. 92. Первый клеевой аппарат наносит слой клея для приклейки корешкового материала, а второй – для наклейки полоски бумаги с капталами. Принцип устройства и работы обоих клеевых аппаратов одинаков. Клей наносится на корешок книжного блока, движущегося над вращающимся профильным клеенаносящим роликом, частично погруженным в клеевую ванну. Слои клея регулируются профильным скребком. Высота ролика устанавливается таким образом, чтобы поверхность корешка располагалась по касательной к нему в верхней точке и клей не затекал на обрез головки и хвостика.
Во время нанесения клея на корешок линейная скорость клеенаносящих роликов синхронизируется со скоростью движения блока в звене транспортера. Во время выстоя конвейера ролики вращаются с постоянной скоростью отдельным электродвигателем, что обеспечивает перемешивание клея в ванне и предотвращает его от засыхания на поверхности роликов.
– Привод агрегата
Ha рис. 101 изображена схема привода агрегата 2БТГ-270. На вертикальном валу конвейера 1 под сферическим мальтийским крестом 2 закреплено зубчатое колесо 3. Во время вращения вертикального вала 1 движение от зубчатого колеса 3 через шестерню 4, конические шестерни 5, обгонную муфту 6, цилиндрические шестерни 7 и 12, вал 13, конические шестерни 14 и 15 и ременную передачу 17 передается клеенаносящим роликам 16.

Рис. 101. Схема привода агрегата 2БТГ-270
Когда вертикальный вал 1 выстаивает, вал 13 вращается от индивидуального электродвигателя 8 через клиноременную передачу 9, редуктор 10 и обгонную муфту 11. В это время муфта 6 отключается, и клеенаносящие ролики 16 вращаются с небольшой постоянной скоростью. Привод от вертикального вала 1 даст возможность синхронизировать скорости блока и роликов 16 и, нанося на корешок блока равномерный слой клея, предупреждать отрыв корешкового материала. Так как корешки блоков в поперечном сечении имеют определенный профиль, очерченный кривой, получающейся после кругления и отгибки фальцев, то клей наносится профильными роликами 16, соответствующими профилю корешка.

Для нанесения клея на блоки различной толщины аппараты снабжаются комплектом сменных профильных клеенаносящих роликов с соответствующими им по ширине ножами, регулирующими слой клея.
– Приклейка корешкового материала
В следующей технологической секции, куда после нанесения клея на корешок перемещается книжный блок, происходит приклейка полоски корешкового нетканого материала, скрепляющего блок с переплетной крышкой и определяющего прочность и долговечность книги. В этой секции от рулона корешкового материала отматывается лента, от нее в соответствии с толщиной блока отрезается полоска, которая приклеивается к корешку.
Принципиальная кинематическая схема секции приклейки корешкового материала в агрегате 2БТГ-270 представлена на рис. 102. Подача корешкового материала от рулона 1 производится валиками 8 и 11. Валик 11 вращается по часовой стрелке от кулака 20 через рычаг 19, тягу 14, зубчатую рейку 13 и шестерню 12 с встроенной в нее муфтой свободного хода. Верхний валик 8 упруго прижимается к нижнему 11 пружиной 7. В зависимости от толщины блоков можно увеличивать или уменьшать подачу корешкового материала, передвигая винтом 15 шарнир 16 в вилке рычага 19 и меняя тем самым амплитуду движения рейки 13.
Пружина 17 осуществляет возвратное движение механизма. Стол 26 начинает подниматься после подачи корешкового материала с помощью кулака 21, составных рычагов 22 и 24, стягиваемых пружиной 23, и шатуна 25. Во время подъема стола 26 подвижный нож 10 и неподвижный нож 9 отрезают от ленты полоску, которая при дальнейшем подъеме стола 26 приклеивается к корешку. При помощи планок 6 полоска на столе удерживается в нужном положении, а обтягиваемая поверхность корешка является при этом наибольшей, что необходимо для надежного приклеивания. Упругий прижим стола 26 к корешку обеспечивается пружиной 23, а для опускания стола 26 используется пружина 18.

Рис. 102. Принципиальная кинематическая схема секции приклейки корешкового материала в агрегате 2БТГ-270
Если в зажиме конвейера блок отсутствует, то зажимы закрываются и ролик 5 нажимает на нижний конец двуплечего рычага 4, соединенного тягой 3 с рычагом 2, который подымает валик 8 и отключает подачу корешкового материала. После приклейки корешкового материала на корешок наносится еще один слой клея вторым клеевым аппаратом, и блок поступает в следующую секцию для приклейки полоски бумаги с капталами.
– Приклейка каптала
Принципиальная схема каптально-бумажной секции в агрегате 2БТГ-270 показана на рис. 103.
Бумажно-каптальная секция служит для склеивания рулонной ленты с двумя лентами каптала, отрезки и приклейки к корешку блока полоски бумаги с капталами. Бумажная лента (рис. 103 а) подается от рулона 1, а каптальные ленты – от двух катушек 12, установленных сверху. Ленты разматываются качающимся рычагом 6. Каптальные ленты накладываются на края бумажной и вместе с ней проходят между прижимными колодками 3 и нагретыми планками 6.
В агрегате 2БТГ-270 каптал к краям бумаги приклеивается непосредственно при совмещении с бумажной лентой. Ленты каптала в специальной установке, размещенной вне агрегата, пропитываются клеем, высушиваются, а затем наматываются на катушки 12. Колодки 3 прижимают каптальные ленты к краям бумажной ленты и к нагреваемым планкам 2. Клей под действием тепла расплавляется, и каптал приклеивается к обоим краям бумажной ленты. Для предотвращения перегрева при остановках агрегата прижимные колодки 3 автоматически перемещаются в верхнее положение. Дальнейшее движение бумаги с капталами происходит уже в склеенном виде.
Периодическую подачу бумажной ленты с капталами выполняет каретка 4, которая вместе с прижимом 5 движется возвратно-поступательно в горизонтальной плоскости. Прижим 5, опускаясь, прижимает бумагу с приклеенными капталами к каретке 4, затем каретка 4 перемещается влево, подавая необходимый отрезок корешкового материала под неподвижный нож 10.

Рис. 103. Принципиальная схема каптально-бумажной секции в агрегате 2БТГ-270
Величина хода каретки 4 меняется в зависимости от толщины книжного блока, соответственно меняется и ширина полоски бумажно-каптальной ленты, которая зажимается фиксатором 7 и освобождается прижимом 5. Каретка 4 с прижимом 5, находящимся в верхнем положении, возвращается в первоначальную позицию, а бумажно-каптальная лента, удерживаемая фиксатором 7, во время обратного хода каретки 4 остается неподвижной.
После очередной подачи ленты ползун 9, поднимаясь, ножами 8 и 10 отрезает полоску бумаги с каптальными лентами.
Бумажно-каптальная полоска при подъеме к корешку блока находится на вакуумном столе 11 (рис. 103 б). Поршневой насос создает в вакуумном столе 11 разрежение, благодаря которому полоска бумаги с приклеенными капталами удерживается на нем при подъеме к блоку. Для точной приклейки бумаги с капталами к краям корешка книжного блока вакуумный стол 11 движется в направляющих ползуна 9. Ролик 14 стола 11 при подъеме ползуна 9 прижимается пружиной 13 и катится по горке 15. При этом стол 11, а следовательно, и бумажно-каптальная лента, перемещаются вправо. Как только упор 2 (рис. 103 а) коснется верхнего обреза блока, горизонтальное движение стола 11 прекращается, в результате этого бумажно-каптальная полоска точно приклеивается к корешку книжного блока.
В бумажно-каптальной секции, также как и в секции приклейки корешкового материала, есть блокировочное устройство для автоматического выключения подачи ленты при отсутствии в очередном звене конвейера.
Приклеивающие секции предназначены для прижима корешкового материала, каптала и бумажной полоски и их приклеивания к блоку по всей поверхности корешка.
Завершают технологическую обработку книжных блоков в агрегате две приклеивающие секции одинаковой конструкции.
После приклейки корешкового материала и бумаги с капталами на корешок блока необходимо все эти материалы плотно прижать, чтобы обеспечить их приклейку по всей поверхности корешка.
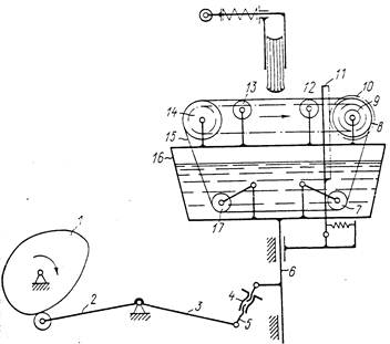
Кинематическая схема приклеивающего устройства в агрегате 2БТГ-270 приведена на рис. 104. Приклеивающее устройство состоит из бесконечного резинового полотна 15, движущегося возвратно-поступательно в вертикальном направлении вместе с ванной 16, наполненной водой. Когда ванна 16 останавливается в крайнем верхнем положении, полотно 15 упруго прижимает все приклеенные элементы к корешку книжного блока. Во время опускания ванны 16, после потери контакта с блоком, полотно 15 перемещается внутри ванны 16, чтобы отодвинуть возможные капли клея, выдавленные из корешка, а затем смыть клей.
Кулак 1 управляет движением ванны 16 через ролик 2, двуплечий рычаг 3 и составную тягу 5. Тяга 5 соединена со штоком 6. Изменяя длину тяги 5 гайкой 4, можно регулировать конечное верхнее положение ванны 16.
Резиновое полотно 15 натянуто на валиках 7, 8, 12, 13, 14 и 17. Положение валиков 12 и 13 регулируется в зависимости от толщины блоков, а валики 7 и 17 свободно подвешены к ванне 16 на рычагах. Изменяя положение валиков 12 и 13, можно изменить обхват корешка книжного блока полотном 15. Валики 8 и 14 связаны между собой цепной передачей, состоящей из звездочек и цепи.

Рис. 104. Кинематическая схема приклеивающего устройства в агрегате 2БТГ-270
На оси валика 8 находится обгонная муфта 9, связанная с шестерней 10, которая сцеплена с зубчатой рейкой 11, шарнирно закрепленной на неподвижной опоре и прижимаемой к шестерне 10 пружиной. В начале опускания ванны 16 шестерня 10 свободно перемещается относительно гладкой верхней части рейки 11, на которой срезаны зубцы. Затем, когда резиновое полотно 15 выйдет из соприкосновения с книжным блоком, шестерня 10, соприкасаясь с зубцами рейки 11, начинает вращаться по часовой стрелке. При этом ролики обгонной муфты заклиниваются между обоймой и середничком, валик 8 начинает вращаться, и резиновое полотно 15 перемещается к ванне 16. При подъеме ванны 16 шестерня 10 свободно вращается вместе с обоймой против часовой стрелки.
Приемное устройство в виде двух ленточных транспортеров, установленных под углом друг к другу, выводит полностью обработанный книжный блок из агрегата. Над приемным устройством зажимы конвейера раскрываются, и блок падает корешком вниз на наклонный ленточный транспортер. Чтобы приклеенный корешковый материал при падении блока на транспортер не сдвигался, блок поддерживается снизу специальной планкой, а затем выводится ленточным транспортером на горизонтально расположенный транспортер приемного стола.
Агрегат 2БТГ-270 является одним из основных базовых звеньев автоматической поточной линии по изготовлению книг в твердом переплете «Книга-270».






