Опыт эксплуатации агрегатов 2БТГ-270 (2 БТГ), появившиеся новые материалы, все более широкое использование бесшвейного скрепления для изготовления книг в твердом переплете с круглением и отгибкой фальцев потребовали при создании нового блокообрабатывающего агрегата принципиально иных решений, направленных на улучшение его технико-экономических показателей и расширение технологических возможностей. Предусмотрено использование электропривода на постоянном токе, сокращение количества одинаковых по назначению технологических секций (отгибки фальцев и приклеивающих), обеспечение возможности работы на нетканых материалах и микрокрепированной бумаге, использование агрегата для обработки скрепленных бесшвейным способом и окантованных книжных блоков и т. д. Введение новых устройств вызвало необходимость уточнить параметры некоторых прессов, обработать и проверить конструктивные решения.
В результате переработки принципиальных и конструктивных решений в создаваемом агрегате БКО достигнуто: повышение качества обработки блоков; увеличение надежности и долговечности работы узлов и деталей; улучшение условий ремонта и обслуживания агрегата; сокращение количества одинаковых по назначению технологических секций; расширение технологических возможностей агрегата.
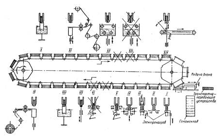
Технологическая схема агрегата БКО показана на рис. 105, на котором приняты следующие условные обозначения: I – установочный стол; II – обжимная секция; III – секция сталкивания; IV – прокатывающая секция; V и VI – секции для отгибки фальцев; VII – подъемный стол; VIII и X – приклеивающие секции; IX – марлевая секция; XI – бумажно-каптальная секция; XII и XIII – прижимные полотна; XIV – приемный стол. На рисунке перечеркнуты те секции, которые есть в агрегате 2БТГ-270, но отсутствуют в агрегате БКО; это дает возможность наглядно изобразить, что между этими агрегатами нет принципиальных отличий.

Рис. 105. Технологическая схема агрегата БКО
Технологическая схема агрегата БКО принципиально не отличается от схемы 2БТГ-270 (см. рис. 95). Состав и последовательность технологических операций те же самые. Сохранен также принцип построения агрегата, выполненного в виде многопозиционного автомата конвейерного типа с периодическим перемещением конвейера, зажимы которого последовательно проводят блоки через технологические секции.
В агрегате 2БТГ-270 предусмотрены две секции для отгибки фальцев и две приклеивающие секции. Практически же используются только одна секция для отгибки фальцев и одна приклеивающая секция: вторые не участвуют в работе из-за сложности синхронизации их работы с работой первых секций. Использование одной секции для отгибки фальцев в агрегате 2БТГ-270 является причиной несимметричности отгибки фальцев, работа механизмов секции построена так, что с одной стороны корешка блока происходит два качания колодки для отгибки фальцев тетрадей, а с другой – только одно.
Опыт эксплуатации аналогичных зарубежных машин свидетельствует о том, что можно достичь высокого качества отгибки фальцев при использовании одной секции. Для этого необходимо обеспечить одинаковое количество качаний колодки для отгибки фальцев тетрадей с каждой стороны корешка блока.
Агрегат БКО имеет одну приклеивающую секцию и одну секцию для отгибки фальцев. Количество качаний колодки для отгибки фальцев с каждой стороны корешка принято равным двум.
Сокращение количества секций позволило исключить четыре позиции – две технологические и две промежуточные. При этом количество звеньев (зажимов) главного транспортера сокращено с 31 до 27. Соответственно, уменьшилась его масса. Одновременно упрощена конструкция агрегата, сокращена его длина, уменьшена масса.
Агрегат 2БТГ-270 предназначен для обработки только сшитых книжных блоков с кругленным или прямым корешком. Однако ныне для изготовления книг с кругленным корешком в твердом переплете все шире используется более прогрессивный и экономичный, по сравнению с шитьем, способ бесшвейного скрепления. При этом технологический процесс обработки книжного блока происходит по схеме: бесшвейное скрепление блока, окантовка корешка, обрезка с 3-х сторон, кругление корешка, отгибка фальцев, приклейка бумажки с капталом, вставка в переплет.
В агрегате БКО использованы узлы агрегата 2БТГ-270:
– привод;
– самонаклад;
– секция подачи блока;
– установочный стол;
– обжимная секция.
Таким образом, в агрегат БКО по сравнению с агрегатом 2БТГ-270 внесены следующие усовершенствования:
– введено центральное базирование блока;
– изменен принцип базирования блока по высоте;
– изменен принцип сталкивания блока на корешок;
– централизованы переналадки;
– сокращено количество сменных деталей;
– исключена одна секция отгибки фальцев, одна приклеивающая секция и две промежуточные;
– обеспечена возможность кругления и отгибки фальцев скрепленных бесшвейным способом и окантованных книжных блоков;
– секция приклейки корешкового материала оснащена устройством, позволяющим использовать нетканые материалы и микрокрепированную бумагу.






