Ионной имплантацией называют процесс внедрения ускоренных в электромагнитном поле ионов в пластину полупроводника. Ионное легирование (ИЛ) осуществляется в два этапа: внедрение ионов и отжиг.
Внедрение ионов принципиально отличается от диффузии с точки зрения механизма процесса. Движение ионов в полупроводнике определяется их начальной кинетической энергией, а не градиентом концентрации, как при диффузии. Ионное внедрение не является равновесным процессом, поэтому концентрации примесей легко достигают предельных значений и в некоторых случаях могут их превосходить.
Глубина проникновения легирующей примеси зависит от типа бомбардирующих ионов, их энергии и кристаллической структуры мишени. Процесс внедрения ионов в мишень приводит к образованию нарушений кристаллической структуры полупроводниковой пластины, которые затем частично устраняются во время отжига.
Высокая доза имплантируемых ионов может привести к сильному повреждению приповерхностного слоя и образованию в результате последующего отжига мелкозернистых поликристаллических слоев.
|
|
|
Достоинства ИЛ:
· Возможность легкого управления профилем легирования внедренных ионов по глубине определяет основное преимущество метода ионной имплантации, т.е. метод позволяет формировать легированные области в полупроводнике с концентрацией примесей до 1021 см-3. Длина пробега внедренных в пластину ионов связана с их энергией и не превышает 1 мкм, а также получать слои с концентрацией в диапазоне 1014 – 1016 см-3 с точностью залегания по глубине порядка 0,02 мкм.
· Возможность формирования практически любого профиля распределения примеси с помощью варьирования энергии и дозы вводимых ионов (см. далее).
Энергия бомбардируемых ионов находится обычно в диапазоне от десятков килоэлектронвольт до единиц мегаэлектронвольт.
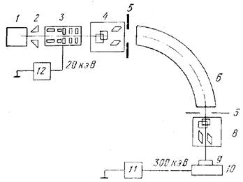
На рис. 1 представлена схема установки ИЛ. В системе поддерживается вакуум порядка 10-4 Па, чтобы ионы не испытывали столкновений со средой и не рассеивались.
| |||
| Рис. 8.1. Рис. 1. Схема установки ионного легирования: 1–ионный источник; 2 – вытягивающий электрод; 3 – фокусирующая система с ускорителем; 4 – система коррекции электронного пучка; 5 – диафрагмы для пропускания сфокусированного пучка; 6 – электромагнитный сепаратор; 8 – система электромагнитного сканирования пучка ионов; 9 – облучаемый образец; 10 – держатель;11 – высоковольтный ускоритель; 12 – предварительный ускоритель |
В ионном источнике происходит ионизация паров или газа, содержащих атомы примеси. Источник ионов состоит из следующих узлов: камеры, в которой производится ионизация паров легирующих элементов, экстрагирующего ноны зонда; электростатической фокусирующей линзы и ускоряющего электрода, сообщающего ионному пучку требуемую энергию. Ионизация осуществляется в ВЧ или дуговом разряде электронной бомбардировкой.
|
|
|
Рабочие вещества для получения ионов могут быть в газообразном, твердом и жидком состояниях. Для получения ионов O+, N+, Ne+, Ar+, F+, Cl+, и т.п. используют соответствующий газ, поступающий в вакуумную камеру через микронатекатель. Из других газообразных материалов следует отметить применение В2Н6 (диборана) BF3 для ионов бора, СО2 – ионов углерода, Н2S – ионов серы, AsH3 – ионов мышьяка; жидкие вещества, особенно хлориды ВCl3, ВВr3, PCl3, CС14 и Si С14 хорошо испаряющиеся при Тк. Наибольшие ионные токи достигаются при употреблении твердых материалов в элементарном состоянии. Эти вещества требуют нагрева, чтобы получить достаточное давление паров: S и Р (красный) – 175°С, Аs – 260°С, Zn, Sе и Те – 550°С, Мg и Sb и 580°С. Основное требование к веществам – обеспечение большого парциального содержания легирующего элемента в парах.
Различают следующие источники:
· с поверхностной термической ионизацией – нагреватель (вольфрамовая лента) на него насыпается соль металла – KJ, NaCl, CaCl2, получают ионы Na+, K+, Li+, Cs+, Rb+, J-, F-, Br-, Cl-
· с ионизацией электронным ударом: электроны создаются термоэмиссией или в газовом разряде, ускоряются электростатическим или высокочастотным полем, удерживаются в ограниченном объеме магнитным полем и направляются на столкновение с молекулами газа или пара рабочего вещества, ионизируя их;
· высокочастотные– плазма ВЧ-разряда (при давлении 10-10-2 Па), магнитное поле увеличивает эффективность; на анод подается 2-10 кВ;
· на основе дугового разряда при низких давлениях.
Вытянутый из источника, сфокусированный и ускоренный ионный пучок разделяется по массе ионов в электромагнитном сепараторе.
В магнитном сепараторе поле с индукцией
, действуя на движущиеся со скоростью
ионы массой
и зарядом
, заставляет их двигаться по дуге окружности радиусом
. Поскольку 
, при постоянных
и
радиус траектории иона определяется отношением
. Средний радиус траекторий ионов равен 50 см.
В зависимости от массы и заряда ионов после прохождения магнитного анализатора ионы разделяются на пучки: ноны больших масс имеют более плавную траекторию, ионы меньших масс – меньший радиус поворота и более резкое искривление траектории. В камере приемного устройства ноны избранной массы фокусируются на заслонке, снабженной устройством для измерения плотности ионного тока.
Сепарирование ионов обеспечивает высокую чистоту легтрования и на обрабатываемую пластину попадает моноизотопный пучок.
Для внедрения применяются широкий или остросфокусированный пучки ионов. Широкие пучки формируются дефокусирующими линзами. При внедрении сфокусированным лучом необходимо сканирование луча по поверхности пластин.
Перед попаданием на поверхность пластины ионный пучок расфокусируется до требуемых размеров элементов ИС и сканируется, т. е. плавно или шагами перемещается по ее поверхности с помощью электромагнитной отклоняющей системы 8.
Разогнанные электрическим полем, обладающие значительной энергией ноны элементов, внедряясь в кристалл полупроводника, занимают в его решетке положение атомов замещения и создают соответствующий тип проводимости. Внедряя ионы III и V групп в монокристалл кремния, можно получить рп -переход в любом месте и на любой площади кристалла.
Концентрация примеси в имплантированном слое зависит от плотности тока в ионном пучке и времени процесса или, как говорят, от времени экспозиции. В зависимости от плотности тока и желательной объемной концентрации время экспозиции составляет от нескольких секунд до 3…5 мин и более (иногда до 1…2 ч). Разумеется, чем больше время экспозиции, тем больше количество радиационных дефектов.
|
|
|
Энергия и доза облучения
При определении режимов ИИ основными параметрами являются энергия ускоренных ионов и доза облучения. Ион с зарядом q, Кл, под действием разности потенциалов
, В, приобретает энергию
, Дж.
Для подсчета энергии, которой будет обладать каждый атом с массой
входящий в ускоренный ион с молекулярной массой
, используют соотношение 
Доза облучения – это количество частиц; бомбардирующих единицу поверхности за данное время. Доза может не быть равной тому количеству ионов, которое осталось в кристалле, вследствие наличия процессов распыления и отражения. Доза облучения определяется плотностью ионного тока j, А/м2 и длительностью облучения t, с:
, [мкКл/ см2].
Величина
не отражает в явном виде числа примесных ионов. Чтобы выразить дозу в количестве частиц, внедренных на единице поверхности, величину
делят на заряд одной частицы:
, ион/см2.
В заключении следует напомнить о коэффициенте активности примеси. Мерой коэффициента активности является отношение числа доноров (или акцепторов) к общему числу находящихся в материале атомов соответствующей примеси. При диффузионном легировании коэффициент активности примеси обычно практически равен единице. Меньшие значения коэффициента активности обычно наблюдаются при концентрациях, близких к предельной растворимости.
